|
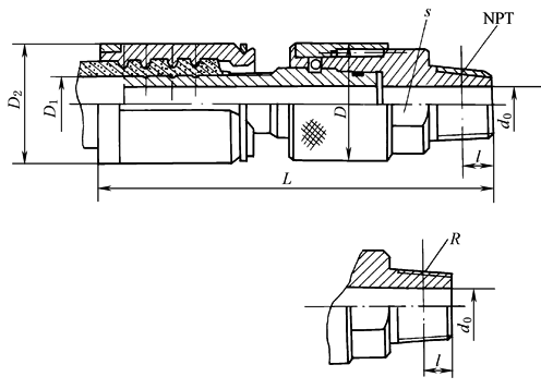
快换接头(两端开放式)(摘自JB/ZQ 4079—1997) |
||||||||||||
|
两端开放式快换接头有A型、B型两种,适用于以油、气为介质的管路系统,介质温度为-20~80℃
标记示例 公称通径DN为15mm的A型快换接头:快换接头 15 JB/ZQ 4079—1977 表1 mm |
||||||||||||
|
公称通径 DN |
公称流量 /L·min-1 |
软管内径 D1 |
工作压力/MPa |
D2 |
D |
d0 |
d (6g) |
s |
l |
L |
质量 /kg |
|
|
软管层数 |
||||||||||||
|
Ⅰ |
Ⅱ、Ⅲ |
|||||||||||
|
6 |
6.3 |
8 |
17.5 |
32 |
32 |
29 |
5 |
M10×1 |
21 |
8 |
114 |
0.36 |
|
8 |
25 |
10 |
16 |
28 |
35 |
34 |
7 |
M14×1.5 |
27 |
12 |
120 |
0.45 |
|
10 |
40 |
12.5 |
14 |
25 |
40 |
39 |
10 |
M18×1.5 |
30 |
12 |
132 |
0.67 |
|
15 |
63 |
16 |
10.5 |
20 |
45 |
43 |
13 |
M22×1.5 |
34 |
14 |
140 |
0.85 |
|
20 |
100 |
22 |
8 |
16 |
51 |
55 |
17 |
M27×2 |
46 |
16 |
155 |
1.21 |
|
25 |
160 |
25 |
7 |
14 |
58 |
59 |
21 |
M33×2 |
50 |
16 |
160 |
1.75 |
|
32 |
250 |
31.5 |
4.4 |
11 |
66 |
70 |
28 |
M42×2 |
60 |
18 |
180 |
2.65 |
|
40 |
400 |
38 |
3.5 |
9 |
72 |
73 |
33 |
M48×2 |
70 |
20 |
205 |
3.50 |
|
50 |
630 |
51 |
2.6 |
8 |
86 |
90 |
42 |
M60×2 |
80 |
24 |
230 |
5.12 |
|
B型快换接头
标记示例 公称通径DN为15mm的B型55°锥管螺纹快换接头:快换接头 B15(R) JB/ZQ 4079—1997 表2 mm |
||||||||||||||
|
公称通径 DN |
公称流量 /L·min-1 |
软管内径 D1 |
NPT |
R |
工作压力 /MPa |
D2 |
D |
d0 |
l |
L |
s |
质量 /kg |
||
|
NPT |
R |
NPT |
R |
|||||||||||
|
6 |
6.3 |
8 |
1/8 |
16 |
32 |
29 |
5 |
4.102 |
4 |
115 |
120 |
21 |
0.36 |
|
|
8 |
25 |
10 |
¼ |
16 |
35 |
34 |
7 |
5.786 |
6 |
122 |
126 |
27 |
0.45 |
|
|
10 |
40 |
12.5 |
3/8 |
16 |
40 |
39 |
10 |
6.096 |
6.4 |
134 |
142 |
30 |
0.69 |
|
|
15 |
63 |
16 |
½ |
16 |
45 |
43 |
13 |
8.128 |
8.2 |
145 |
148 |
34 |
0.85 |
|
|
20 |
100 |
22 |
¾ |
16 |
51 |
55 |
17 |
8.611 |
9.5 |
158 |
165 |
46 |
1.21 |
|
|
25 |
160 |
25 |
1 |
14 |
58 |
59 |
21 |
10.160 |
10.4 |
170 |
175 |
50 |
1.75 |
|
|
32 |
250 |
31.5 |
1¼ |
11 |
66 |
70 |
28 |
10.668 |
12.7 |
186 |
194 |
60 |
2.65 |
|
|
40 |
400 |
38 |
1½ |
9 |
72 |
78 |
33 |
10.668 |
12.7 |
210 |
216 |
70 |
3.50 |
|
|
50 |
630 |
51 |
2 |
8 |
86 |
90 |
42 |
11.074 |
15.9 |
232 |
240 |
80 |
5.12 |
|
|
注:软管按GB/T 3683《钢丝编织液压软管》的规定。 生产厂:焦作市路通液压附件有限公司。 |
||||||||||||||


