|
锥密封焊接式管接头 |
|
|
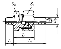
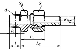
锥密封焊接式管接头由接头体1、O形密封圈2、螺母3和接管4组成(见右图),旋紧螺母使接管外锥表面和其上的O形密封圈与接头体内的内锥表面紧密相配。由于圆锥结合使接管与接头体自动对准中心,可以补偿焊接或弯管的误差,使密封更可靠、抗振能力更强,但接管与接头体相互有小的轴向位移,使装卸接头并不方便。锥密封焊接式管接头类型和尺寸见下表 生产厂:焦作市路通液压附件有限公司、宁波液压附件厂 |
锥密封焊接式管接头结构 1—接头体;2—O形密封圈;3—螺母;4—接管 |
|
锥密封焊接式管接头类型和尺寸 mm |
||||||||||||||||||||||||
|
直
通 |
公称压力:≤31.5MPa 标记示例 管子外径D020mm的锥密封两端焊接式直通管接头: 管接头20 JB/T 6383.1—2007 |
D0 |
d1 |
L |
L1 |
L2 |
S1 |
S2 |
质量/kg |
|||||||||||||||
|
8 |
4 |
12 |
27 |
47 |
21 |
18 |
0.09 |
|||||||||||||||||
|
10 |
6 |
14 |
28 |
48 |
24 |
21 |
0.11 |
|||||||||||||||||
|
12 |
7 |
29 |
50 |
24 |
24 |
0.15 |
||||||||||||||||||
|
14 |
8 |
35 |
58 |
27 |
24 |
0.18 |
||||||||||||||||||
|
16 |
10 |
19 |
37 |
60 |
30 |
27 |
0.23 |
|||||||||||||||||
|
20 |
13 |
41 |
66 |
36 |
34 |
0.42 |
||||||||||||||||||
|
25 |
17 |
24 |
46 |
76 |
46 |
41 |
0.89 |
|||||||||||||||||
|
30 |
20 |
50 |
81 |
50 |
46 |
1.09 |
||||||||||||||||||
|
38 |
26 |
26 |
54 |
90 |
60 |
55 |
1.42 |
|||||||||||||||||
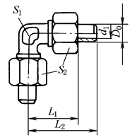
|
直
角 |
公称压力≤31.5MPa 标记示例 管子外径D020mm的锥密封焊接式直角管接头: 管接头20 JB/T 6383.2—2007 |
D0 |
d1 |
L1 |
L2 |
S1 |
S2 |
钢管 D0×S |
质量/kg |
|||||||||||||||
|
8 |
4 |
34 |
54 |
16 |
21 |
8×2 |
0.16 |
|||||||||||||||||
|
10 |
6 |
40 |
60 |
24 |
10×2 |
0.19 |
||||||||||||||||||
|
12 |
7 |
41 |
62 |
18 |
24 |
12×2.5 |
0.22 |
|||||||||||||||||
|
14 |
8 |
45 |
68 |
21 |
27 |
14×3 |
0.24 |
|||||||||||||||||
|
16 |
10 |
47 |
70 |
24 |
30 |
16×3 |
0.34 |
|||||||||||||||||
|
20 |
13 |
55 |
80 |
27 |
36 |
20×3.5 |
0.59 |
|||||||||||||||||
|
25 |
17 |
62 |
92 |
34 |
46 |
25×4 |
1.05 |
|||||||||||||||||
|
30 |
20 |
68 |
99 |
36 |
50 |
30×5 |
1.30 |
|||||||||||||||||
|
38 |
26 |
74 |
110 |
46 |
60 |
38×6 |
1.82 |
|||||||||||||||||
|
三
通 |
公称压力:≤31.5MPa 标记示例 管子外径D020mm的锥密封焊接式三通管接头: 管接头20 JB/T 6383.3—2007 |
D0 |
d1 |
L1 |
L2 |
S1 |
S2 |
钢管 D0×S |
质量/kg |
|||||||||||||||
|
8 |
4 |
34 |
54 |
16 |
21 |
8×2 |
0.23 |
|||||||||||||||||
|
10 |
6 |
40 |
60 |
24 |
10×2 |
0.29 |
||||||||||||||||||
|
12 |
7 |
41 |
62 |
18 |
24 |
12×2.5 |
0.32 |
|||||||||||||||||
|
14 |
8 |
45 |
68 |
21 |
27 |
14×2.5 |
0.36 |
|||||||||||||||||
|
16 |
10 |
47 |
70 |
24 |
30 |
16×3 |
0.49 |
|||||||||||||||||
|
20 |
13 |
55 |
80 |
27 |
36 |
20×3.5 |
0.82 |
|||||||||||||||||
|
25 |
17 |
62 |
92 |
34 |
46 |
25×4 |
1.51 |
|||||||||||||||||
|
30 |
20 |
68 |
99 |
36 |
50 |
30×5 |
1.82 |
|||||||||||||||||
|
38 |
26 |
74 |
110 |
46 |
60 |
38×6 |
2.66 |
|||||||||||||||||
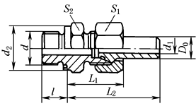
|
隔 壁 直 通 |
公称压力:≤31.5MPa 标记示例 管子外径D020mm的锥密封焊接式隔壁直通管接头: 管接头20 JB/T 6384.2—2007 |
D0 |
d1 |
L |
L1 |
L2 |
S1 |
S2 |
钢管 D0×S |
质量/kg |
||||||||||||||
|
8 |
4 |
117 |
47 |
≈20 |
21 |
24 |
8×2 |
0.27 |
||||||||||||||||
|
10 |
6 |
120 |
48 |
24 |
27 |
10×2 |
0.31 |
|||||||||||||||||
|
12 |
7 |
125 |
50 |
24 |
30 |
12×2.5 |
0.36 |
|||||||||||||||||
|
14 |
8 |
142 |
58 |
≈22 |
27 |
30 |
14×3 |
0.44 |
||||||||||||||||
|
16 |
10 |
145 |
60 |
30 |
36 |
16×3 |
0.62 |
|||||||||||||||||
|
20 |
13 |
157 |
66 |
36 |
41 |
20×3.5 |
0.85 |
|||||||||||||||||
|
25 |
17 |
176 |
76 |
46 |
50 |
25×4 |
1.33 |
|||||||||||||||||
|
30 |
20 |
188 |
81 |
50 |
55 |
30×5 |
1.75 |
|||||||||||||||||
|
38 |
26 |
206 |
90 |
60 |
65 |
38×6 |
2.35 |
|||||||||||||||||
|
隔 壁 直 角 |
公称压力:≤31.5MPa 标记示例 管子外径D020mm的锥密封焊接式隔壁直角管接头: 管接头20 JB/T 6384.1—2007 |
D0 |
d1 |
L1 |
L2 |
L3 |
L4 |
S1 |
S2 |
钢管 D0×S |
质量/kg |
|||||||||||||
|
8 |
4 |
54 |
70 |
17 |
≈20 |
21 |
24 |
8×2 |
0.28 |
|||||||||||||||
|
10 |
6 |
60 |
72 |
19 |
24 |
27 |
10×2 |
0.32 |
||||||||||||||||
|
12 |
7 |
62 |
75 |
19 |
24 |
30 |
12×2.5 |
0.37 |
||||||||||||||||
|
14 |
8 |
68 |
84 |
22 |
≈30 |
27 |
30 |
14×3 |
0.54 |
|||||||||||||||
|
16 |
10 |
70 |
85 |
23 |
30 |
36 |
16×3 |
0.63 |
||||||||||||||||
|
20 |
13 |
80 |
91 |
27 |
36 |
41 |
20×3.5 |
0.90 |
||||||||||||||||
|
25 |
17 |
92 |
100 |
31 |
46 |
50 |
25×4 |
1.38 |
||||||||||||||||
|
30 |
20 |
99 |
107 |
39 |
50 |
55 |
30×5 |
1.86 |
||||||||||||||||
|
38 |
26 |
110 |
116 |
43 |
60 |
65 |
38×6 |
2.67 |
||||||||||||||||
|
压 力 表 管 接 头 |
公称压力:≤31.5MPa 标记示例 管子外径D012mm,压力表螺纹D=20×1.5的锥密封焊接式压力表管接头: 管接头12—M20×1.5 JB/T 6385—2007 |
D0 |
D |
d1 |
l |
L1 |
||||||||||||||||||
|
8 |
M10×1 |
4 |
12 |
40 |
||||||||||||||||||||
|
M14×1.5 |
20 |
|||||||||||||||||||||||
|
12 |
M20×1.5 |
7 |
26 |
42 |
||||||||||||||||||||
|
D0 |
L2 |
S |
钢管D0×S |
质量/kg |
||||||||||||||||||||
|
8 |
62 |
21 |
8×1.5 |
0.10 |
||||||||||||||||||||
|
70 |
0.12 |
|||||||||||||||||||||||
|
80 |
0.14 |
|||||||||||||||||||||||
|
12 |
82 |
24 |
12×2 |
0.18 |
||||||||||||||||||||
|
端 直 通 公 制 螺 纹 管 接 头 |
公称压力:≤31.5MPa 标记示例 管子外径D020mm为锥密封焊接式直通管接头: 管接头20 JB/T 6381.1—2007 |
D0 |
d |
d1 |
d2 |
l |
L1 |
L2 |
S1 |
S2 |
质量/kg |
|||||||||||||||||||||||||||||||||||||
|
8 |
M12×1.5 |
4 |
18 |
12 |
28 |
48 |
21 |
18 |
0.11 |
|||||||||||||||||||||||||||||||||||||||
|
10 |
M14×1.5 |
6 |
21 |
29 |
49 |
24 |
21 |
0.13 |
||||||||||||||||||||||||||||||||||||||||
|
12 |
M16×1.5 |
7 |
24 |
30 |
51 |
24 |
24 |
0.15 |
||||||||||||||||||||||||||||||||||||||||
|
14 |
M18×1.5 |
8 |
27 |
14 |
36 |
59 |
27 |
27 |
0.18 |
|||||||||||||||||||||||||||||||||||||||
|
16 |
M22×1.5 |
10 |
30 |
39 |
62 |
30 |
30 |
0.24 |
||||||||||||||||||||||||||||||||||||||||
|
20 |
M27×2 |
13 |
36 |
16 |
43 |
68 |
36 |
36 |
0.47 |
|||||||||||||||||||||||||||||||||||||||
|
25 |
M33×2 |
17 |
41 |
18 |
48 |
78 |
46 |
46 |
0.95 |
|||||||||||||||||||||||||||||||||||||||
|
30 |
M42×2 |
20 |
55 |
20 |
52 |
83 |
50 |
55 |
1.18 |
|||||||||||||||||||||||||||||||||||||||
|
38 |
M48×2 |
26 |
60 |
22 |
56 |
92 |
60 |
60 |
1.26 |
|||||||||||||||||||||||||||||||||||||||
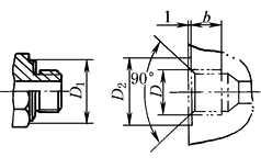
|
端 接 螺 纹
公 制 细 牙
连 接 尺 寸 |
|
D0 |
D |
D1 |
D2 |
b |
D0 |
D |
D1 |
D2 |
b |
|||||||||||||||||||||||||||||||||||||
|
8 |
M12×1.5 |
18 |
19 |
15 |
20 |
M27×2 |
36 |
37 |
19 |
|||||||||||||||||||||||||||||||||||||||
|
10 |
M14×1.5 |
21 |
22 |
25 |
M33×2 |
46 |
47 |
21 |
||||||||||||||||||||||||||||||||||||||||
|
12 |
M16×1.5 |
24 |
25 |
30 |
M42×2 |
55 |
56 |
23 |
||||||||||||||||||||||||||||||||||||||||
|
14 |
M18×1.5 |
27 |
28 |
17 |
38 |
M48×2 |
60 |
61 |
25 |
|||||||||||||||||||||||||||||||||||||||
|
16 |
M22×1.5 |
30 |
31 |
|
|
|
|
|
||||||||||||||||||||||||||||||||||||||||
|
端 接 螺 纹
圆 柱 管 螺 纹
连 接 尺 寸 |
|
D0 |
D |
D1 |
D2 |
b |
D0 |
D |
D1 |
D2 |
b |
|||||||||||||||||||||||||||||||||||||
|
10 |
G¼ |
24 |
25 |
15 |
20 |
G¾ |
41 |
42 |
19 |
|||||||||||||||||||||||||||||||||||||||
|
12 |
G3/8 |
27 |
28 |
15 |
25 |
G1 |
46 |
47 |
21 |
|||||||||||||||||||||||||||||||||||||||
|
14 |
G3/8 |
27 |
28 |
17 |
30 |
G1¼ |
55 |
56 |
23 |
|||||||||||||||||||||||||||||||||||||||
|
16 |
G½ |
34 |
35 |
17 |
38 |
G1½ |
60 |
61 |
25 |
|||||||||||||||||||||||||||||||||||||||
|
端 直 通 圆 柱 管 螺 纹 管 接 头 |
公称压力:≤31.5MPa 标记示例 管子外径D020mm的锥密封焊接式直通圆柱管螺纹管接头: 管接头20 JB/T 6381.2—2007 |
D0 |
d |
d1 |
d2 |
l |
L1 |
L2 |
S1 |
S2 |
质量/kg |
|||||||||||||||||||||||||||||||||||||
|
10 |
G¼ |
6 |
24 |
12 |
29 |
49 |
24 |
21 |
0.13 |
|||||||||||||||||||||||||||||||||||||||
|
12 |
G3/8 |
7 |
27 |
12 |
30 |
51 |
24 |
24 |
0.16 |
|||||||||||||||||||||||||||||||||||||||
|
14 |
G3/8 |
8 |
27 |
14 |
36 |
59 |
27 |
27 |
0.18 |
|||||||||||||||||||||||||||||||||||||||
|
16 |
G½ |
10 |
34 |
14 |
39 |
62 |
30 |
30 |
0.24 |
|||||||||||||||||||||||||||||||||||||||
|
20 |
G¾ |
13 |
41 |
16 |
43 |
68 |
36 |
36 |
0.47 |
|||||||||||||||||||||||||||||||||||||||
|
25 |
G1 |
17 |
46 |
18 |
48 |
78 |
46 |
46 |
0.95 |
|||||||||||||||||||||||||||||||||||||||
|
30 |
G1¼ |
20 |
55 |
20 |
52 |
83 |
50 |
55 |
1.18 |
|||||||||||||||||||||||||||||||||||||||
|
38 |
G1½ |
26 |
60 |
22 |
56 |
92 |
60 |
60 |
1.26 |
|||||||||||||||||||||||||||||||||||||||
|
端 直 通 圆 锥 管 螺 纹 管 接 头 |
公称压力:≤16MPa 标记示例 管子外径D020mm为锥密封焊接式直通圆锥管螺纹管接头: 管接头20 JB/T 6381.3—2007 |
D0 |
d |
d1 |
l |
l0 |
L1 |
L2 |
S1 |
S2 |
质量/kg |
|||||||||||||||||||||||||||||||||||||
|
8 |
R1/8 |
4 |
14 |
4 |
27 |
47 |
21 |
18 |
0.10 |
|||||||||||||||||||||||||||||||||||||||
|
10 |
R¼ |
6 |
18 |
6.0 |
28 |
48 |
24 |
21 |
0.11 |
|||||||||||||||||||||||||||||||||||||||
|
12 |
R3/8 |
7 |
22 |
6.4 |
29 |
50 |
24 |
24 |
0.15 |
|||||||||||||||||||||||||||||||||||||||
|
14 |
R3/8 |
8 |
22 |
6.4 |
35 |
58 |
27 |
27 |
0.18 |
|||||||||||||||||||||||||||||||||||||||
|
16 |
R½ |
10 |
25 |
8.2 |
37 |
60 |
30 |
30 |
0.22 |
|||||||||||||||||||||||||||||||||||||||
|
20 |
R¾ |
13 |
28 |
9.5 |
41 |
66 |
36 |
36 |
0.45 |
|||||||||||||||||||||||||||||||||||||||
|
25 |
R1 |
17 |
32 |
10.4 |
46 |
76 |
46 |
46 |
0.91 |
|||||||||||||||||||||||||||||||||||||||
|
30 |
R1¼ |
20 |
35 |
12.7 |
50 |
81 |
50 |
55 |
1.15 |
|||||||||||||||||||||||||||||||||||||||
|
38 |
R1½ |
26 |
38 |
12.7 |
54 |
90 |
60 |
60 |
1.51 |
|||||||||||||||||||||||||||||||||||||||
|
端 直 通 锥 螺 纹 管 接 头 |
外形图同上 公称压力:≤16MPa 标记示例 管子外径D020mm为锥密封焊接式直通锥螺纹管接头: 管接头20 台阶JB/T 6381.4—2007 |
D0 |
d |
l |
l0 |
D0 |
d |
l |
l0 |
|||||||||||||||||||||||||||||||||||||||
|
8 |
NPT1/8 |
9 |
4.102 |
20 |
NPT¾ |
19 |
8.61 |
|||||||||||||||||||||||||||||||||||||||||
|
10 |
NPT¼ |
14 |
5.786 |
25 |
NPT1 |
24 |
10.16 |
|||||||||||||||||||||||||||||||||||||||||
|
12 |
NPT3/8 |
14 |
6.09 |
30 |
NPT1¼ |
24 |
10.66 |
|||||||||||||||||||||||||||||||||||||||||
|
14 |
NPT3/8 |
14 |
6.09 |
38 |
NPT1½ |
26 |
10.66 |
|||||||||||||||||||||||||||||||||||||||||
|
16 |
NPT½ |
19 |
8.12 |
其他尺寸同圆锥管螺纹管接头 |
||||||||||||||||||||||||||||||||||||||||||||
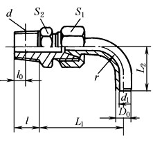
|
公 制 螺 纹
及 圆 柱 管 螺 纹
90° 弯 管 接 头 |
公称压力:≤25MPa 公制螺纹 JB/T 6382.1
公称压力:≤25MPa 圆柱管螺纹 JB/T 6382.2 |
JB/T 6382.1及6382.2 |
JB/T 6382.1 |
JB/T 6382.2 |
||||||||||||||||||||||||||||||||||||||||||||
|
D0 |
d1 |
l |
L1 |
L2 |
S1 |
r |
d |
d2 |
S2 |
质量 /kg |
d |
d2 |
S2 |
质量 /kg |
||||||||||||||||||||||||||||||||||
|
8 |
4 |
12 |
68 |
56 |
21 |
20 |
M12×1.5 |
18 |
18 |
0.12 |
— |
— |
— |
— |
||||||||||||||||||||||||||||||||||
|
10 |
6 |
12 |
72 |
56 |
24 |
20 |
M14×1.5 |
21 |
21 |
0.13 |
G¼ |
24 |
24 |
0.13 |
||||||||||||||||||||||||||||||||||
|
12 |
7 |
12 |
81 |
58 |
24 |
24 |
M16×1.5 |
24 |
24 |
0.16 |
G3/8 |
27 |
27 |
0.16 |
||||||||||||||||||||||||||||||||||
|
14 |
8 |
14 |
83 |
58 |
27 |
28 |
M18×1.5 |
27 |
27 |
0.20 |
G3/8 |
27 |
27 |
0.20 |
||||||||||||||||||||||||||||||||||
|
16 |
10 |
14 |
90 |
60 |
30 |
32 |
M22×1.5 |
30 |
30 |
0.26 |
G½ |
34 |
34 |
0.26 |
||||||||||||||||||||||||||||||||||
|
20 |
13 |
16 |
112 |
70 |
36 |
45 |
M27×2 |
36 |
36 |
0.60 |
G¾ |
41 |
41 |
0.60 |
||||||||||||||||||||||||||||||||||
|
25 |
17 |
18 |
118 |
110 |
46 |
58 |
M38×2 |
41 |
46 |
0.84 |
G1 |
46 |
46 |
0.84 |
||||||||||||||||||||||||||||||||||
|
30 |
20 |
20 |
152 |
130 |
50 |
72 |
M42×2 |
55 |
55 |
1.32 |
G1¼ |
55 |
55 |
1.32 |
||||||||||||||||||||||||||||||||||
|
38 |
26 |
22 |
182 |
140 |
60 |
90 |
M48×2 |
60 |
60 |
1.85 |
G1½ |
60 |
60 |
1.85 |
||||||||||||||||||||||||||||||||||
|
标记示例 管子外径D020mm的锥密封焊接式90°弯管接头: 管接头20 JB/T 6382.1 公称压力小于等于25MPa,JB/T 6382.2中无管子外径D0=8-栏尺寸 |
||||||||||||||||||||||||||||||||||||||||||||||||
|
圆 锥 管 螺 纹
圆 锥 螺 纹
90° 弯 管 接 头 |
公称压力:≤16MPa 圆锥管螺纹 JB/T 6382.3 圆锥螺纹 JB/T 6382.4 标记示例: 管子外径D020mm为锥密封焊接式圆锥管螺纹90°弯管接头: 管接头20 JB/T 6382.3 |
JB/T 6382.3及6382.4 |
JB/T 6382.3 |
JB/T 6382.4 |
||||||||||||||||||||||||||||||||||||||||||||
|
D0 |
d1 |
L1 |
L2 |
S1 |
S2 |
r |
d |
l |
l0 |
质量 /kg |
d |
l |
l0 |
质量 /kg |
||||||||||||||||||||||||||||||||||
|
8 |
4 |
67 |
56 |
21 |
18 |
20 |
R1/8 |
14 |
4 |
0.12 |
NPT1/8 |
9 |
4.102 |
0.12 |
||||||||||||||||||||||||||||||||||
|
10 |
6 |
71 |
56 |
24 |
21 |
20 |
R¼ |
18 |
6.0 |
0.13 |
NPT¼ |
14 |
5.786 |
0.13 |
||||||||||||||||||||||||||||||||||
|
12 |
7 |
80 |
58 |
24 |
24 |
24 |
R3/8 |
22 |
6.4 |
0.16 |
NPT3/8 |
14 |
6.09 |
0.16 |
||||||||||||||||||||||||||||||||||
|
14 |
8 |
82 |
58 |
27 |
24 |
28 |
R3/8 |
22 |
6.4 |
0.19 |
NPT3/8 |
14 |
6.09 |
0.19 |
||||||||||||||||||||||||||||||||||
|
16 |
10 |
89 |
60 |
30 |
27 |
32 |
R½ |
25 |
8.2 |
0.24 |
NPT½ |
19 |
8.12 |
0.25 |
||||||||||||||||||||||||||||||||||
|
20 |
13 |
110 |
70 |
36 |
34 |
45 |
R¾ |
28 |
9.5 |
0.58 |
NPT¾ |
19 |
8.61 |
0.58 |
||||||||||||||||||||||||||||||||||
|
25 |
17 |
116 |
110 |
46 |
41 |
58 |
R1 |
32 |
10.4 |
1.09 |
NPT1 |
24 |
10.16 |
1.09 |
||||||||||||||||||||||||||||||||||
|
30 |
20 |
150 |
130 |
50 |
46 |
72 |
R1¼ |
35 |
12.7 |
1.32 |
NPT1¼ |
24 |
10.66 |
1.32 |
||||||||||||||||||||||||||||||||||
|
38 |
26 |
180 |
140 |
60 |
55 |
90 |
R1½ |
38 |
12.7 |
1.78 |
NPT1½ |
26 |
10.66 |
1.78 |
||||||||||||||||||||||||||||||||||
|
密 封 圈 |
管子外径D0 |
8 |
10 |
12 |
14 |
16 |
20 |
25 |
30 |
38 |
||||||||||||||||||||||
|
O形密封圈 |
端面 |
— |
16×2.65 |
18×2.65 |
18×2.65 |
23.6×2.65 |
30×2.65 |
34.5×2.65 |
43.7×2.65 |
50×2.65 |
||||||||||||||||||||||
|
锥面 |
7.5×1.8 |
9×1.8 |
11.2×1.8 |
11.8×2.65 |
14×2.65 |
18×2.65 |
23.6×2.65 |
28×2.65 |
36.5×2.65 |
|||||||||||||||||||||||
|
垫 圈 |
12 |
14 |
16 |
18 |
22 |
27 |
33 |
42 |
48 |
|||||||||||||||||||||||
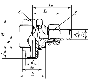
|
锥 密 封 焊 接 式 铰 接 管 接 头 |
公称压力:≤31.5MPa JB/ZQ 4188—1977 |
D0 |
d |
l |
d1 |
d2 |
h |
H |
L1 |
L2 |
S1 |
S2 |
E |
质量 /kg |
||||||||||||||||||
|
公制细牙螺纹 |
管螺纹 |
|||||||||||||||||||||||||||||||
|
8 |
M12×1.5 |
— |
12 |
4 |
18 |
12 |
30 |
31 |
47 |
18 |
21 |
22×22 |
0.15 |
|||||||||||||||||||
|
10 |
M14×1.5 |
G¼A |
12 |
6 |
24 |
13 |
31 |
34 |
50 |
18 |
24 |
25×25 |
0.18 |
|||||||||||||||||||
|
12 |
M16×1.5 |
G3/8A |
12 |
7 |
27 |
15 |
37 |
38 |
53 |
24 |
24 |
30×30 |
0.26 |
|||||||||||||||||||
|
14 |
M18×1.5 |
G3/8A |
14 |
8 |
27 |
15 |
37 |
38 |
53 |
24 |
27 |
30×30 |
0.27 |
|||||||||||||||||||
|
16 |
M22×1.5 |
G½A |
14 |
10 |
34 |
22 |
48 |
45 |
66 |
30 |
30 |
40×40 |
0.57 |
|||||||||||||||||||
|
20 |
M27×2 |
G¾A |
16 |
13 |
41 |
25 |
53 |
52 |
76 |
36 |
36 |
45×45 |
0.82 |
|||||||||||||||||||
|
25 |
M33×2 |
G1A |
18 |
17 |
46 |
30 |
59 |
56 |
84 |
41 |
46 |
50×50 |
1.18 |
|||||||||||||||||||
|
30 |
M42×2 |
G1¼A |
20 |
20 |
55 |
36 |
71 |
65 |
94 |
50 |
50 |
60×60 |
1.94 |
|||||||||||||||||||
|
38 |
M48×2 |
G1½A |
22 |
26 |
66 |
40 |
87 |
75 |
107 |
60 |
60 |
75×75 |
3.45 |
|||||||||||||||||||
|
标记示例 管子外径16mm,连接螺纹d=M22×1.5的锥密封焊接式铰接管接头: 管接头16-M22×1.5 JB/ZQ 4188—1997 |
||||||||||||||||||||||||||||||||
|
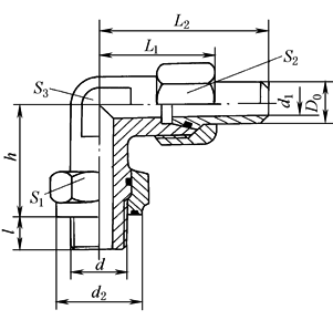
锥 密 封 焊 接 式 可 调 向 管 接 头 |
公称压力:≤31.5MPa JB/ZQ 4189—1997 |
D0 |
d |
l |
d1 |
d2 |
h |
L1 |
L2 |
S1 |
S2 |
S3 |
质量 /kg |
|||||||||||||||||||
|
公制细牙螺纹 |
管螺纹 |
|||||||||||||||||||||||||||||||
|
8 |
M12×1.5 |
— |
12 |
4 |
18 |
36 |
38 |
55 |
18 |
21 |
18 |
0.15 |
||||||||||||||||||||
|
10 |
M14×1.5 |
G¼A |
12 |
6 |
24 |
36 |
38 |
55 |
24 |
24 |
18 |
0.20 |
||||||||||||||||||||
|
12 |
M16×1.5 |
G3/8A |
12 |
7 |
27 |
37 |
39 |
56 |
27 |
24 |
18 |
0.32 |
||||||||||||||||||||
|
14 |
M18×1.5 |
G3/8A |
14 |
8 |
27 |
37 |
39 |
56 |
27 |
27 |
18 |
0.35 |
||||||||||||||||||||
|
16 |
M22×1.5 |
G½A |
14 |
10 |
34 |
43 |
43 |
64 |
34 |
30 |
24 |
0.40 |
||||||||||||||||||||
|
20 |
M27×2 |
G¾A |
16 |
13 |
41 |
51 |
52 |
75 |
41 |
36 |
27 |
0.90 |
||||||||||||||||||||
|
25 |
M33×2 |
G1A |
18 |
17 |
46 |
64 |
61 |
88 |
50 |
46 |
36 |
1.10 |
||||||||||||||||||||
|
30 |
M42×2 |
G1¼A |
20 |
20 |
55 |
68 |
64 |
92 |
60 |
50 |
41 |
1.70 |
||||||||||||||||||||
|
38 |
M48×2 |
G1½A |
22 |
26 |
66 |
75 |
77 |
109 |
65 |
60 |
50 |
1.95 |
||||||||||||||||||||
|
标记示例 管子外径20mm,连接螺纹M27×2的锥密封焊接式可调向管接头: 管接头20—M27×2 JB/ZQ 4189—1997 |
||||||||||||||||||||||||||||||||

















