|
金属管接头 O形圈平面密封接头(摘自JB/T 966—2005) |
|||||
|
本节重点介绍用于流体传动和一般用途的金属管接头、O形圈平面密封接头(摘自JB/T 966—2005)的有关内容;并同时给出JB/T 978—1977、JB/T 982—1977等焊接管接头和垫圈的资料,详见表13~表17 JB/T 966—2005标准规定了管子外径为6~50mm钢制O形圈平面密封接头的结构型式及基本尺寸、性能和试验要求、标志等 JB/T 966—2005标准适用于以液压油(液)为工作介质,工作温度范围为-20~100℃,压力在6.5kPa的绝对真空压力至表16所示的工作压力下的用O形圈平面密封接头的连接 (1)接头标记型式
|
|||||
|
表1 接头名称及代号 |
|||||
|
接头名称 |
接头代号 |
图示 |
接头名称 |
接头代号 |
图示 |
|
焊接接管 |
HJG |
图3 |
垫圈 |
DQG |
图16 |
|
连接螺母 |
JLM |
图4 |
柱端直通接头 |
ZZJ |
图17 |
|
直通接头 |
ZTJ |
图5 |
45°可调柱端接头 |
4TJ |
图18 |
|
直角接头 |
ZJJ |
图6 |
直角可调柱端接头 |
JTJ |
图19 |
|
三通接头 |
SAJ |
图7 |
三通分支可调柱端接头 |
SFT |
图20 |
|
四通接头 |
SIJ |
图8 |
三通主支可调柱端接头 |
SZT |
图21 |
|
直通隔板接头 |
ZGJ |
图9 |
直通活动接头 |
JHJ |
图26 |
|
直角隔板接头 |
JGJ |
图10 |
三通分支活动接头 |
SFH |
图27 |
|
45°隔板接头 |
4GJ |
图11 |
三通主支活动接头 |
SZH |
图28 |
|
三通分支隔板接头 |
SFG |
图12 |
直通焊接接头 |
ZWJ |
图30 |
|
三通主支隔板接头 |
SZG |
图13 |
直角焊接接头 |
JWJ |
图31 |
|
扁螺母 |
BLM |
图15 |
|
|
|
|
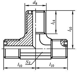
接头标记示例 示例1 管子外径为30mm的直角接头,标记方法:JB/T 966-ZJJ-30 示例2 管子外径为8mm、柱端螺纹为M14×1.5的直角可调柱端接头,标记方法:JB/T 966-JTJ-08-M14 (2) 接头型式与连接尺寸 典型连接方式及结构应符合图1的规定,O形圈平面密封连接端结构及尺寸应符合图2和表2的规定。退刀槽结构一般用于直通接头体,螺纹收尾结构一般用于直角、三通、四通等接头体。焊接接管结构及尺寸应符合图3和表3的规定。连接螺母结构及尺寸应符合图4和表4的规定。O形圈平面密封接头结构应符合图5~图8的规定,尺寸应符合表5的规定。 |
|
|
图1 典型连接方式及结构 1—接头;2—O形圈;3—连接螺母;4—焊接接管;5—无缝钢管 |
图2 O形圈平面密封连接端结构 |
|
表2 O形圈平面密封连接端尺寸 mm |
|||||||||||
|
管子外径 |
O形圈平面密封端尺寸 |
O形圈尺寸 |
|||||||||
|
D |
b +0.06 -0.06 |
d1 |
d2 |
l1 |
l2 +0.03 -0.03 |
l34 min |
c |
d0 |
d |
||
|
尺寸 |
公差 |
||||||||||
|
6① |
M12×1.5 |
2.4 |
3 |
8.7 |
±0.08 |
1.35 |
11 |
10 |
1 |
5.3 |
1.8 |
|
6 |
M14×1.5 |
2.4 |
5 |
10.9 |
1.35 |
11 |
10 |
1 |
7.5 |
1.8 |
|
|
8 |
M16×1.5 |
2.4 |
6 |
11.9 |
1.35 |
11 |
10 |
1 |
8.5 |
1.8 |
|
|
10 |
M18×1.5 |
2.4 |
7 |
13.1 |
1.3 |
11 |
10 |
1.5 |
9.75 |
1.8 |
|
|
12 |
M22×1.5 |
2.4 |
10.5 |
16.6 |
1.35 |
12 |
12 |
1.5 |
13.2 |
1.8 |
|
|
16 |
M27×1.5 |
2.4 |
13 |
20.4 |
1.35 |
13 |
12 |
1.5 |
17 |
1.8 |
|
|
20 |
M30×1.5 |
2.4 |
15.5 |
22.4 |
±0.10 |
1.35 |
14 |
13 |
1.5 |
19 |
1.8 |
|
25 |
M36×2 |
2.4 |
20 |
27 |
1.35 |
16 |
15 |
2 |
23.6 |
1.8 |
|
|
28 |
M39×2 |
2.4 |
22.5 |
29.9 |
1.35 |
18 |
17 |
2 |
26.5 |
1.8 |
|
|
30 |
M42×2 |
2.4 |
25 |
32.4 |
±0.13 |
1.35 |
20 |
19 |
2 |
29 |
1.8 |
|
35 |
M45×2 |
2.4 |
27 |
34.9 |
1.35 |
20 |
19 |
2 |
31.5 |
1.8 |
|
|
38 |
M52×2 |
2.4 |
32 |
40.9 |
1.35 |
22 |
21 |
2 |
37.5 |
1.8 |
|
|
42 |
M60×2 |
3.6 |
36 |
47.6 |
2.02 |
24 |
23 |
2 |
42.5 |
2.65 |
|
|
50 |
M64×2 |
3.6 |
40 |
51.3 |
2.02 |
27 |
26 |
2 |
46.2 |
2.65 |
|
|
① 接头标记时用“6A”表示管子外径。 注:O形圈尺寸及公差应符合GB/T 3452.1—2005。 |
|||||||||||
|
图3 焊接接管HJG |
图4 连接螺母JLM |
|
表3 焊接接管尺寸 mm |
||||||||||
|
管子外径 |
d3 0 -0.1 |
d4 0 -0.15 |
d5 |
d6 0 -0.1 |
d7 |
l3 |
l4 |
l5 |
r1 |
r2 |
|
6① |
7 |
10 |
2 |
6 |
4 |
3.5 |
20 |
6 |
0.15 |
0.5 |
|
6 |
9 |
12 |
2 |
6 |
4 |
4 |
22 |
6.5 |
0.15 |
0.5 |
|
8 |
11 |
14 |
3 |
8 |
5 |
4.5 |
24 |
7.5 |
0.15 |
0.5 |
|
10 |
13 |
16 |
4 |
10 |
6 |
5 |
26 |
9 |
0.15 |
0.5 |
|
12 |
17 |
20 |
5 |
12 |
7 |
5 |
28 |
9 |
0.15 |
1 |
|
16 |
22 |
25 |
10 |
16 |
12 |
6 |
32 |
11 |
0.15 |
1 |
|
20 |
23 |
27.5 |
13 |
20 |
15 |
6 |
32 |
11 |
0.15 |
1 |
|
25 |
28 |
33 |
16 |
25 |
18 |
6 |
35 |
11 |
0.25 |
1.5 |
|
28 |
32 |
36.5 |
18 |
28 |
20 |
7 |
38 |
13 |
0.25 |
1.5 |
|
30 |
34 |
39 |
22 |
30 |
24 |
7 |
38 |
13 |
0.25 |
1.5 |
|
35 |
38 |
42.5 |
27 |
35 |
29 |
7 |
40 |
13 |
0.25 |
1.5 |
|
38 |
44.5 |
49 |
28 |
38 |
30 |
7 |
40 |
13 |
0.25 |
1.5 |
|
42 |
50 |
57.5 |
32 |
42 |
35 |
7 |
44 |
14 |
0.25 |
1.5 |
|
50 |
57.5 |
61.5 |
38 |
50 |
41 |
7 |
46 |
14 |
0.25 |
2 |
|
① 接头标记时用“6A”表示管子外径。 |
||||||||||
|
表4 连接螺母尺寸 mm |
||||||||
|
管子外径 |
D |
d 20 +0.10 |
l6 min |
l7 |
l8 |
S |
C2 |
C3 |
|
6① |
M12×1.5 |
7.2 |
9.5 |
2.5 |
14.5 |
14 |
0.2 |
0.15 |
|
6 |
M14×1.5 |
9.2 |
9.5 |
2.5 |
15 |
17 |
0.2 |
0.15 |
|
8 |
M16×1.5 |
11.2 |
9.5 |
3 |
16 |
19 |
0.2 |
0.15 |
|
10 |
M18×1.5 |
13.2 |
9.5 |
4 |
17.5 |
22 |
0.2 |
0.15 |
|
12 |
M22×1.5 |
17.2 |
11 |
4 |
19 |
27 |
0.2 |
0.15 |
|
16 |
M27×1.5 |
22.2 |
12 |
5 |
21 |
32 |
0.2 |
0.15 |
|
20 |
M30×1.5 |
23.2 |
13 |
5 |
22 |
36 |
0.2 |
0.15 |
|
25 |
M36×2 |
28.3 |
15 |
5 |
24 |
41 |
0.3 |
0.25 |
|
28 |
M39×2 |
32.3 |
15 |
6 |
26 |
46 |
0.3 |
0.25 |
|
30 |
M42×2 |
34.3 |
17 |
6 |
28 |
50 |
0.3 |
0.25 |
|
35 |
M45×2 |
38.3 |
17 |
6 |
28 |
55 |
0.3 |
0.25 |
|
38 |
M52×2 |
44.8 |
19 |
6 |
30 |
60 |
0.3 |
0.25 |
|
42 |
M60×2 |
53.3 |
22 |
7 |
34 |
70 |
0.5 |
0.25 |
|
50 |
M64×2 |
57.8 |
25 |
7 |
37 |
75 |
0.5 |
0.25 |
|
① 接头标记时用“6A”表示管子外径。 |
||||||||
|
|
|
|
|
|
图5 直通接头ZTJ |
图6 直角接头ZJJ |
图7 三通接头SAJ |
图8 四通接头SIJ |
|
表5 O形圈平面密封接头尺寸 mm |
|||||
|
管子外径 |
螺纹 |
l9 |
l10 |
S1 |
S2 |
|
6① |
M12×1.5 |
28 |
21.5 |
14 |
12 |
|
6 |
M14×1.5 |
28 |
22.5 |
17 |
14 |
|
8 |
M16×1.5 |
28 |
24 |
17 |
17 |
|
10 |
M18×1.5 |
28 |
26 |
19 |
19 |
|
12 |
M22×1.5 |
32 |
29 |
24 |
22 |
|
16 |
M27×1.5 |
36 |
32.5 |
30 |
27 |
|
20 |
M30×1.5 |
39 |
35.5 |
32 |
30 |
|
25 |
M36×2 |
43 |
42 |
38 |
36 |
|
28 |
M39×2 |
49 |
47.5 |
41 |
41 |
|
30 |
M42×2 |
53 |
49.5 |
46 |
41 |
|
35 |
M45×2 |
53 |
52.5 |
46 |
46 |
|
38 |
M52×2 |
59 |
57 |
55 |
50 |
|
42 |
M60×2 |
65 |
65 |
65 |
60 |
|
50 |
M64×2 |
71 |
71 |
65 |
65 |
|
① 接头标记时用“6A”表示管子外径。 |
|||||
|
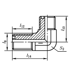
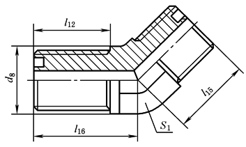
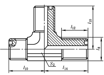
O形圈平面密封隔板接头结构应符合图9~图16的规定,尺寸应符合表6的规定 |
|||||
|
|
|
|
|||
|
图9 直通隔板接头ZGJ |
图10 直角隔板接头JGJ |
图11 45°隔板接头4GJ |
|||
|
|
|
||||
|
图12 三通分支隔板接头SFG |
图13 三通主支隔板接头SZG |
||||
|
图14 隔板接头装配示意图 1—隔板接头体;2—垫圈;3—隔板;4—扁螺母 注:当隔板与接头间无密封要求时,垫圈可省略 |
图15 扁螺母BLM |
图16 垫圈DQG |
|||
|
表6 O形圈平面密封隔板接头尺寸 mm |
|||||||||||||||||
|
管子外径 |
螺纹 |
d8 |
d9 |
d10 |
l10 |
l11 ±0.1 |
l12 |
l13 |
l14 |
l15 |
l16 |
l17 ±0.35 |
S2 |
S1 |
S8 |
||
|
尺寸 |
公差 |
尺寸 |
公差 |
||||||||||||||
|
6① |
M12×1.5 |
17 |
12.2 |
+0.240 |
15.9 |
0 -0.14 |
21.5 |
1.5 |
32.5 |
49.5 |
45.5 |
19 |
43.5 |
6 |
12 |
17 |
17 |
|
6 |
M14×1.5 |
19 |
14.2 |
17.9 |
22.5 |
1.5 |
32.5 |
49.5 |
46.5 |
19.5 |
44 |
6 |
14 |
19 |
19 |
||
|
8 |
M16×1.5 |
22 |
16.2 |
19.9 |
24 |
1.5 |
32.5 |
51.5 |
48 |
20 |
44.5 |
6 |
17 |
22 |
22 |
||
|
10 |
M18×1.5 |
24 |
18.2 |
22.9 |
26 |
2 |
33 |
52 |
50 |
21.5 |
45.5 |
6 |
19 |
24 |
24 |
||
|
12 |
M22×1.5 |
27 |
22.2 |
26.9 |
29 |
2 |
35.5 |
58 |
54 |
24 |
49 |
7 |
22 |
27 |
30 |
||
|
16 |
M27×1.5 |
32 |
27.2 |
31.9 |
0 -0.28 |
32.5 |
2 |
37 |
61 |
58.5 |
25.5 |
51.5 |
8 |
27 |
32 |
36 |
|
|
20 |
M30×1.5 |
36 |
30.2 |
+0.280 |
35.9 |
35.5 |
2 |
38 |
63 |
61.5 |
27 |
53.5 |
8 |
30 |
36 |
41 |
|
|
25 |
M36×2 |
41 |
36.2 |
41.9 |
0 -0.34 |
42 |
2 |
42 |
71 |
71 |
31.5 |
60.5 |
9 |
36 |
41 |
46 |
|
|
28 |
M39×2 |
46 |
39.2 |
45.9 |
47.5 |
2 |
44 |
75 |
76 |
36 |
64 |
9 |
41 |
46 |
50 |
||
|
30 |
M42×2 |
50 |
42.2 |
+0.340 |
48.9 |
49.5 |
2 |
46 |
81 |
78 |
38 |
66 |
9 |
41 |
50 |
50 |
|
|
35 |
M45×2 |
55 |
45.2 |
51.9 |
52.5 |
2 |
46 |
81 |
81 |
39 |
67 |
9 |
46 |
55 |
55 |
||
|
38 |
M52×2 |
60 |
52.2 |
59.9 |
57 |
2 |
49 |
86 |
86 |
42 |
71 |
10 |
50 |
60 |
65 |
||
|
42 |
M60×2 |
70 |
60.2 |
67.9 |
65 |
2 |
51 |
92 |
94 |
47.5 |
75.5 |
10 |
60 |
70 |
70 |
||
|
50 |
M64×2 |
75 |
64.2 |
71.9 |
71 |
2 |
54 |
98 |
99.5 |
51.5 |
79.5 |
10 |
65 |
75 |
75 |
||
|
① 接头标记时用“6A”表示管子外径。 |
|||||||||||||||||
|
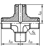
O形圈平面密封柱端接头结构应符合图17~图25的规定,尺寸应符合表7的规定,柱端按ISO 6149-2,可调柱端用螺纹收尾或退刀槽结构 |
||
|
图17 柱端直通接头ZZJ |
图18 45°可调柱端接头4TJ |
图19 直角可调柱端接头JTJ |
|
|
|
|
|
图20 三通分支可调柱端接头SFT |
图21 三通主支可调柱端接头SZT |
图22 可调柱端装配示意 1—可调向接头体;2—扁螺母; 3—垫圈;4—0形圈 |
|
图23 扁螺母1 |
图24 固定柱端 |
图25 可调柱端 |
|
表7 O形圈平面密封柱端接头尺寸 mm |
||||||||||||||||||||||||||
|
管 子 外 径 |
D |
Dl |
d11 0 -0.1 |
d12 |
dl3 |
d19 ±0.2 |
ll8 |
ll9 |
l20 |
l21 |
l22 |
l23 |
l24 |
l25 ±0.2 |
126 ±0.1 |
l27 min |
l28 ±0.1 |
l29 |
l36 0 +0.3 |
l37 ±0.1 |
S4 |
S5 |
S6 |
O形圈 |
||
|
尺 寸 |
公 差 |
内 径 |
外 径 |
|||||||||||||||||||||||
|
6① |
M12×1.5 |
M10×1 |
8.4 |
14.5 |
3 |
+0.14 0 |
13.8 |
9.5 |
28 |
19 |
25.2 |
21.5 |
27.5 |
7 |
6.5 |
4 |
18 |
2.5 |
l |
2 |
1.5 |
14 |
12 |
14 |
8.1 |
1.6 |
|
6 |
M14×1.5 |
M12×1.5 |
9.7 |
17.5 |
4 |
+0.18 0 |
16.8 |
11 |
29.5 |
19.5 |
28.5 |
22.5 |
32 |
8.5 |
7.5 |
4.5 |
21 |
2.5 |
l |
3 |
2 |
17 |
14 |
17 |
9.3 |
2.2 |
|
8 |
M16×1.5 |
M14×1.5 |
11.7 |
19.5 |
6 |
+0.18 0 |
18.8 |
11 |
29.5 |
20 |
31.5 |
24 |
35.5 |
8.5 |
7.5 |
4.5 |
21 |
2.5 |
l |
3 |
2 |
19 |
17 |
19 |
11.3 |
2.2 |
|
10 |
M18×1.5 |
M16×1.5 |
13.7 |
22.5 |
7 |
+0.22 0 |
21.8 |
12.5 |
31.5 |
21.5 |
33.5 |
26 |
38 |
9 |
9 |
4.5 |
23 |
2.5 |
l |
3 |
2 |
22 |
19 |
22 |
13.3 |
2.2 |
|
12 |
M22×1.5 |
M18×1.5 |
15.7 |
24.5 |
9 |
+0.22 0 |
23.8 |
14 |
34.5 |
23 |
38 |
29 |
44 |
10.5 |
10.5 |
4.5 |
26 |
2.5 |
l |
3 |
2.5 |
24 |
22 |
24 |
15.3 |
2.2 |
|
16 |
M27×1.5 |
M22×1.5 |
19.7 |
27.5 |
12 |
+0.27 0 |
26.8 |
15 |
38 |
24.5 |
41 |
32.5 |
48 |
11 |
11 |
5 |
27.5 |
2.5 |
1.2 |
3 |
2.5 |
30 |
27 |
27 |
19.3 |
2.2 |
|
20 |
M30×1.5 |
M27×1.5 |
24 |
32.5 |
15 |
+0.27 0 |
31.8 |
18.5 |
43.5 |
26 |
46 |
35.5 |
55 |
13.5 |
13.5 |
6 |
33.5 |
2.5 |
1.2 |
4 |
2.5 |
32 |
30 |
32 |
23.6 |
2.9 |
|
25 |
M36×2 |
M33×2 |
30 |
41.5 |
20 |
+0.33 0 |
40.8 |
18.5 |
47.5 |
30.5 |
48 |
42 |
59 |
13.5 |
13.5 |
6 |
33.5 |
3 |
1.2 |
4 |
3 |
41 |
36 |
41 |
29.6 |
2.9 |
|
28 |
M39×5 |
M33×2 |
30 |
41.5 |
20 |
+0.33 0 |
40.8 |
18.5 |
49.5 |
36 |
49 |
47.5 |
61.5 |
13.5 |
13.5 |
6 |
33.5 |
3 |
1.2 |
4 |
3 |
41 |
41 |
41 |
29.6 |
2.9 |
|
30 |
M42×2 |
M42×2 |
39 |
50.5 |
26 |
+0.33 0 |
49.8 |
19 |
54 |
38 |
49 |
49.5 |
63 |
14 |
14 |
6 |
34.5 |
3 |
1.2 |
4 |
3 |
50 |
41 |
50 |
38.6 |
2.9 |
|
35 |
M45×2 |
M42×2 |
39 |
50.5 |
26 |
+0.33 0 |
49.8 |
19 |
54 |
39 |
51 |
52.5 |
67 |
14 |
14 |
6 |
34.5 |
3 |
1.2 |
4 |
3 |
50 |
46 |
50 |
38.6 |
2.9 |
|
38 |
M52×2 |
M48×2 |
45 |
55.5 |
32 |
+0.39 0 |
54.8 |
21.5 |
58.5 |
42 |
54 |
56 |
71.5 |
15 |
16.5 |
6 |
38 |
3 |
1.2 |
4 |
3 |
55 |
50 |
55 |
44.6 |
2.9 |
|
42 |
M60×2 |
M60×2 |
57 |
65.5 |
40 |
+0.39 0 |
64.8 |
24 |
65 |
47.5 |
63.5 |
65 |
82 |
17 |
19 |
6 |
42.5 |
3 |
1.2 |
4 |
3 |
65 |
60 |
65 |
56.6 |
2.9 |
|
50 |
M64×2 |
M60×2 |
57 |
65.5 |
40 |
+0.39 0 |
64.8 |
24 |
68 |
51.5 |
65 |
71 |
85 |
17 |
19 |
6 |
42.5 |
3 |
1.2 |
4 |
3 |
65 |
65 |
65 |
56.6 |
2.9 |
|
① O形圈l的尺寸、公差按ISO 6149-2—2006。接头标记时用“6A"表示管子外径。 |
||||||||||||||||||||||||||
|
O形圈平面密封活动接头的结构应符合图26~图29的规定,尺寸应符合表8的规定。活动螺母与接头体的连接方式由制造商确定。 |
|
|
图26 直角活动接头JHJ |
图27 三通分支活动接头SFH |
|
图28 三通主支活动接头SZH |
图29 活动接头端结构 |
|
表8 O形圈平面密封活动接头尺寸 mm |
||||||||
|
管子外径 |
D |
d14(参考) |
d15 |
l10 |
l30 |
l31 |
S2 |
S7 |
|
6① |
M12×1.5 |
10 |
3 |
21.5 |
23 |
8.5 |
12 |
17 |
|
6 |
M14×1.5 |
12 |
4 |
22.5 |
24.5 |
8.5 |
14 |
19 |
|
8 |
M16×1.5 |
14 |
6 |
24 |
27.5 |
8.5 |
17 |
22 |
|
10 |
M18×1.5 |
16 |
7.5 |
26 |
30.5 |
8.5 |
19 |
24 |
|
12 |
M22×1.5 |
20 |
10 |
29 |
34 |
10 |
22 |
27 |
|
16 |
M27×1.5 |
25 |
13 |
32.5 |
38.5 |
10 |
27 |
32 |
|
20 |
M30×1.5 |
27 |
15 |
35.5 |
41.5 |
11 |
30 |
36 |
|
25 |
M36×2 |
33 |
20 |
42 |
47 |
13 |
36 |
41 |
|
28 |
M39×2 |
36 |
22.5 |
47.5 |
53 |
13 |
41 |
46 |
|
30 |
M42×2 |
39 |
25 |
49.5 |
55 |
15 |
41 |
50 |
|
35 |
M45×2 |
42 |
27 |
52.5 |
57.5 |
15 |
46 |
55 |
|
38 |
M52×2 |
49 |
32 |
57 |
62 |
17 |
50 |
60 |
|
42 |
M60×2 |
57 |
36 |
65 |
71.5 |
20 |
60 |
70 |
|
50 |
M64×2 |
61 |
38 |
71 |
78 |
23 |
65 |
75 |
|
① 接头标记时用“6A”表示管子外径。 |
||||||||
|
O形圈平面密封焊接接头的结构应符合图30、图31的规定,尺寸应符合表9的规定。 |
|
|
图30 直通焊接接头ZWJ |
图31 直角焊接接头JWJ |
|
表9 O形圈平面密封焊接接头尺寸 mm |
||||||||||
|
管子外径 |
D |
d18 |
d16 |
d17 |
l10 |
l32 |
l33 |
l35 |
S1 |
S2 |
|
6① |
M12×1.5 |
3 |
3 |
6 |
21.5 |
8 |
25 |
16.5 |
14 |
12 |
|
6 |
M14×1.5 |
4 |
4 |
6 |
22.5 |
8 |
25 |
17.5 |
17 |
14 |
|
8 |
M16×1.5 |
6 |
6 |
8 |
24 |
8 |
25 |
19.5 |
17 |
17 |
|
10 |
M18×1.5 |
7 |
7.5 |
10 |
26 |
12 |
29 |
25 |
19 |
19 |
|
12 |
M22×1.5 |
9 |
10 |
12 |
29 |
12 |
32.5 |
27 |
24 |
22 |
|
16 |
M27×1.5 |
12 |
12 |
16 |
32.5 |
12 |
35 |
29.5 |
30 |
27 |
|
20 |
M30×1.5 |
15 |
15 |
20 |
35.5 |
14 |
39 |
33.5 |
32 |
30 |
|
25 |
M36×2 |
20 |
20 |
25 |
42 |
16 |
43 |
39 |
38 |
36 |
|
28 |
M39×2 |
20 |
22.5 |
28 |
47.5 |
16 |
47 |
43 |
41 |
41 |
|
30 |
M42×2 |
26 |
25 |
30 |
49.5 |
16 |
49 |
43 |
46 |
41 |
|
35 |
M45×2 |
26 |
27 |
35 |
52.5 |
18 |
51 |
47.5 |
46 |
46 |
|
38 |
M52×2 |
32 |
32 |
38 |
57 |
18 |
55 |
50 |
55 |
50 |
|
42 |
M60×2 |
40 |
36 |
42 |
65 |
20 |
61 |
58 |
65 |
60 |
|
50 |
M64×2 |
40 |
38 |
50 |
71 |
20 |
64 |
61 |
65 |
65 |
|
① 接头标记时用“6A”表示管子外径。 |
||||||||||
|
(3) 材料要求 1) 接头体 材料应是碳钢或不锈钢,应能满足规定的最低压力/温度要求,当对接头进行性能实验时,接头体材料性能应适合流体输送并保证有效连接。焊接用接管应用易于焊接的材料 2) 螺母 材料应与接头体相对应,碳钢接头体配用碳钢螺母,不锈钢接头体配用不锈钢螺母,除非另有规定。接头常用的推荐材料见表10。 表10 接头常用的推荐材料 |
||
|
零件名称 |
牌号 |
标准号 |
|
接头体、螺母 |
35、45 |
GB/T 699 |
|
0Cr18Ni9 |
GB/T 1220 |
|
|
焊接接管、垫片 |
20 |
GB/T 699 |
|
垫圈 |
纯铜 |
GB/T 5231 |
|
3) O形圈 当按表11给出的压力和温度要求使用和测试时,O形圈应用硬度为(90±5)IRHD(GB/T 6031)的丁腈橡胶(NBR)制成 (4) 压力/温度要求 按本标准制造的碳钢或不锈钢O形圈平面密封接头,当温度在-20℃~+100℃,压力在6.5kPa的绝对真空压力至表11中所示的工作压力下使用时,应满足无泄露要求 接头应满足本标准第11章中规定的所有性能要求,试验应在室温下进行。如果需要在表11给出的温度和压力以外使用,应与制造商协商 |
||
|
表11 O形圈平面密封接头工作压力 |
|||
|
管子外径/mm |
工作压力/MPa |
||
|
Ⅰ系列 |
Ⅱ系列 |
固定柱端 |
可调柱端 |
|
6 |
— |
63 |
40 |
|
8 |
— |
63 |
40 |
|
10 |
— |
63 |
40 |
|
12 |
— |
63 |
40 |
|
16 |
— |
40 |
40 |
|
20 |
— |
40 |
40 |
|
25 |
— |
40 |
31.5 |
|
— |
28 |
40,25 |
31.5 |
|
30 |
— |
25 |
25 |
|
— |
35 |
25 |
25 |
|
38 |
— |
25 |
20 |
|
— |
42 |
25 |
16 |
|
— |
50 |
16 |
16 |
|
(5) 钢管要求 接头应与相适应的钢管配合使用,碳钢钢管应符合GB/T 3639要求,管子外径的极限尺寸见表12,这些尺寸包括了椭圆度。工作压力低时,用户和制造商可协商使用其他标准的钢管 |
|||
|
表12 钢管外径的极限尺寸 mm |
|||
|
管子外径 |
外径极限尺寸 |
||
|
Ⅰ系列 |
Ⅱ系列 |
min |
max |
|
6 |
— |
5.9 |
6.1 |
|
8 |
— |
7.9 |
8.1 |
|
10 |
— |
9.9 |
10.1 |
|
12 |
— |
11.9 |
12.1 |
|
16 |
— |
15.9 |
16.1 |
|
20 |
— |
19.9 |
20.1 |
|
25 |
— |
24.9 |
25.1 |
|
— |
28 |
27.9 |
28.1 |
|
30 |
— |
29.85 |
30.15 |
|
— |
35 |
34.85 |
35.15 |
|
38 |
— |
37.85 |
38.15 |
|
— |
42 |
41.85 |
42.15 |
|
— |
50 |
49.85 |
50.15 |
|
注:1.应优先选用Ⅰ系列钢管。 2.生产厂为焦作市路通液压附件有限公司。 |
|||
|
焊接式铰接管接头(摘自JB/T 978—1977) |
|
|
|
应用无缝钢管的材料为15、20号钢,精度为普通级。 标记示例: 管子外径D028mm的焊接式铰接管接头: 管接头28 JB/T 978—1977 |
|
表13 mm |
|||||||||||
|
管子外径 D0 |
公称通径 DN |
d |
d1 |
d3 |
l |
L |
L1 |
L2 |
扳手尺寸 S |
垫圈 |
重量 /kg |
|
10 |
6 |
M10×1 |
11 |
22 |
8 |
23 |
8.5 |
15 |
17 |
10 |
0.059 |
|
14 |
8 |
M14×1.5 |
16 |
28 |
10 |
29 |
11 |
20 |
19 |
14 |
0.103 |
|
18 |
10 |
M18×1.5 |
19 |
36 |
12 |
34 |
13 |
25 |
24 |
18 |
0.190 |
|
22 |
15 |
M22×1.5 |
22 |
46 |
14 |
43 |
17 |
30 |
30 |
22 |
0.342 |
|
28 |
20 |
M27×2 |
28 |
56 |
15 |
50 |
20 |
35 |
36 |
27 |
0.660 |
|
34 |
25 |
M33×2 |
34.8 |
64 |
16 |
66 |
27 |
24 |
41 |
33 |
1.320 |
|
42 |
32 |
M42×2 |
42.8 |
78 |
17 |
82 |
34 |
30 |
55 |
42 |
2.140 |
|
50 |
40 |
M48×2 |
50.8 |
90 |
19 |
94 |
38 |
33 |
60 |
48 |
3.330 |
|
表14 直角焊接接管(摘自JB/T 979—1977) mm |
|||||||
|
标记示例 管子外径D为18mm的直角焊接接管: 接管18 JB/T 979—1977 |
管子外径 D0 |
d0 |
d3 |
L |
r |
C |
质量 /kg |
|
6 10 14 |
3 6 10 |
9 12 16 |
9 12 15 |
2 |
2 |
0.008 0.016 0.035 |
|
|
18 22 |
12 15 |
20 24 |
19 21 |
2.5 |
2.5 3 |
0.060 0.090 |
|
|
28 34 |
20 25 |
31 36 |
25 30 |
3 |
4 |
0.150 0.250 |
|
|
42 50 |
32 36 |
44 52 |
35 40 |
4 |
5 |
0.400 0.690 |
|
|
表15 组合密封垫圈(摘自JB/T 982—1977) mm |
||||||||||
|
材料:件1—耐油橡胶 件2—Q235 件1和件2在硫化压胶时胶住 标记示例 公称直径为27mm的组合密封垫圈: 垫圈27 JB/T 982—1977 |
公称 直径 |
d1 |
d2 |
D |
h±0.1 |
孔d2允 许同轴度 |
适用螺 纹尺寸 |
|||
|
尺寸 |
公差 |
尺寸 |
公差 |
尺寸 |
公差 |
|||||
|
8 |
8.4 |
±0.12 |
10 |
|
14 |
|
2.7 |
0.1 |
M8 |
|
|
10 |
10.4 |
12 |
16 |
M10(G1/8) |
||||||
|
12 |
12.4 |
14 |
18 |
M12 |
||||||
|
14 |
14.4 |
16 |
20 |
|
M14(G¼) |
|||||
|
16 |
16.4 |
18 |
22 |
M16 |
||||||
|
18 |
18.4 |
20 |
|
25 |
M18(G3/8) |
|||||
|
20 |
20.5 |
±0.14 |
23 |
28 |
M20 |
|||||
|
22 |
22.5 |
25 |
30 |
M22(G½) |
||||||
|
24 |
24.5 |
27 |
32 |
|
0.15 |
M24 |
||||
|
27 |
27.5 |
30 |
35 |
M27(G¾) |
||||||
|
30 |
30.5 |
33 |
|
38 |
M30 |
|||||
|
33 |
33.5 |
±0.17 |
36 |
42 |
M33(G1) |
|||||
|
36 |
36.5 |
40 |
46 |
2.9 |
M36 |
|||||
|
39 |
39.6 |
43 |
50 |
M39 |
||||||
|
42 |
42.6 |
46 |
53 |
|
M42(G1¼) |
|||||
|
45 |
45.6 |
49 |
56 |
M45 |
||||||
|
48 |
48.7 |
52 |
|
60 |
M48 |
|||||
|
52 |
52.7 |
±0.20 |
56 |
66 |
M52 |
|||||
|
60 |
60.7 |
64 |
75 |
M60(G2) |
||||||
|
表16 密封垫圈(JB/T 1002—2005) mm |
|
|
|
标记示例: 内径d为27.7mm,外径D为31.9mm,厚度H为2mm的密封垫圈: 垫圈27 JB/T 1002—2005 |
|
公称 直径 |
d |
D |
|
允许 同轴度 |
配用螺纹 |
公称 直径 |
d |
D |
|
允许 同轴度 |
配用螺纹 |
||||||
|
尺寸 |
公差 |
尺寸 |
公差 |
螺栓上 |
螺孔内 |
尺寸 |
公差 |
尺寸 |
公差 |
螺栓上 |
螺孔内 |
||||||
|
4 |
4.2 |
±0.24 |
7.9 |
|
1.5 |
1.0 |
|
M10×1 |
24 |
24.2 |
|
28.9 |
|
2 |
0.15 |
|
M33×2 |
|
5 |
5.2 |
8.9 |
|
M12×1.25 |
27 |
27.2 |
31.9 |
|
M27 |
|
|||||||
|
7 |
7.2 |
10.9 |
|
M14×1.5 |
30 |
30.2 |
35.9 |
M30 |
|
||||||||
|
8 |
8.2 |
11.9 |
M8 |
|
32 |
32.2 |
|
37.9 |
|
M42×2 |
|||||||
|
10 |
10.2 |
12.9 |
M10 |
|
33 |
33.2 |
38.9 |
0.20 |
M33 |
|
|||||||
|
12 |
12.2 |
15.9 |
|
M18×1.5 |
36 |
36.2 |
41.9 |
M36 |
M48×2 |
||||||||
|
13 |
13.2 |
16.9 |
|
M20×1.5 |
39 |
39.2 |
45.9 |
M39 |
|
||||||||
|
14 |
14.2 |
17.9 |
M14 |
|
40 |
40.2 |
46.9 |
M40 |
|
||||||||
|
15 |
15.2 |
18.9 |
|
|
M22×1.5 |
42 |
42.2 |
48.9 |
M42 |
|
|||||||
|
16 |
16.2 |
19.9 |
M16 |
|
45 |
45.2 |
51.9 |
|
0.25 |
M45 |
|
||||||
|
18 |
18.2 |
22.9 |
2 |
0.15 |
|
M27×2 |
48 |
48.2 |
54.9 |
M48 |
M60×2 |
||||||
|
20 |
20.2 |
±0.28 |
24.9 |
M20 |
|
52 |
52.2 |
|
59.9 |
M52 |
|
||||||
|
22 |
22.2 |
26.9 |
M22 |
|
60 |
60.2 |
67.9 |
M60 |
|
||||||||
|
注:适用于焊接、卡套、扩口式管接头及螺塞的密封。 |
|||||||||||||||||
|
表17 焊接式管接头零件的材料及热处理(摘自JB/T 1003—1977) |
|||
|
序号 |
零件名称 |
材料牌号 |
材料标准号 |
|
1 |
接头体、螺母、螺塞 |
35、15 |
GB/T 699 |
|
2 |
铰接管接头体,铰接螺栓 |
45 |
GB/T 699 |
|
3 |
接管 |
15、20 |
GB/T 699 |
|
4 |
金属垫圈 |
纯铝、纯铜(退火后32~45HB) |
GB/T 2059 |
|
5 |
组合密封垫圈、垫圈体 |
Q235 |
GB/T 700 |
|
6 |
组合密封垫圈密封体 |
丁腈橡胶 |
HG/T 2810 |
|
注:1.同栏中所列材料允许通用,在采用冷镦、冷挤以及辗制螺纹工艺条件下,序号1、3零件允许用Q235钢代替,但抗拉强度不应低于35钢。 2.铰接螺栓经调质处理硬度为200~230HB。 3.除表中所规定的材料外,可根据使用条件选用其他材料,由供需双方议定,在订货单中注明。 4.零件材料为碳素钢时,其表面处理均为发黑或发蓝。需要其他处理时,由供需双方议定,在订货单中注明。 |
|||



















