|
插装阀的特点和结构 |
|
|
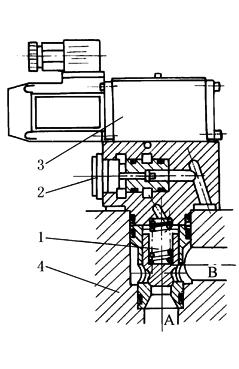
插装阀是一种用小流量控制油来控制大流量工作油液的开关式阀。它是把作为主控元件的锥阀插装于油路块中,故得名插装阀。目前生产的插装阀多为二个通路,故又称为二通插装阀。该阀不仅能实现普通液压阀的各种要求,而且具有流动阻力小、通流能力大、动作速度快、密封性好、制造简单、工作可靠等优点,特别适合高水基介质、大流量、高压的液压系统中。目前国外已生产三通插装阀 插装阀由插装元件、控制盖板、先导控制元件和插装块体组成,图1所示为二通插装阀结构。插装元件又称主阀组件,它由阀芯、阀套、弹簧和密封件组成,阀套内还设置有弹簧挡环等,插装元件结构如图2所示 |
|
|
图1 二通插装阀的典型结构 1—插装元件;2—控制盖板; 3—先导阀;4—插装块体 |
图21-7-60常用插装元件的结构 1—阀芯;2—阀套;3—弹簧 |


