|
DV型节流截止阀、DRV型单向节流截止阀 |
|||||||||||
|
DV/DRV型节流阀是一种简单而又精确地调节执行元件速度的流量控制阀,完全关闭时它又是截止阀。 型号意义:
表1 技术规格 |
|||||||||||
|
通径/mm |
6 |
8 |
10 |
12 |
16 |
20 |
25 |
30 |
40 |
介质 |
矿物液压油,磷酸酯液 |
|
流量/L·min-1 |
14 |
60 |
75 |
140 |
175 |
200 |
300 |
400 |
600 |
介质黏度/m2·s-1 |
(2.8~380)×10-6 |
|
工作压力/MPa |
约35 |
介质温度/℃ |
-20~100 |
||||||||
|
单向阀开启压力/MPa |
0.05 |
安装位置 |
任意 |
||||||||
|
注:生产厂为北京华德液压集团液压阀分公司、上海立新液压公司、海门市液压件厂、上海朝田科技有限公司。 |
|||||||||||
|
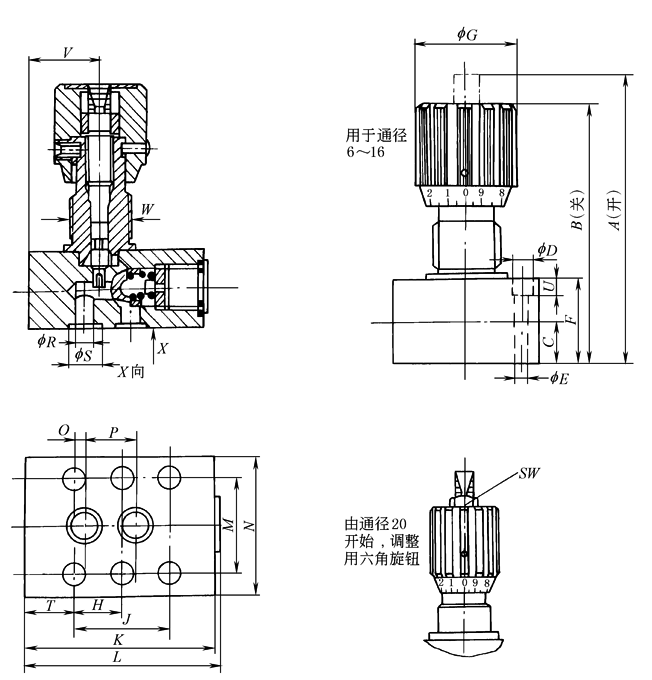
DV/DRV型节流阀外形尺寸
|
||||||||||||||
|
表2 mm |
||||||||||||||
|
通径 |
B |
f D1 |
f D2 |
D3 |
D4 |
H1 |
H2 |
H3 |
L1 |
L2 |
SW |
|||
|
DV |
DRV |
DV |
DRV |
|||||||||||
|
6 |
15 |
16 |
24 |
G1/8 |
M10×1 |
M12×1.25 |
8 |
50 |
55 |
19 |
26 |
38 |
45 |
|
|
8 |
25 |
19 |
29 |
G¼ |
M14×1.5 |
M18×1.5 |
12.5 |
65 |
72 |
24 |
33.5 |
48 |
45 |
|
|
10 |
30 |
19 |
29 |
G3/8 |
M18×1.5 |
M18×1.5 |
15 |
67 |
74 |
29 |
41 |
58 |
65 |
|
|
12 |
35 |
23 |
38 |
G½ |
M22×1.5 |
M22×1.5 |
17.5 |
82 |
92 |
34 |
44 |
68 |
73 |
|
|
16 |
45 |
23 |
38 |
G¾ |
M27×2 |
M22×1.5 |
22.5 |
96 |
106 |
39 |
57 |
78 |
88 |
|
|
20 |
50 |
38 |
49 |
G1 |
M33×2 |
M33×1.5 |
25 |
128 |
145 |
54 |
77 |
108 |
127 |
19 |
|
25 |
60 |
38 |
49 |
G1¼ |
M42×2 |
M33×1.5 |
30 |
133 |
150 |
54 |
93 |
108 |
143 |
19 |
|
30 |
70 |
38 |
49 |
G1½ |
M48×2 |
M33×1.5 |
35 |
138 |
155 |
54 |
108 |
108 |
143 |
19 |
|
40 |
90 |
38 |
49 |
G2 |
|
M33×1.5 |
45 |
148 |
165 |
|
130 |
|
165 |
19 |
|
DRVP型节流阀外形尺寸
|
|||||||||||
|
表3 mm |
|||||||||||
|
型号 |
A |
B |
C |
D |
E |
F |
G |
H |
J |
K |
L |
|
DRVP-6 |
63 |
58 |
8 |
11 |
6.6 |
16 |
24 |
— |
19 |
41.5 |
43 |
|
DRVP-8 |
79 |
72 |
10 |
11 |
6.6 |
20 |
29 |
— |
35 |
63.5 |
65 |
|
DRVP-10 |
84 |
77 |
12.5 |
11 |
6.6 |
25 |
29 |
— |
33.5 |
70 |
72 |
|
DRVP-12 |
106 |
96 |
16 |
11 |
6.6 |
32 |
38 |
— |
38 |
80 |
84 |
|
DRVP-16 |
128 |
118 |
22.5 |
14 |
9 |
45 |
38 |
38 |
76 |
104 |
107 |
|
DRVP-20 |
170 |
153 |
25 |
14 |
9 |
50 |
49 |
47.5 |
95 |
127 |
131 |
|
DRVP-25 |
175 |
150 |
27 |
18 |
11 |
55 |
49 |
60 |
120 |
165 |
169 |
|
DRVP-30 |
195 |
170 |
37.5 |
20 |
14 |
75 |
49 |
71.5 |
143 |
186 |
190 |
|
DRVP-40 |
220 |
203 |
50 |
20 |
14 |
100 |
49 |
67 |
133.5 |
192 |
196 |
|
型号 |
M |
N |
O |
P |
R |
S |
T |
U |
V |
W |
SW |
质量/kg |
|
DRVP-6 |
28.5 |
41.5 |
1.6 |
16 |
5 |
9.8 |
6.4 |
7 |
13.5 |
M14×1.5 |
— |
0.26 |
|
DRVP-8 |
33.5 |
46 |
4.5 |
25.5 |
7 |
12.7 |
14.2 |
7 |
31 |
M18×1.5 |
— |
0.50 |
|
DRVP-10 |
38 |
51 |
4 |
25.5 |
10 |
15.7 |
18 |
7 |
29.5 |
M18×1.5 |
— |
0.80 |
|
DRVP-12 |
44.5 |
57.5 |
4 |
30 |
13 |
18.7 |
21 |
7 |
36.5 |
M22×1.5 |
— |
1.10 |
|
DRVP-16 |
54 |
70 |
11.4 |
54 |
17 |
24.5 |
14 |
9 |
49 |
M22×1.5 |
— |
2.50 |
|
DRVP-20 |
60 |
76.5 |
19 |
57 |
22 |
30.5 |
16 |
9 |
49 |
M33×2 |
19 |
3.90 |
|
DRVP-25 |
76 |
100 |
20.6 |
79.5 |
28.5 |
37.5 |
15 |
11 |
77 |
M33×2 |
19 |
6.70 |
|
DRVP-30 |
92 |
115 |
23.8 |
95 |
35 |
43.5 |
15 |
13 |
85 |
M33×2 |
19 |
11.0 |
|
DRVP-40 |
111 |
140 |
25.5 |
89 |
47.5 |
57.5 |
16 |
13 |
64 |
M33×2 |
19 |
17.5 |



