|
排气阀 |
||
|
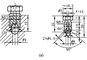
排气阀的结构型式见下表。排气阀的位置要合理,水平安装的液压缸,其位置应设在缸体两腔端部的上方;垂直安装的液压缸,应设在端盖的上方,均应与压力腔相通,以便安装后调试前排除液压缸内的空气。由于空气比油轻,总是向上浮动,不会让空气有积存的残留死角。如果排气阀设置不当或者没有设置,压力油进入液压缸后,缸内仍会存有空气。由于空气具有压缩性和滞后扩张性,会造成液压缸和整个液压系统在工作中的颤振和爬行,影响液压缸的正常工作。例如,液压导轨磨床在加工过程中,如果工作台进给液压缸内存有空气,就会引起工作台进给时的颤振和爬行,这不仅会影响被加工表面的粗糙度和形位公差等级,而且会损坏砂轮和磨头等机构;这种现象如果发生在炼钢转炉的倾倒装置液压缸中,将会引起钢水的动荡泼出,这是十分危险的。为了避免这种现象的发生,除了防止空气进入液压系统外,必须在液压缸上安设排气阀。因为液压缸是液压系统的最后执行元件,会直接反映出残留空气的危害 排气阀的结构形式 |
||
|
结 构 图 |
说 明 |
|
|
整 体 排 气 阀 |
|
阀体与阀针合为一体,用螺纹与缸筒或缸盖连接,靠头部锥面起密封作用。排气时,拧松螺纹,缸内空气从锥面间隙中挤出,并经斜孔排出缸外 这种排气阀简单、方便,但螺纹与锥面密封处同轴度要求较高,否则拧紧排气阀后不能密封,会造成外泄漏 阀的材料用35或45碳素钢,锥部热处理硬度38~44HRC 整体排气阀的实际结构尺寸如图a所示 |
|
组 合 排 气 阀 |
|
阀体与阀针为两个不同零件 ,拧松阀体螺纹后,锥阀在压力的推动下脱离密封面而排出空气 阀体材料用30或45碳素钢,锥阀用不锈钢3Cr13,锥部热处理硬度38~44 HRC |


