|
P7600、P5100、P3100、P197、P257型高压齿轮泵(马达) |
||||||||
|
该系列泵(马达)属高压齿轮泵(马达),产品采用了先进的压力平衡结构和经过特殊表面处理的侧板结构,耐压抗磨性强,采用专门设计的特殊油泵轴承,更适合重载冲击等苛刻条件,具有体积小、噪声低、压力高、排量大、性能好、寿命长等特点。各种规格的单泵(马达)可组成双泵(马达)、多联泵(马达),并提供泵阀一体的复合泵,广泛应用于各种工程机械、装载机、推土机、压路机、挖掘机、起重机等 型号意义:
|
||||||||
|
表1 技术参数 |
||||||||
|
系 列 |
型 号 |
排 量 /mL·r-1 |
齿 宽 /in |
压 力/MPa |
工作转速 /r·min-1 |
输入功率 /kW |
重量 /kg |
|
|
额 定 |
最 高 |
|||||||
|
7600 |
P7600-F63 |
63 |
1 |
23 |
28 |
2400 |
69.36 |
31.6 |
|
P7600-F80 |
80 |
11/4 |
86 |
32.6 |
||||
|
P7600-F100 |
100 |
11/2 |
109.9 |
33.4 |
||||
|
P7600-F112 |
112 |
13/4 |
123.2 |
34.8 |
||||
|
P7600-F125 |
125 |
2 |
141 |
36.1 |
||||
|
P7600-F140 |
140 |
21/8 |
154 |
36.8 |
||||
|
P7600-F150 |
150 |
21/4 |
160 |
37.4 |
||||
|
P7600-F160 |
160 |
21/2 |
176 |
38.7 |
||||
|
P7600-F180 |
180 |
23/4 |
198 |
39.6 |
||||
|
P7600-F200 |
200 |
3 |
220 |
40.5 |
||||
|
5100 |
P5100-F20 |
20 |
1/2 |
22.5 |
14.5 |
|||
|
P5100-F32 |
32 |
3/4 |
36 |
16.1 |
||||
|
P5100-F40 |
40 |
1 |
44 |
17.6 |
||||
|
P5100-F50 |
50 |
11/4 |
55 |
19.6 |
||||
|
P5100-F63 |
63 |
11/2 |
69.4 |
20.2 |
||||
|
P5100-F80 |
80 |
2 |
86 |
21.6 |
||||
|
P5100-F90 |
90 |
21/4 |
99 |
22.4 |
||||
|
P5100-F100 |
100 |
21/2 |
109.9 |
23.3 |
||||
|
3100 |
P3100-F15 |
15 |
1/2 |
16.5 |
13.1 |
|||
|
P3100-F20 |
20 |
3/4 |
22 |
13.7 |
||||
|
P3100-F32 |
32 |
1 |
35.2 |
14.3 |
||||
|
P3100-F40 |
40 |
11/4 |
44 |
14.9 |
||||
|
P3100-F50 |
50 |
11/2 |
55 |
15.5 |
||||
|
P3100-F55 |
55 |
13/4 |
62 |
15.95 |
||||
|
P3100-F63 |
63 |
2 |
69.4 |
16.4 |
||||
|
197 |
P197-G15 |
15 |
1/2 |
28 |
23.1 |
13.1 |
||
|
P197-G20 |
20 |
3/4 |
32.9 |
13.7 |
||||
|
P197-G32 |
32 |
1 |
46.3 |
14.3 |
||||
|
P197-G40 |
40 |
11/4 |
55.6 |
14.9 |
||||
|
P197-G50 |
50 |
11/2 |
65.9 |
15.5 |
||||
|
P197-G63 |
63 |
2 |
88.8 |
16.4 |
||||
|
257 |
P257-H20 |
20 |
1/2 |
31.5 |
35.2 |
15.6 |
||
|
P257-H32 |
32 |
3/4 |
49 |
16.8 |
||||
|
P257-H40 |
40 |
1 |
68.4 |
17.6 |
||||
|
P257-H50 |
50 |
11/4 |
82 |
19.6 |
||||
|
P257-H63 |
63 |
11/2 |
98.25 |
20.2 |
||||
|
P257-H80 |
80 |
2 |
119.9 |
21.6 |
||||
|
P257-H90 |
90 |
21/4 |
127.5 |
22.4 |
||||
|
P257-H100 |
100 |
21/2 |
134.3 |
23.3 |
||||
|
注:lin=25.4mm,下同。 |
||||||||
|
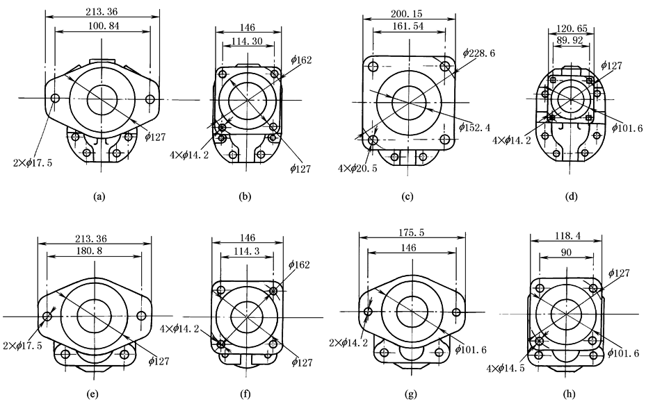
表2 外形尺寸 mm |
|||||||||||||||||||
|
|
|||||||||||||||||||
|
型 号 |
a |
A |
B |
b |
c |
e |
f |
D |
型 号 |
a |
A |
B |
b |
c |
e |
f |
D |
||
|
P7600 |
F63 |
95.25 |
196.85 |
50.80 |
56 |
31.75 |
101.6 |
203.2 |
120.65 |
P3100 |
F32 |
74.68 |
163.58 |
44.4 |
42 |
22.35 |
70.61 |
139.7 |
96.7 |
|
F80 |
203.2 |
57.15 |
123.83 |
F40 |
169.93 |
50.75 |
99.88 |
||||||||||||
|
F100 |
209.55 |
63.50 |
127 |
F50 |
176.28 |
57.1 |
103.05 |
||||||||||||
|
F112 |
215.9 |
69.85 |
130.18 |
F63 |
188.98 |
69.8 |
109.4 |
||||||||||||
|
F125 |
222.25 |
76.20 |
133.35 |
P197 |
G15 |
74.68 |
164.34 |
25.4 |
42 |
22.35 |
71.88 |
143.76 |
133.35 |
||||||
|
F140 |
225.43 |
79.38 |
134.94 |
G20 |
170.69 |
31.75 |
139.7 |
||||||||||||
|
F150 |
228.6 |
82.55 |
136.53 |
G32 |
177.04 |
38.1 |
146.05 |
||||||||||||
|
F160 |
234.95 |
88.90 |
139.7 |
G40 |
183.39 |
44.45 |
152.4 |
||||||||||||
|
F180 |
241.3 |
95.25 |
142.88 |
G50 |
189.39 |
50.8 |
158.75 |
||||||||||||
|
F200 |
247.65 |
101.60 |
146.05 |
G63 |
202.44 |
63.5 |
171.45 |
||||||||||||
|
P5100 |
F40 |
85.85 |
174.7 |
44.40 |
56 |
25.4 |
79.25 |
158.75 |
108.05 |
P257 |
H20 |
88.7 |
190.3 |
25.4 |
56 |
25.4 |
72.18 |
144.37 |
152.15 |
|
F50 |
181.05 |
50.75 |
111.23 |
H32 |
196.65 |
31.75 |
158.5 |
||||||||||||
|
F63 |
187.4 |
57.10 |
114.4 |
H40 |
203 |
38.1 |
164.85 |
||||||||||||
|
F80 |
200.1 |
69.80 |
120.75 |
H50 |
209.35 |
44.45 |
171.2 |
||||||||||||
|
F90 |
206.45 |
76.15 |
123.93 |
H63 |
215.7 |
50.8 |
177.55 |
||||||||||||
|
F100 |
212.8 |
82.50 |
127.1 |
H80 |
228.4 |
63.5 |
190.25 |
||||||||||||
|
P3100 |
F15 |
74.68 |
150.88 |
31.70 |
42 |
22.35 |
70.61 |
139.7 |
90.35 |
H90 |
234.75 |
69.85 |
196.6 |
||||||
|
F20 |
157.23 |
38.05 |
93.53 |
H100 |
241.1 |
76.2 |
202.95 |
||||||||||||
|
|
|
|
|||||||||
|
DN |
m+0.1 |
n+0.1 |
M |
d(NPT) /in |
|
||||||
|
13 |
38.1 |
17.5 |
M8 |
1/2 |
|||||||
|
19 |
47.6 |
22.3 |
M10 |
3/4 |
|||||||
|
25 |
52.4 |
26.2 |
M10 |
1 |
|||||||
|
32 |
58.7 |
30.2 |
M10 |
11/4 |
|||||||
|
38 |
69.9 |
35.7 |
M12 |
11/2 |
|||||||
|
51 |
77.8 |
42.92 |
M12 |
2 |
|||||||
|
64 |
88.9 |
50.8 |
M12 |
21/2 |
|||||||
|
|
|
||||||||||
|
前盖及轴伸型式(根据用户需要选定) |
|||||||||||
|
系列 |
7600 |
5100 |
3100 |
197 |
257 |
||||||
|
前盖型式 |
a、b、c、d |
e、f、g、h |
f、g、h、i、j |
e、f、g、h |
e、f、g、h |
||||||
|
轴伸型式 |
Ⅲ、Ⅳ、Ⅴ、Ⅶ |
Ⅲ、Ⅳ、Ⅴ、Ⅵ、Ⅶ |
Ⅰ、Ⅱ、Ⅴ、Ⅵ |
Ⅰ、Ⅱ、Ⅵ、Ⅶ |
Ⅰ、Ⅱ、Ⅳ、Ⅶ |
||||||
|
|
|||||||||||
|
|
|||||||||||





