|
圆锥的尺寸和公差注法(GB/T 15754—1995) |
||||||||||||||
|
圆 锥 尺 寸 注 法 |
特征参数及字母符号 |
锥度C |
圆锥角 α |
最大圆 锥直径 D |
最小圆 锥直径 d |
给定横截 面处圆锥 直径dx |
圆锥 长度 L |
总长 L′ |
给定横截 面的长度Lx |
|||||
|
尺寸 标注 |
优先方法 |
1∶5 1/5 |
35°
|
|
|
|
|
|
|
|||||
|
可选方法 |
0.2∶1 20% |
0.6rad |
|
|
|
|
|
|
||||||
|
|
||||||||||||||
|
锥 度 图 形 符 号 |
锥度图形符号 图形符号的配置
|
|||||||||||||
|
锥 度 标 注 方 法 |
当所标注的锥度是标准圆锥系列之一(尤其是莫氏锥度或米制锥度)时,可用标准系列号和相应的标记表示如下图
|
|||||||||||||
|
圆 锥 的 公 差 注 法 |
给 定 圆 锥 角 的 圆 锥 公 差 注 法 |
|
给 定 锥 度 的 圆 锥 公 差 注 法 |
|
||||||||||
|
给 定 圆 锥 轴 向 位 置 的 圆 锥 公 差 注 法 |
|
给 定 圆 锥 轴 向 位 置 公 差 的 圆 锥 公 差 注 法 |
|
|||||||||||
|
与基 准线 有关 的圆 锥公 差的 注法 |
|
|||||||||||||
|
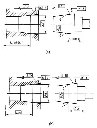
相 配 合 的 圆 锥 的 公 差 注 法 |
根据GB/T 12360的要求,相配合的圆锥应保证各装配件的径向和(或)轴向位置。标注两个相配圆锥的尺寸及公差时,应确定: 具有相同的锥度或锥角: 标注尺寸公差的圆锥直径的基本尺寸应一致; 确定直径(图a)和位置(图b)的理论正确尺寸与两装配件的基准平面有关
|
|||||||||||||
|
限 定 条 件 |
必要时,可给出限定条件以保证圆锥实际要素不超过给定的公差带。这些限定条件可在图样上直接给出或在技术要求中说明 |
|||||||||||||
|
附 加 形 位 公 差 要 求 |
备注:倾斜度公差带(包括素线的直线度)在轮廓度公差带内浮动 |
圆锥的形状公差一般不单独给出,而是由对应的面轮廓度公差带或圆锥直径公差带限定。只有为了满足某一功能需要,对圆锥的形状公差有更高的要求时,才给出圆锥的形状公差。但它应小于面轮廓公差t 或圆锥直径公差 TD 的一半 |
||||||||||||
|
在技 术要 求中 说明 |
如:量规涂色检验,接触率大于80% |
|||||||||||||
|
注:本标准规定的是光滑正圆锥的尺寸和公差注法。所谓正圆锥是要求圆锥的锥顶与基本圆锥相重合,且其母线是直的。所谓光滑圆锥是指在机械结构中所使用的具有圆锥结构的工件。这种工件要利用圆锥的自动定心、自锁性好、密封性好、间隙或过盈可以自由调整等特点工作的。例如圆锥滑动轴承、圆锥阀门、钻头的锥柄、圆锥心轴等等。而对于像锥齿轮、锥螺纹、圆锥滚动轴承的锥形套圈等零件,它们虽然也具有圆锥结构,但其功能与前述情况不同。它们圆锥部分的要求都由该零件的专门标准所确定,本标准不适用于这类零件。 |
||||||||||||||











