|
规定注法(GB/T 16675.2—1996) |
||||||||||||
|
类别 |
简 化 后 |
简 化 前 |
说 明 |
|||||||||
|
规 定 注 法 |
梯 式 尺 寸 注 法 |
|
|
从同一基准出发的尺寸可按简化后的形式标注 |
||||||||
|
|
|
从同一基准出发的尺寸可按左图(简化后)的形式标注 |
||||||||||
|
链 式 尺 寸 注 法 |
|
|
间隔相等的链式尺寸,可采用左图(简化后)所示的简化注法 |
|||||||||
|
真 实 尺 寸 注 法 |
|
|
在不反映真实大小的投影上,用在尺寸数值下加画粗实线短划的方法标注其真实尺寸 |
|||||||||
|
简 化 后 |
说 明 |
|||||||||||
|
坐 标 网 格 注 法 |
|
对于印刷板类的零件,可直接采用坐标网格法表示尺寸 |
||||||||||
|
简 化 后 |
简 化 前 |
两个形状相同但尺寸不同的构件或零件,可共用一张图表示,但应将另一件名称和不相同的尺寸列入括号中表示 |
||||||||||
|
形 状 相 同 件 注 法 |
|
|
||||||||||
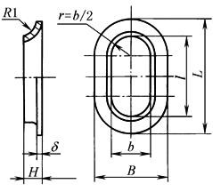
|
简 化 后 |
同类型或同系列的零件或构件,可采用表格图绘制 |
|||||||||||
|
表 格 图 注 法 |
|
|
||||||||||
|
X4 |
40 |
80 |
60 |
100 |
0.8 |
11 |
|
|||||
|
X3 |
30 |
60 |
50 |
80 |
0.8 |
11 |
|
|||||
|
X2 |
20 |
40 |
36 |
56 |
0.5 |
8.5 |
|
|||||
|
X1 |
12 |
24 |
20 |
32 |
0.5 |
4.5 |
|
|||||
|
图样代号 |
b |
l |
B |
L |
δ |
H |
数量 |
|||||
|
|
||||||||||||
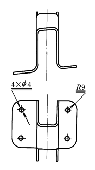
|
对 称 图 形 注 法 |
|
当图形具有对称中心线时,分布在对称中心线两边的相同结构,可仅标注其中一边的结构尺寸 |
||||||||||













