|
相同、成组结构或要素画法(GB/T 16675.1—1996) |
||||
|
类别 |
简 化 后 |
简 化 前 |
说 明 |
|
|
相 同 、 成 组 结 构 或 要 素 画 法 |
若 干 相 同 结 构 画 法 |
|
|
当机件具有若干相同结构(如齿、槽等),并按一定规律分布时,只需要画出几个完整的结构,其余用细实线连接,在零件图中则必须注明该结构的总数 |
|
简 化 后 |
||||
|
|
||||
|
简 化 后 |
简 化 前 |
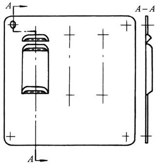
若干直径相同且成规律分布的孔,可以仅画出一个或少量几个,其余用细实线或
表示其中心位置,规律分布不明确的孔常用符号 |
||
|
若 干 相 同 直 径 孔 的 画 法 |
|
|
||
|
|
|
|||
|
|
|
|||
|
若 干 相 同 零 件 组 画 法 |
|
|
对于装配图中若干相同的零部件组,可仅详细地画出一组,其余只需用细点画线表示出其位置 |
|
|
简 化 后 |
说 明 |
|||
|
若 干 相 同 零 件 组 画 法 |
|
对于装配图中若干相同的零部件组,可仅详细地画出一组,其余只需用细点画线表示出其位置 |
||
|
简 化 后 |
简 化 前 |
对于装配图中若干相同的单元,可仅详细地画出一组,其余可采用如图所示的简化方法表示 |
||
|
若 干 相 同 单 元 画 法 |
|
|
||
|
成 组 的 重 复 要 素 画 法 |
|
|
有成组的重复要素时,可以将其中一组表示清楚,其余各组仅用点划线表示中心位置 |
|
|
简 化 后 |
说 明 |
|||
|
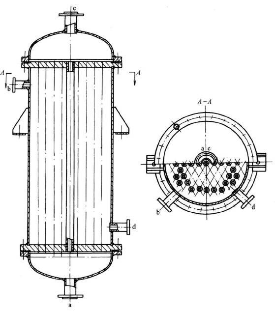
成 组 密 集 管 子 画 法 |
|
在锅炉、化工设备等装配图中,可用细点画线表示密集的管子,如图所示。如果连接管口等结构的方位已在其他图形表示清楚时,可以将这些结构分别旋转到与投影面平行再进行投影,但必须标注,其标注形式如图所示 |
||

















