|
梁的局部稳定性 |
|||
|
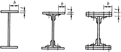
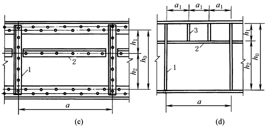
按强度计算,梁的腹板可取得很薄,以节约金属和减轻结构重量。但梁易失稳,常用肋板提高其局部稳定性。组合工字梁的翼缘受压时也可能失稳,因而规定其翼缘的伸出长度。表1为工字梁及箱形梁受压翼缘宽厚比的规定值 受弯构件腹板配置加强肋板的规定见表2;加强肋布置见图1;肋板的横截面形状与配置见图2。对于表2中1项有局部压应力的梁及其他各项无局部压应力的梁,其配肋尺寸的一般原则如下 ① 0.5h0≤a≤2h0,且a≤3m ② 短加肋板 a1>0.75h1 ③ 肋板宽度 |
|||
|
表1 受压翼缘的宽厚比 |
|||
|
截 面 形 式 |
规 定 值 |
||
|
|
|
||
|
|
|
||
|
注:表中σs为钢的屈服强度。对Q235钢,取σs=235N/mm2;对16Mn、16Mnq钢,取σs=345N/mm2;对15MnV、15MnVq钢,取σs=390N/mm2。 |
|||
|
表2 受弯构件腹板配置加强肋板的规定 |
|||
|
项 次 |
配 置 规 定 |
备 注 |
|
|
|
可不配置加劲筋,但对有局部压应力的梁应配加劲筋 |
加强肋间距按计算确定 h0——腹板的计算高度,按图1采用 tW——腹板的厚度 σs——钢材的屈服强度,N/mm2 |
|
|
|
应配置横向加劲筋 |
||
|
|
应配置: (1)横向加劲筋 (2)受压区的纵向加劲筋 (3)必要时尚应在受压区配置短加劲筋 |
||
|
4.支座处和上翼缘受有较大固定集中载荷处,宜设置支承加劲筋 |
|||
|
④ 肋板的厚度 ⑤ 梁需加纵向肋板时,h1值宜为
图1 加强肋布置 1—横向加劲肋;2—纵向加强肋;3—短加强肋 ⑥ 连接肋板的焊缝宜用小焊脚的连续角焊缝,对于只承受静载荷或动载荷不大的梁,可用断续焊缝 ⑦ 为了易于装配和避免焊缝汇交于一点,通常在肋板上切去一个角(图2),角边高度约为焊脚高度的2~3倍。图中C—C剖面所示的短肋板,其端部易产生裂纹,动载梁不宜采用,应设计成通高的长肋板(见B—B剖面)。肋板与受拉翼缘连接的角焊缝会降低疲劳强度,对重要的动载梁可用A—A剖面的结构,即肋板下部放垫板并与之焊接,垫板与受拉翼缘不焊,或焊缝平行于内力
图2 肋板的横截面形状与配置 ⑧ 对于局部受压的梁,受压处的加强肋板必须有足够的厚度或要计算使其有足够的强度和稳定性 |
|||







