|
主振系统的动力参数 |
|||
|
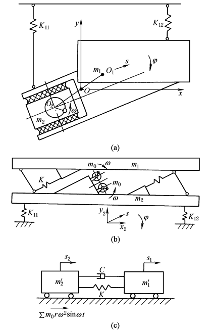
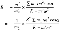
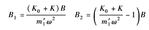
图a所示为单轴惯性共振式振动机,该机在单轴惯性激振器激励下,会产生摆动,但与主系统振动相比,还是很小的。图b为双轴惯性共振式振动机,该振动机为直线振动。两机主振系统的力学模型如图c所示。动力参数设计见下表
惯性共振式振动机及主振系统的力学模型 |
|||
|
惯性共振式与弹性连杆共振式动力参数设计计算 |
|||
|
项目 |
惯性共振式 |
弹性连杆式 |
|
|
隔振弹簧总刚度 |
|
Z0——频率比,通常取Z0=3~5,对有物料作用振动机,Z0可适当取小 |
|
|
工作机体质量m1 |
根据振动机的工作要求(包括振动参数、B1、ω、Q和机体尺寸等)及机体的强度和刚度确定 |
||
|
质体2的质量m2 |
m2=(0.4~0.8)m1,m2为附加质量,应尽量减小。m2越小,则相对运动振幅B越大,因此,m2在主振弹簧变形量允许的条件下,尽量选得小些 |
||
|
诱导质量 |
K1,K2——分别为作用于m1和m2上的隔振弹簧沿s方向的刚度,由K11、K12计算求得,K2在概算时可忽略 |
||
|
主振弹簧总刚度 |
通常取Z=0.75~0.95 |
|
|
|
连杆弹簧总刚度 |
|
线性振动机取Z=0.82~0.88 非线性振动机取Z=0.85~0.92 |
|
|
相位差角 |
ζ——阻尼比,常取ζ=0.02~0.07 Z——频率比,常取Z=0.75~0.95 |
常取ζ=0.02~0.07 在有载条件下: 线性振动机取Z=0.8~0.9 非线性振动机取Z=0.85~0.95 |
|
|
相对运动振幅 |
|
|
|
|
绝对振幅 |
|
|
|
|
传给基础的动载荷 |
Fx=KxB1x B1x,B1y——x、y方向的弹簧K1的振幅 Fy=KyB1y Kx,Ky——弹簧K1在x、y方向的刚度 说明:需另外加静载荷(总重量) |
||






