|
冲击减振器 |
|
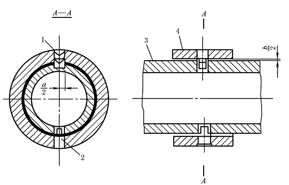
冲击阻尼减振器是利用非完全弹性体碰撞时所引起动能损耗的原理设计制造的。这类减振器重量轻、体积小、制造简单,通常适用于减少振动力不大的高频振动的振幅,也属于动力减振器。最常用的是车床上的车刀减振器 图1为最简单的冲击减振器。为减少轴3的振动,轴上套有冲击环4,当轴产生弯曲振动时,冲击环4的内表面与轴3的外表面产生冲击,阻尼轴的振动。此时,间隙b是工作间隙。而当轴产生扭转振动时,冲击环4通过冲击钉1与轴的相配孔产生冲击,此时,间隙a是工作间隙。可用更换冲击钉来改变此间隙的大小。平衡钉2起平衡配重作用,它与轴的间隙大,不与轴接触。冲击钉1和平衡钉2与冲击环4的配合有过盈。图2为安装于铣床的轴环式冲击减振器
图1 冲击减振环 1—冲击钉;2—平衡钉;3—轴;4—冲击环
图2 铣床的轴环式冲击减振器 图3为可减小镗杆弯曲振动的冲击减振镗杆结构图。根据经验,冲击质量块的质量可取镗杆外伸部分质量的0.1~0.125 倍,冲击质量块与镗杆内孔的配合为 钢。为了增加冲击块的密度,可将冲击块挖空,并在孔内灌铅。若采用硬质合金作为冲击块的材料,由于其密度和恢复系数提高,因而可增加减振效果
图3 冲击减振镗杆 1—冲击块;2—软弹性杆;3—镗杆;4—调节螺母 图4为冲击减振器在镗刀上的安装图。这里冲击块2和冲击环5与镗杆3之间的间隙是工作间隙。图b的冲击环安装在镗刀外,重量较大,减振效果较图a好
图4 镗上的冲击减振器 1—螺塞;2—冲击块;3—镗杆;4—镗刀;5—冲击环;6—限位环 近年来为了简化冲击减振器的结构,采用铅弹、水银或水来代替整体冲击块。试验表明,以采用铅弹的效果为最好 |




