|
特殊吸盘/直线组合摆动气缸缓冲压机供料上的应用 |
||
|
应用 原理 |
给冲压机供料 |
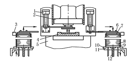
1—直线/摆动组合气缸;2—冲压锤;3—接近开关; 4—冲模;5—冲压机架;6—旋转手臂;7—吸盘; 8—工件(平);9—升降盘;10,11—料架; 12—升降轴 |
|
经常会遇到对较小的、平的工件进行供料,例如在冲压床上进一步加工(印章、弯曲、切割、切割一定的尺寸等)。为了能使工件精确地被放到模具上去,在这一例子当中,使用的不是一个普通的吸盘,而是一个能保证工件精密定位的吸盘,这一点对柔性工件来说尤为重要。送料和去料操作由两个摆动臂执行,每个摆动臂的执行部件都为一个直线/摆动组合气缸。料架是活动设计的,工件由丝杠上下驱动,接近开关检测料架的工件的位置,并按一定的时间控制步进。进料机构和出料机构设计相同。如果进料和出料操作由同一个处理单元执行,就会减少产品的产量,因为之后的同步操作会变得不可能。由于需求量大,相同操作单元的使用,可大大缩减成本 |
||
|
适用 组件 |
①直线摆动组合气缸;②液压缓冲器;③单气控阀或阀岛;④接近开关;⑤漫射式传感器;⑥真空发生器;⑦真空安全阀;⑧安装附件 |
|

