|
动力吸振器的设计 |
||
|
项目 |
设计原则 |
说明 |
|
设计已知条件 |
已知激振力幅值F0、频率ω、主系统质量m1和固有角频率ωn |
如果ω和ωn未知,可通过测试直接获得。如果F0未知,可通过主系统振幅测试,经换算得出 |
|
质量m2的确定 |
通常根据新共振点频率比限定值
确定质量比μ,最终得到m2=μm1 |
根据给定新共振点频率比(或在新共振点频率没给定条件下,可自行选择频率比),可从表动力吸振器工作原理中系统频率特性曲线图查出μ |
|
弹簧K2的参数确定 |
吸振器弹簧总刚度 簧的刚度K'2。弹簧的最大相对变形量δmax=|B1|+|B2|,因|B1|≈0,所以,
于是可根据确定的K'2和δmax进行弹簧设计 |
在没有确切知道激振力幅值F0的条件下,弹簧的最大相对变形量可以估计得稍偏高一点 |
|
系统调试设计 |
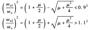
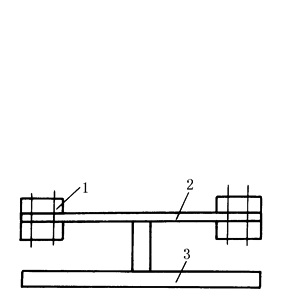
(1)在m2固定的条件下,采用如图1所示动力消振装置,凭借改变悬臂梁的悬臂长来调整K2,保证ω22=ωn (2)在K2固定条件下,采用如图2所示动力消振装置,凭借改变m2来保证ω22=ωn。下面的大质量块,是进行宏观调节的,上面的小质量块是进行微细调节的 |
动力吸振器是一种单频窄带吸振器,ω偏离ωn的程度、新共振点频带宽和弹簧的制造安装误差都影响动力吸振器的工作有效性,所以,调试设计应引起足够的重视。在ωn未知的条件下,也可以通过逐渐试验的办法,寻找动力吸振器的最佳参数,这样虽具有盲目性,但对解决工程实际问题是很重要的 |
|
动力吸振器与主系统的连接点选择 |
若主系统为多自由度系统,动力吸振器只要不附连在主系统的振动节点(振幅为零位置)上,总能在窄带范围内使连接点邻近区域的振动得到抑制。当动力吸振器附连在激振力作用点或欲抑制振动的振幅最大处,效果都很好 |
当机械设备和安装基础在激振力作用下产生共振,并采用动力吸振器控制主系统振动时,应注意动力吸振器的安装位 |
|
图1 卧式动力吸振器 图2 立式动力吸振器 1—质量;2—板弹簧;3—底座 1—调整质量;2—弹簧;3—导杆;4—质量;5—底座 |
||



