|
阻尼减振的原理 |
||
|
类别 |
图例 |
说明 |
|
空气阻尼器 |
|
摆锤运动时空气以很大的速度从小孔流入或流出而获得大的阻尼力;性能稳定;阻尼力与运动速度的线性较差 |
|
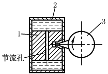
油阻尼器 |
|
阻尼板在油中产生涡流及阻尼板与油的黏滞力获得阻尼力;种类很多;流体介质以硅油为最稳定 左图例说明:振动体通过摇臂3使活塞1产生往复运动,迫使油液通过活塞的节流孔来回流动,产生摩擦阻尼 |
|
干摩擦阻尼 |
|
摩擦片、弹簧、橡胶、钢丝绳减振器等;种类很多 左图例说明:1—轴;2—摩擦盘;3—飞轮;4—弹簧 |
|
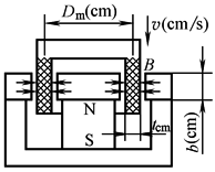
磁阻尼器 |
|
金属材料制成的阻尼环在磁场中运动产生电动势产生涡流而形成阻尼力
B——空隙的磁通密度,G(1G=10-4T) ρ——圆环的电阻率,Ω·cm 设磁场中圆环部分的电阻为R(Ω),则ρ=Rbt/(πDm) |
|
线圈式电磁阻尼器 |
|
如用线圈在磁场中运动切割磁力线时产生电动势,与磁场相互作用而产生阻止运动的力,则为线圈式电磁阻尼器 |
|
要说明一点,电磁流变技术用于减振器是机械领域的一个大的变革。例如智能半主动减振器可广泛应用于机械动力装备,如车辆的主动悬架、主动抗侧翻装置、驾驶员坐椅主动减振和主动隔振、建筑结构的主动消能等。同时磁流变调速离合器、磁流变刹车可广泛应用于机械动力传动链中的动力控制装置,从而为用微电子器件直接控制机械动力装置提供了直接便利的执行器 |
||





