|
抽吸率升降可调整的合金焊接机上应用 |
||
|
应用 原理 |
合金焊接台,通过吸臂吸取有害的物质 |
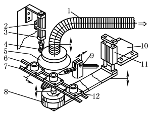
1—吸管;2—3位5通换向阀; 3—气缸;4—连接铰; 5—护罩;6—传送系统; 7—基本工件;8—旋转单元; 9—焊枪支座;10—机架; 11—直线驱动单元(双活塞滑台); 12—焊接装配 |
|
气体吸臂的任务就是尽可能在最接近释放有害物质(烟气、水蒸气、灰尘或油漆飞溅物)的地方,把有害物质吸除。此例对轴衬进行焊接,当工作台被输送到旋转单元位置时,双活塞滑台把装有旋转单元的工作台面提升,焊枪固定,旋转单元以一定速度旋转360°,同时,抽吸护罩通过气动装置下降靠近有害物产生点,焊接完成后,吸取护罩上升,工件移动至下一工位 抽吸护罩的位置由一个三位五通阀控制,考虑抽吸臂的尺寸和重量,作用在活塞杆上的侧向力是否在允许的范围之内,是否有必要采用辅助直线导轨 |
||
|
适用 组件 |
①标准气缸;②三位五通电磁换向阀;③双耳环;④安装附件;⑤接近开关;⑥双活塞滑台 |
|

