|
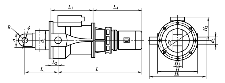
DGT型电动推杆 |
|||||||||||||||||||
|
|
|||||||||||||||||||
|
技术参数 mm |
|||||||||||||||||||
|
额定 推力 |
额定行程 /mm |
速度 /mm·s-1 |
L |
L1 |
L2 |
L3 |
L4 |
H |
H1 |
H2 |
H3 |
R |
D |
d |
d1 |
d2 |
f |
减速机型号 |
质量 /kg |
|
75kN (7653kgf) |
600 |
10.43 |
855 |
824 |
64 |
324 |
564 |
250 |
330 |
176 |
40 |
41 |
250 |
98 |
146 |
50 |
45 |
XLD2.2- 4-1/23 2.2kW |
370 |
|
1000 |
1255 |
824 |
64 |
324 |
564 |
250 |
330 |
176 |
40 |
41 |
250 |
98 |
146 |
50 |
45 |
420 |
|||
|
1200 |
1455 |
824 |
64 |
324 |
564 |
250 |
330 |
176 |
40 |
41 |
250 |
98 |
146 |
50 |
45 |
450 |
|||
|
1500 |
1755 |
824 |
64 |
324 |
564 |
250 |
330 |
176 |
40 |
41 |
260 |
98 |
146 |
50 |
45 |
490 |
|||
|
100kN (10204kgf) |
600 |
3.56 |
962 |
906 |
140 |
368 |
678 |
320 |
420 |
195 |
45 |
60 |
340 |
124 |
168 |
60 |
60 |
XLD4- 6-1/71 4kW |
420 |
|
1000 |
1362 |
906 |
140 |
368 |
678 |
320 |
420 |
195 |
45 |
60 |
340 |
124 |
168 |
60 |
60 |
450 |
|||
|
1200 |
1862 |
906 |
140 |
368 |
678 |
320 |
420 |
195 |
45 |
60 |
340 |
124 |
168 |
60 |
60 |
500 |
|||
|
1500 |
1032 |
906 |
140 |
368 |
678 |
320 |
420 |
195 |
45 |
60 |
340 |
124 |
168 |
60 |
60 |
550 |
|||
|
200kN (20408kgf) |
600 |
6.74 |
1223 |
994 |
238 |
432 |
800 |
418 |
518 |
241 |
60 |
90 |
420 |
134 |
190 |
70 |
80 |
XLD7.5- 6-1/43 7.5kW |
450 |
|
1000 |
1623 |
994 |
238 |
432 |
800 |
418 |
518 |
241 |
60 |
90 |
420 |
134 |
190 |
70 |
80 |
520 |
|||
|
1200 |
1823 |
994 |
238 |
432 |
800 |
418 |
518 |
241 |
60 |
90 |
420 |
134 |
190 |
70 |
80 |
600 |
|||
|
1500 |
2123 |
994 |
238 |
432 |
800 |
418 |
518 |
241 |
60 |
90 |
420 |
134 |
190 |
70 |
80 |
650 |
|||
|
350kN (35714kgf) |
600 |
4.97 |
1444 |
1231 |
160 |
503 |
888 |
460 |
580 |
234 |
60 |
80 |
460 |
164 |
219 |
80 |
80 |
XLD7.5- 8-1/87 7.5kW |
700 |
|
1000 |
1544 |
1231 |
160 |
503 |
888 |
460 |
580 |
234 |
60 |
80 |
460 |
164 |
219 |
80 |
80 |
760 |
|||
|
1200 |
1744 |
1231 |
160 |
503 |
888 |
460 |
580 |
234 |
60 |
80 |
460 |
164 |
219 |
80 |
80 |
810 |
|||
|
1500 |
2044 |
1231 |
160 |
503 |
888 |
460 |
580 |
234 |
60 |
80 |
460 |
164 |
219 |
80 |
80 |
880 |
|||
|
500kN (51020kgf) |
600 |
5.26 |
1464 |
1324 |
200 |
663 |
957 |
620 |
780 |
290 |
70 |
100 |
580 |
190 |
270 |
100 |
100 |
XLD11- 9-1/87 11kW |
720 |
|
1000 |
1864 |
1324 |
200 |
663 |
957 |
620 |
780 |
290 |
70 |
100 |
580 |
190 |
270 |
100 |
100 |
800 |
|||
|
1200 |
2064 |
1324 |
200 |
663 |
957 |
620 |
780 |
290 |
70 |
100 |
580 |
190 |
270 |
100 |
100 |
880 |
|||
|
1500 |
2364 |
1324 |
200 |
663 |
957 |
620 |
780 |
290 |
70 |
100 |
580 |
190 |
270 |
100 |
100 |
930 |
|||
|
(1) 结构特点 DGT型电动推杆为重型电动推杆,采用电动机减速器直联,推力大,体积小 (2) 标记示例
|
|||||||||||||||||||


