|
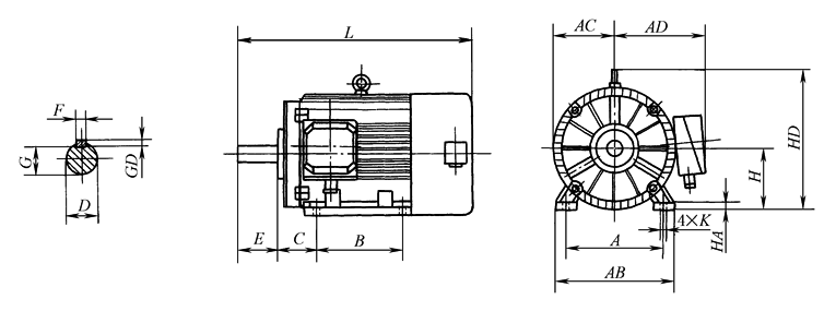
机座带底脚、端盖无凸缘(IMB3、IMB6、IMB7、IMB8、IMV5、IMV6)外形及安装尺寸 mm |
|||||||||||||||
|
|
|||||||||||||||
|
机座号 |
安装尺寸 |
外形尺寸 |
|||||||||||||
|
H |
A |
B |
C |
D |
E |
F×GD |
G |
K |
AB |
AC |
AD |
HD |
HA |
L |
|
|
90S |
90 |
140 |
100 |
56 |
24 |
50 |
8×7 |
20 |
10 |
180 |
85 |
155 |
190 |
13 |
400 |
|
90L |
90 |
140 |
125 |
56 |
24 |
50 |
8×7 |
20 |
10 |
180 |
85 |
155 |
190 |
13 |
430 |
|
100L |
100 |
160 |
140 |
63 |
28 |
60 |
8×7 |
24 |
12 |
205 |
103 |
180 |
245 |
15 |
465 |
|
112M |
112 |
190 |
140 |
70 |
28 |
60 |
8×7 |
24 |
12 |
245 |
115 |
190 |
265 |
17 |
490 |
|
132S |
132 |
216 |
140 |
89 |
38 |
80 |
10×8 |
33 |
12 |
280 |
135 |
210 |
315 |
18 |
525 |
|
132M |
132 |
216 |
178 |
89 |
38 |
80 |
10×8 |
33 |
12 |
280 |
135 |
210 |
315 |
18 |
575 |
|
160M |
160 |
254 |
210 |
108 |
42 |
110 |
12×8 |
37 |
15 |
330 |
163 |
255 |
385 |
22 |
645 |
|
160L |
160 |
254 |
254 |
108 |
42 |
110 |
12×8 |
37 |
15 |
330 |
163 |
255 |
385 |
22 |
690 |
|
180M |
180 |
279 |
241 |
121 |
48 |
110 |
14×9 |
42.5 |
15 |
3 55 |
180 |
285 |
430 |
22 |
810 |
|
180L |
180 |
279 |
279 |
121 |
48 |
110 |
14×9 |
42.5 |
15 |
3 55 |
180 |
285 |
430 |
22 |
850 |
|
200L |
200 |
318 |
305 |
133 |
55 |
110 |
16×10 |
49 |
19 |
395 |
200 |
310 |
475 |
27 |
890 |
|
225S |
225 |
356 |
286 |
149 |
60 |
140 |
18×11 |
53 |
19 |
435 |
225 |
345 |
530 |
27 |
930 |
|
225M |
225 |
356 |
311 |
149 |
60 |
140 |
18×11 |
53 |
19 |
435 |
225 |
345 |
530 |
27 |
970 |
|
250M |
250 |
406 |
349 |
168 |
65 |
140 |
18×11 |
58 |
24 |
490 |
248 |
385 |
575 |
33 |
1050 |
|
280S |
280 |
457 |
368 |
190 |
75 |
140 |
20×12 |
67.5 |
24 |
550 |
280 |
410 |
660 |
35 |
1100 |
|
280M |
280 |
457 |
419 |
190 |
75 |
140 |
20×12 |
67.5 |
24 |
550 |
280 |
410 |
660 |
35 |
1180 |
|
315S |
315 |
508 |
406 |
216 |
80 |
170 |
22×14 |
71 |
28 |
635 |
320 |
530 |
770 |
50 |
1300 |
|
315M |
315 |
508 |
457 |
216 |
80 |
170 |
22×14 |
71 |
28 |
635 |
320 |
530 |
770 |
50 |
1350 |
|
315L |
315 |
508 |
508 |
216 |
80 |
170 |
22×14 |
71 |
28 |
635 |
320 |
530 |
770 |
50 |
1450 |
|
355M |
355 |
610 |
560 |
254 |
95 |
170 |
25×14 |
86 |
28 |
730 |
355 |
355 |
1010 |
60 |
1650 |
|
355L |
355 |
610 |
630 |
254 |
95 |
170 |
25×14 |
86 |
28 |
730 |
355 |
355 |
1010 |
60 |
1750 |
|
注:1.L为不带传感器、制动器等附件的尺寸。 2.355机座号接线盒在机座上方。 |
|||||||||||||||

