|
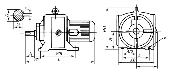
卧式安装尺寸及外形尺寸(JB/T 7123—1993) mm |
||||||||||||||
|
|
||||||||||||||
|
型 号 |
安 装 尺 寸 |
外形尺寸 |
||||||||||||
|
H |
A |
A/2 |
WB |
WC |
D |
E |
F |
G |
K |
AB |
AD |
HD |
L |
|
|
TCT112-4A |
|
190±0.7 |
95±0.5 |
210±0.7 |
40±1.5 |
|
40±0.31 |
|
|
|
273 |
150 |
275 |
520 |
|
TCT112-4B |
||||||||||||||
|
TCT132-4A |
|
216±0.7 |
108±0.5 |
241±0.7 |
|
50±0.31 |
|
|
305 |
158 |
330 |
550 |
||
|
TCT132-4B |
570 |
|||||||||||||
|
TCT160-4A |
|
254±1.05 |
127±0.75 |
267±1.05 |
45±1.5 |
|
60±0.37 |
|
|
340 |
185 |
385 |
645 |
|
|
TCT160-4B |
665 |
|||||||||||||
|
TCT180-4A |
|
279±1.05 |
139.5±0.75 |
305±1.05 |
375 |
188 |
430 |
685 |
||||||
|
TCT200-4A |
|
318±1.05 |
159±0.75 |
356±1.05 |
50±1.5 |
|
80±0.37 |
|
|
|
420 |
230 |
485 |
805 |
|
TCT200-4B |
845 |
|||||||||||||
|
TCT225-4A |
|
356±1.05 |
178±0.75 |
406±1.05 |
56±1.5 |
|
110±0.43 |
|
|
485 |
255 |
530 |
965 |
|
|
TCT225-4B |
1010 |
|||||||||||||
|
TCT250-4A |
|
406±1.4 |
203±1 |
457±1.4 |
63±2 |
|
|
|
|
540 |
285 |
580 |
1130 |
|
|
TCT250-4B |
1170 |
|||||||||||||
|
TCT280-4A |
|
457±1.4 |
228.5±1 |
508±1.4 |
70±2 |
|
|
|
580 |
320 |
655 |
1260 |
||
|
TCT315-4A |
|
508±1.4 |
254±1 |
560±1.4 |
80±2 |
|
140±0.5 |
|
|
|
650 |
345 |
720 |
1400 |
|
TCT315-4B |
1425 |
|||||||||||||
|
TCT355-4A |
|
610±1.4 |
305±1 |
630±1.4 |
108±3 |
|
|
755 |
385 |
875 |
1500 |
|||
|
TCT355-4B |
|
|
|
410 |
1630 |
|||||||||
|
TCT355-4C |
1660 |
|||||||||||||

