|
四相并列连杆脉动无级变速器 |
|
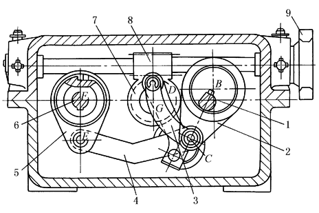
下图所示为四相并列连杆脉动无级变速器的结构简图(国际上称为Zero-Max型)。输入轴上装有相位差为90°的四个偏心盘(曲柄)1,每一相带动由两个四杆机构串接而成的六杆曲柄摇杆机构(由偏心曲轴1、连杆2和4、中间摇杆3和装有超越离合器的摇杆5组成)。当驱动曲轴1转动时,从动摇杆5作往复运动,通过超越离合器将摆动转换成输出轴的单向旋转运动
图 四相并列连杆脉动无级变速器 1—曲柄;2,4—连杆;3,5—摇杆;6—超越离合器轴;7—蜗轮;8—蜗杆;9—调速手轮 改变转速时可旋转调速手轮9,通过蜗杆8带动蜗轮7绕中心G转动,而固接其上的中间摇杆3的支点D也随之转动,这就改变了摇杆3的位置及机构机架的尺寸比例,从而导致从动摇杆5的摆动量产生变化,实现调速的目的 无级变速器在承载或静止状态下,均可调速。高速时,变速器呈恒功率特性,低速时呈恒转矩特性 四相并列连杆脉动无级变速器是由四组平行布置、其相位差为90°的单向超越离合器和曲柄摇杆机构组成的,适用于输入功率为0.18~1.22kW、以传递运动为主的恒转矩的变速器。这类变速器制定的标准JB/T 7515—1994只有三种规格,不能满足工业应用的需要,本节摘编了汉中市朝阳机械有限责任公司产品的性能参数和外形及安装尺寸(下表)。这种变速器主要用于纺织、印刷、食品等行业,恒转矩变速传动的场合 |
|
四相并列连杆脉动无级变速器的尺寸、性能参数 |
||||||||||||
|
mm |
||||||||||||
|
型号 |
A |
B |
D |
H |
N/N′ |
O |
O′ |
P |
U |
FU |
FN |
AG |
|
|
160 |
50 |
57.5 |
7 |
33/25.4 |
89.5 |
134 |
127 |
9.525 |
25.4 |
73 |
|
|
|
102 |
|||||||||||
|
|
218 |
71.8 |
76.3 |
10 |
50.8 |
116 |
171.5 |
169 |
15.87 |
12.7 |
38.1 |
119.5 |
|
|
260 |
76.2 |
88.9 |
10.4 |
76.2 |
139.7 |
209.6 |
203.2 |
19.05 |
15.87 |
50.8 |
173 |
|
|
320.6 |
120 |
114.8 |
13 |
69.85 |
178.5 |
254 |
254 |
25.4 |
22.22 |
51 |
173.8 |
|
E3/JK3 |
160 |
50 |
57.5 |
7 |
40/43 |
89.5 |
115 |
127 |
9.525 |
25.4 |
83/110 |
|
|
Y3 |
210 |
71.8 |
76.3 |
10 |
50.8 |
116 |
170 |
169 |
15.87 |
12.7 |
38.1 |
149 |
|
型号 |
L |
XA |
XB |
XD |
XE |
XF |
XG |
ZE |
ZF |
转矩/N·m |
功率/kW |
|
|
116/109 |
31.75 |
63.5 |
32.1 |
14.3 |
19 |
12 |
139 |
25.4 |
1.4 |
0.18~0.25 |
|
|
146/138 |
47.5 |
2.8 |
0.18~0.25 |
|||||||
|
|
175.3 |
40 |
82.55 |
33.38 |
19 |
45.6 |
12 |
191 |
48 |
6.8 |
0.37 |
|
|
263/260 |
50.8 |
90.2 |
40.64 |
24 |
48 |
12.7 |
235 |
50.8 |
11.5 |
0.75 |
|
|
327.5/257.7 |
63.5 |
77.7 |
25 |
53.7 |
26.8 |
12.5 |
284 |
95 |
22.6 |
1.22 |
|
E3/JK3 |
148/178 |
31.75 |
63.5 |
32.1 |
14.3 |
12 |
25.4 |
139 |
25.4 |
1.4/2.8 |
0.18~0.25 |
|
Y3 |
238 |
40.1 |
88.9 |
33.3 |
19 |
12 |
40 |
191 |
48 |
6.8 |
0.37 |
|
注:1.输入轴转速n1应在600~2000r/min范围内。输出转速范围为0~n1/4.5。 2.变速器为恒转矩型,应按输出转矩值和输出方向选定变速器型号;功率指输入功率。 3.E1、E2、JK1、JK2型设有过载保护装置。1、41型为逆时针向输出,2、42型为顺时针向输出,3型正、反向均可输出。 4.本变速器也有丝杠调速的型式。1、2型输入、输出轴在箱体两侧,41、42型输入、输出轴在箱体同侧。 5.生产厂:汉中市朝阳机械有限责任公司。 |
|||||||||||


