|
概述 |
|
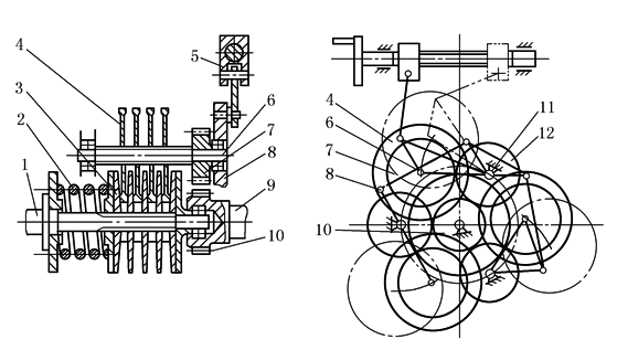
多盘式无级变速器(JB/T 7668—1995)属于通用型机械无级变速传动装置。它有基本型(P型)和大变速范围型(PS型为两级无级变速)两种,其派生型有多种,输出轴端与齿轮减速装置相连的称为PZ型,实质上是减变速器,传动比小于5时用齿轮传动,传动比大于11时用摆线针轮传动。输出轴端加装齿轮变速装置者称为PH型 下图所示为弹簧加压式多盘无级变速器的传动原理。变速器主要由锥形盘组3,T形盘组4、加压装置2和调速机构5等组成。一组(m片)锥形盘组3与n组(通常n=3)T形盘组4(每组m-1片)交错排列并分别套装在轴1和6上,由加压弹簧2(或凸轮)使它们相互压紧。摆动花键轴6端部装有齿轮7,分别与三个定轴齿轮12啮合,并通过定轴齿轮12与中心齿轮10啮合,将力传给输出轴9
图 弹簧加压式多盘无级变速器传动原理 1—输入轴;2—加压装置;3—锥形盘组;4—T形盘组;5—调速机构;6—摆动花键轴; 7—摆动齿轮;8—调速连杆机构;9—输出轴;10—中心齿轮;11—定轴;12—定轴齿轮 调速时,转动调速机构5的手轮,经调速连杆机构8使装有T形盘组的摆动轴6绕定轴11转动(这时轮12、7仍保持啮合),以改变轴1和6之间的中心距,从而改变了T形盘组和锥形盘组的接触半径,实现无级变速 大功率(转矩)多盘无级变速器采用凸轮自动加压装置,摩擦盘间的压紧力少量来自弹簧,由凸轮产生的压紧力是随着负载转矩的增减而呈正比地自动增减,因而承受过载和冲击的能力较强,滑动率较小 |

