|
变速原理 |
|
|
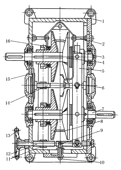
齿链式无级变速机构是依靠链条与链轮之间的啮合力和摩擦力传递动力的(图1)。它由一对伞状的主动链轮和一对同样的从动链轮所组成,在主动链轮与从动链轮之间借助于特殊的链条拖动,链条与链轮能在任何半径处相啮合,同时链条也在一对轮之间楔紧,因此传动的特征是既靠摩擦又靠啮合,故能得到稳定的速比 速度的变化是依靠链条在链轮表面上处在不同的半径处来得到的(图2)。借助于调速杠杆,使一对主动链轮分离时,从动链轮则互相靠近,这时链条在主动轮上的工作半径减小而在从动轮上的工作半径增大,输出轴转速则平稳地降低;反之,输出轴转速可以平稳地增加。因此,输出轴的转速决定于输入轴和输出轴上齿链与链轮啮合直径之比 |
|
|
图1 P型齿链式无级变速器结构(卧式) 1—底座;2—加压支架轴;3—加压架;4—链轮;5—调速杠杆; 6—右旋调速丝杆支架;7—传动轴;8—齿链;9—指针齿轮; 10—指针;11—左旋调速丝杆支架;12,14—调速丝杆; 13—手轮;15—调节盘;16—调节环 |
图2 工作半径与输出轴转速
|


