|
齿轮与蜗杆传动的润滑方法 |
|||
|
类别 |
润滑方式 |
特 点 及 应 用 |
|
|
开 式 齿 轮 传 动 |
涂抹润滑 |
用润滑脂或高黏度的润滑油(100℃时的运动黏度在53×10-6~150×10-6m2/s以上)涂抹在齿轮表面上,适用圆周速度υ≤4m/s。涂抹间隔时间根据实际情况给定 |
|
|
油盘润滑 |
在齿轮下方用一个浅油盘,使轮齿浸在油中,把油带入啮合面,一般适用圆周速度υ≤1.5m/s。换油期视周围环境而定,在没有灰尘的地方,约6个月换油一次,在多尘土与有潮气时,要2~4个月换一次 |
||
|
固体润滑 |
用二硫化钼在齿面上形成干膜,靠这层薄膜进行润滑,适用于要求不污染周围环境的轻载、小型齿轮及圆周速度υ≤0.5m/s。它的成膜方法有喷涂与挤压两种。在成膜后,要经常加二硫化钼润滑脂进行保膜 |
||
|
闭
式
齿
轮
传
动 |
浸油润滑 |
当齿轮圆周速度υ<12m/s时,采用浸油润滑(图a)。即将齿轮或其他辅助零件浸于减速器油池内,当其转动时,将润滑油带到啮合处,同时也将油甩到箱壁上借以散热,而部分油又落入箱内的油沟中去润滑轴承 齿轮浸入油中的深度见图b~d
在多级减速器中,应尽量使各级齿轮浸入油中的深度近于相等。若发生低速级齿轮浸油太深的情况,可采用图e~h所示的打油盘、惰轮、油环和齿轮下装设油盘等方式润滑 油池深度一般是齿顶圆到油池底面的距离,不应小于30~50mm,太浅时易搅动起沉积在箱底的油泥 油池的油量可按传递1kW功率为0.35~0.7L计算
|
|
|
油泵循环喷油润滑 |
当齿轮速度超过12~15m/s时,由于温度升高,需用油泵向齿面喷油(见图i、j),它不但起润滑作用,而且也起冷却的作用 |
||
|
|
喷油压力采用0.049~0.147MPa。低速时,油嘴可以朝切线方向,但在高速时,油嘴最好用两组,分别向着两个轮子的中心,在斜齿轮传动中,油嘴最好从侧面喷射 每分钟的循环油量应根据散热要求按表强制冷却的传动装置散热计算计算确定。经验数据为:周速10m/s时为(0.06~0.12)b(L/min);周速40m/s时为0.2b(L/min)(b为齿宽,mm) 油箱油量应不少于3~5min的用量 |
||
|
蜗
杆
传
动 |
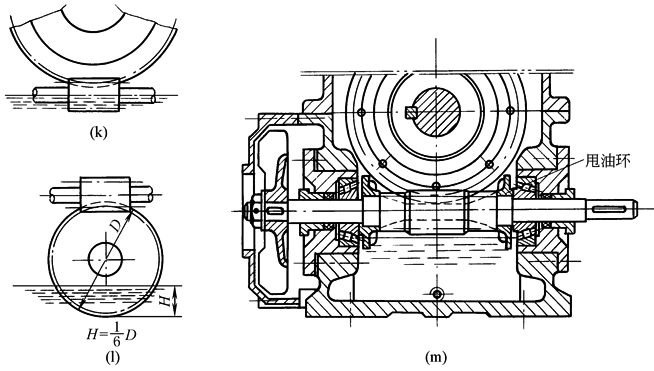
浸油润滑 |
适用于蜗杆圆周速度υ<10m/s。当υ≤4~5m/s时,建议蜗杆装在蜗轮的下面,浸入油中深度见图k;当υ>5m/s时,建议蜗杆装在蜗轮的上方,浸油深度见图l;蜗轮轴垂直,浸入油中的深度不小于蜗杆下方的齿高,当蜗杆浸不到油中时,可在蜗杆轴上安装甩油环,将油溅于蜗轮上(见图m),通常设有两个甩油环,以便在传动方向改变时保证得到润滑 油池深度和油池油量参照闭式齿轮传动的浸油润滑
|
|
|
油泵循环喷油润滑 |
适用于蜗杆圆周速度υ>10~12m/s,喷油压力为0.07MPa。当υ>15~25m/s时,喷油压力为0.147MPa 每分钟的循环油量应根据散热要求按表强制冷却的传动装置散热计算计算确定,油箱油量应不少于3~5min的用量
|
||





