|
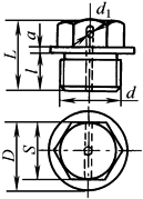
透气塞 mm |
|||||||
|
|
d |
D |
L |
l |
d1 |
a |
S |
|
M10×1 |
13 |
16 |
8 |
3 |
2 |
14 |
|
|
M12×1.25 |
16 |
19 |
10 |
4 |
2 |
17 |
|
|
M16×1.5 |
22 |
23 |
12 |
5 |
2 |
22 |
|
|
M20×1.5 |
30 |
28 |
15 |
6 |
4 |
22 |
|
|
M22×1.5 |
32 |
29 |
15 |
7 |
4 |
22 |
|
|
M27×2 |
38 |
34 |
18 |
7 |
4 |
27 |
|
|
M30×2 |
42 |
36 |
18 |
8 |
4 |
32 |
|
|
M33×2 |
45 |
38 |
20 |
8 |
4 |
32 |
|
|
M36×3 |
50 |
46 |
25 |
8 |
5 |
36 |
|
|
注:材料为Q235A·F。 |
|||||||

