|
齿轮径向综合误差、齿圈径向跳动、公法线长度和M值的测量 |
||||
|
(1)齿轮径向综合误差和齿圈径向跳动测量 |
①齿轮径向综合误差的测量 |
双啮综合测量 |
在渐开线齿轮生产中,普遍采用双啮仪测量齿轮径向综合误差。因为双啮仪的结构简单,操作方便,检测效率高,特别适合在生产现场检测8、9级以下精度的塑料齿轮径向综合误差F"i测量的要求 双啮综合测量比较接近被测齿轮的使用状态,能较全面地反映出齿轮的啮合质量。因此,F"i已成为这类加工精度较低齿轮,产、需双方都能接受的齿轮交验的主要检测手段 |
|
|
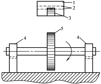
双啮仪的基本结构及工作原理 |
(a)双啮综合测量的基本工作原理图
(b)双啮一周误差F"i、一齿误差f "i示意图 左侧标准齿轮和右侧被测齿轮在弹簧的作用下,作无侧隙的啮合转动,两齿轮中心距的变化由千分表示出。被测齿轮转动一周范围内的最大变动量即为双啮一转误差F"i,如图b所示;同时也可测得齿轮的双啮一齿最大误差f "i 在双啮仪上检测渐开线齿轮F"i,需配备模数和压力角与受检齿轮相同的标准齿轮,其精度等级要求比被测齿轮高出国标2~3级 与蜗杆配对啮合的塑料斜齿轮,也可在双啮仪上检测F"i,这时需要用标准蜗杆来代替标准斜齿轮,更能接近蜗杆-斜齿轮的使用状态。但要求对双啮仪进行必要的改装,以便满足标准蜗杆-斜齿轮的交错轴系传动的要求。如果被检测的是蜗杆,可将被测蜗杆与标准斜齿轮视为一对螺旋齿轮,实现对蜗杆进行双啮误差F"i的检测 在双啮仪上测量齿轮、斜齿轮或蜗杆时,可采取手动或电动方式施加旋转运动,双啮误差可目测千分表或通过电测系统数显读数。后者电测化系统具有误差显示、打印和超差报警等多种功能 |
|||
|
②齿圈径向跳动的测量 |
径跳仪 |
对于计时仪器用圆弧齿轮,以及模数较小(m≤0.2mm)的渐开线齿轮已不适宜采用双啮仪检测。这类齿轮可在小模数齿轮跳动检查仪(简称径跳仪)上测量齿圈径向跳动误差Fr |
||
|
测量齿轮齿圈跳动的三种测头式样 |
在径跳仪上测量齿轮齿圈径向跳动误差Fr的测头,主要有如图所示三种方式。图c采用锥角为2α的锥形测头与齿槽固定弦接触测量;图d采用球形测头在分度圆处与齿廓接触测量[当变位系数x=0时,球头直径dp=(1.68-0.684x)m];图e采用平测头与齿顶圆接触测量。对于计时仪器用圆弧齿轮和m≤0.5mm的渐开线塑料齿轮,均适宜采用平测头检测齿顶跳动来替代齿圈径向跳动检测。其原因是齿轮型腔要求齿顶圆与齿圈一次加工成型,因此模塑成型的齿轮比较类似于采用顶切法滚齿加工的齿轮 |
|||
|
测量齿轮齿圈跳动的非接触测量法 |
模数特小(m<0.2mm)、两端轴颈特细的齿轮,已不适宜采用接触法测量齿圈跳动,这类齿轮可采用如图f所示的非接触法测量
(f) 1—投影屏;2—公差带;3—被测齿轮轮片齿顶影像;4—V形架;5—被测齿轮 这种非接触式径跳仪一直在国内外手表齿轮生产中,被广泛用来检测齿轮组件中的齿顶径跳测量。测量时,将齿轮组件安放在两“V”形架4上,用手捏吹气皮球使齿轮旋转,通过检测仪上方的小光学投影屏1,可目测到被测齿轮轮片齿顶影像3的径跳误差是否超出公差带2的范围。根据以上原理,可在普通光学投影仪上用来检测两端带轴颈的塑料齿轮组件的跳动误差。此时,需要改制一套带双V形块或双阴顶的支架安放齿轮轴颈,将投影样板安置在影屏的适当位置上,经过标准件校准后,即可采用气吹或手动来实现非接触式检测齿轮Fr |
|||
|
(2)公法线长度的测量方法与数据处理 |
相互啮合的两齿轮轮齿之间要有一定的侧隙,才能保证正常的传动。这种侧隙是通过控制两齿轮的分度圆弧齿厚来满足的。在齿轮生产中,是通过测量公法线长度得到齿轮精度指标中所规定的公法线长度变动量FW和侧隙指标中的公法线平均长度偏差 |
|||
|
测量方法 |
公法线长度测量方法有直接测量法和间接测量法。m≥0.5mm的渐开线齿轮可采用公法线长度千分尺进行直接测量;对于国标6级精度以上的精密齿轮可在测长仪上测量;对于塑料齿轮建议采用测力较小的杠杆公法线长度千分尺测量。测量时,两平行测量面接触于跨越齿数K之外侧异名齿廓分度圆附近,即可读取齿轮实际公法线长度。为了得到公法线长度的最大长度Wmax与最小长度Wmin,必须对整个齿圈轮齿进行逐齿测量,即可得到: FW=Wmax-Wmin 而 式中 W——公法线长度理论计算值 无法采用公法线千分尺直接测量内直齿轮和m<0.5mm渐开线外齿轮,可在大型工具显微镜、万能工具显微镜和光学投影仪上,通过光学刻划线对准两外侧异名齿廓相切点的方法测量公法线长度 |
|||
|
(3)M值的测量方法与评定 |
测量M值,在小模数齿轮生产中,是控制齿轮分度圆弧齿厚的另一种重要检测方法。特别是m<0.5mm、螺旋角较大和齿宽较小的斜齿轮、蜗杆和蜗轮以及内齿轮等。测量M值已成为控制这类齿轮弧齿厚,保证齿轮副啮合侧隙的重要检测手段。在塑料齿轮的生产中,采用M值测量要比公法线长度检测更为普遍。外直齿、斜齿渐开线齿轮的M值的计算与测量,如表M值的计算中图a所示 |
|||
|
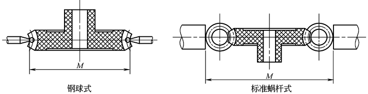
蜗杆的M值 |
(g)蜗轮M值测量示意图 蜗杆的M值测量,由计算法求得的M值,如图g左图所示,通过两钢球采用测长仪或千分尺进行直接测量。但在生产过程中,可以采用两标准蜗杆代替钢球,如图g右图所示,通过测长仪或千分尺直接测量两标准蜗杆大径间的跨距,来测量蜗轮M值。标准蜗杆参数的设计应保证与蜗轮的无侧隙啮合条件,两标准蜗杆大径之间的跨距M按下式求得: M=d+d'AVG+d"AVG 式中 d——蜗轮分度圆直径; d'AVG——两标准蜗杆分度圆直径实际尺寸的平均值; d"AVG——两标准蜗杆大径实际尺寸的平均值 |
|||
|
偶数齿齿轮和蜗杆M值 |
测量偶数齿齿轮和蜗杆M值时,应按模数大小和分度圆齿槽宽,选择两根直径相同的量柱,置于齿轮两个相对的齿槽中,要求量柱与两齿面在分度圆附近相接触。采用千分尺测量两量棒之间的最大跨距。测量m<0.5mm塑料齿轮和蜗杆M值时,建议采用杠杆千分尺,较小的稳定测力更加有利于保证测量精度 |
|||
|
奇数齿齿轮和蜗杆M值 |
奇数头齿轮和蜗杆的M值,采用三根量柱测量更加方便和可靠。采用三根量柱测量奇数齿齿轮M值,此时所测得的M ' 应按下式换算为两量柱计算所得的M值:
|
|||
|
内齿轮的M值 |
内齿轮的M值,可采用内测式千分尺测得两量柱间的跨距 为了得到最大M值与最小M值,必须对整个齿圈轮齿进行逐齿测量。M值的误差FM是由实测M实减去理论值M求得: FM=M实-M |
|||





