|
活齿传动工作原理 |
|
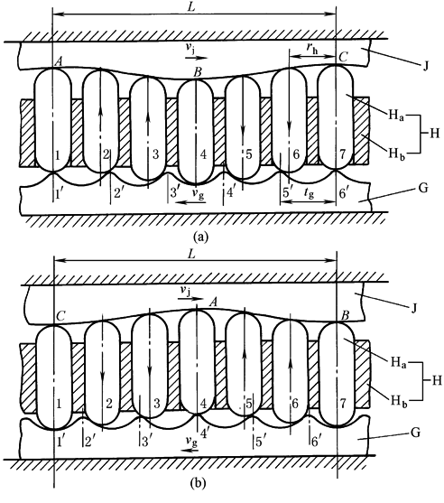
活齿传动由3个基本构件组成:激波器(J)、活齿齿轮(H)和固齿齿轮(G)。工作时,激波器周期性地推动可作往复运动的活齿,这些活齿与固齿齿廓的啮合点形成了蛇腹蠕动式的切向波,从而与固齿齿轮形成连续的驱动关系。这种切向波形成的条件是活齿与固齿的齿数不同,它们的齿距t不相等,即tg≠th。正是由于齿距不同,啮合时发生了“错齿运动”,这种相对运动使得活齿与固齿之间的传动成为可能 现以作直线运动的活齿传动模型,来说明这种“错齿运动”的发生过程,从而了解活齿传动的基本原理 作直线布置时,传动原理的机构模型如下图所示。此时,激波器J是凸轮板,活齿齿轮H是装有一组活齿的活齿架,固齿齿轮G是齿条 设L为激波器的一个波长,对应于此波长内的活齿齿数为zh,固齿齿数为zg。设计时取 zg=zh±1 式中 “+”——当H固定时,“+”表示J与G同向传动; “-”——当H固定时,“-”表示J与G反向传动
活齿传动原理的机构模型 J—激波器(凸轮板);H—活齿齿轮(Ha—活齿;Hb—活齿架);G—固齿齿轮(齿条) 上图所示为zg=zh-1时的情况。当如图a所示状态时,若活齿架Hb固定,凸轮板J若向右移动,则将逐一压下右边诸活齿,活齿的齿头推动齿条G向左移动;同时放松左边诸活齿,而正在向左移动的齿条的各个齿,分别将左边的活齿顶起,并贴近凸轮板。当凸轮板向右移动了L/2后,状态如图b所示。此时,若继续向右移动凸轮板,则将压下左边诸活齿,推动齿条继续向左移动,致使右侧诸活齿被齿条驱动而复位。即当连续不断地向右移动凸轮板时,每隔半个波长L/2,凸轮板就交替下压左边和右边的活齿,推动齿条连续不断地向左移动,反之亦然。啮合是连续、重叠而交替进行的,所以不存在死点 可以看出,当凸轮板移动一个波长L时,活齿与固齿之间错动一个齿,即齿条移动了一个齿距tg,这就是错齿运动 因此,由上图可以得出J与G之间的传动比iJG为
同理,当齿条固定时,凸轮板移动一个波长L时,活齿与固齿之间同样错动一个齿,即活齿架移动了一个齿距th,因此可以得出J与H之间的传动比iJH为
上述活齿传动的三个基本构件,任意固定其中一件,则其他两件可互为主、从动件。三件间也可形成差动传动 |

