|
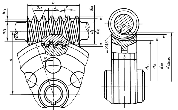
圆柱蜗杆传动的几何尺寸计算 |
|||||||||
|
|
|||||||||
|
项 目 |
计 算 公 式 及 说 明 |
||||||||
|
蜗杆轴向模数(蜗轮端面模数)m |
按表圆柱蜗杆传动强度计算和刚度验算中表1的强度条件或用类比法确定,并应符合表主要参数中表1数值;或表蜗杆的基本尺寸和参数、表ZC1蜗杆基本尺寸和参数数值;当按结构设计时,
|
尺寸z1、z2和q值,推荐按表蜗杆、蜗轮参数的匹配或表ZC1蜗杆蜗轮啮合参数搭配或表ZC3蜗杆的基本齿廓及蜗杆蜗轮啮合参数搭配选取 |
|||||||
|
传动比i |
|
||||||||
|
蜗杆头数z1 |
一般取z1=1~4 |
||||||||
|
蜗轮齿数z2 |
z2=iz1 |
||||||||
|
蜗杆直径系数(蜗杆特性系数)q |
|
||||||||
|
蜗轮变位系数x2 |
对普通圆柱蜗杆传动,一般取-1≤x2≤1; 对圆弧圆柱蜗杆传动,一般取x2=0.5~1.5,推荐取x2=0.7~1.2 |
||||||||
|
中心距a |
a=(d1+d2+2x2m)/2;标准系列值见表主要参数中表2 |
||||||||
|
蜗杆分度圆柱导程角γ |
|
||||||||
|
蜗杆节圆柱导程角γ' |
|
||||||||
|
蜗杆轴向齿形角α |
阿基米德圆柱蜗杆 α=20° tanαn=tanαcosγ |
渐开线圆柱蜗杆,法向直廓圆柱蜗杆,锥面包络圆柱蜗杆
|
|||||||
|
蜗杆(轮)法向齿形角αn |
|||||||||
|
顶隙c |
c=c*m,一般顶隙系数c*=0.2,ZC1蜗杆c*=0.16 |
||||||||
|
蜗杆、蜗轮齿顶高ha1、ha2 |
|
||||||||
|
蜗杆、蜗轮齿根高hf1、hf2 |
|
||||||||
|
蜗杆、蜗轮分度圆直径d1、d2 |
d1=q·m;d2=m·z2=2a-d1-2x2m |
||||||||
|
蜗杆、蜗轮节圆直径d'1、d'2 |
|
||||||||
|
蜗杆、齿顶圆直径da1、蜗轮喉圆直径da2 |
da1=(q+2)m;da2=(z2+2+2x2)m da1=d1+2ha1=d1+2ha*m;da2=d2+2ha2 |
||||||||
|
蜗杆、蜗轮齿根圆直径df1、df2 |
df1=d1-2hf1;df2=d2-2hf2 |
||||||||
|
蜗杆轴向齿距px |
px=πm |
||||||||
|
蜗杆轴向齿厚sx |
普通圆柱蜗杆 sx=0.5πm;圆弧圆柱蜗杆sx=0.4πm |
||||||||
|
蜗杆法向齿厚sn |
sn=sxcosγ |
||||||||
|
蜗杆分度圆法向弦齿高 |
|
||||||||
|
蜗杆螺纹部分长度b1 |
普通圆柱蜗杆:z1=1,2时b1≥(12+0.1z2)m z1=3,4时b1≥(13+0.1z2)m ZC1蜗杆: ZC3蜗杆:当x2<1,z1=1,2时b≥(12.5+0.1z2)m 当x2≥1,z1=1,2时b1≥(13+0.1z2)m 当x2<1,z1=3,4时b1≥(13.5+0.1z2)m 当x2≥1,z1=3,4时b1≥(14+0.1z2)m |
||||||||
|
蜗轮最大外圆直径da2max |
|
z1 |
1 |
2、3 |
4 |
圆弧圆柱蜗杆 |
|
||
|
da2max≤ |
da2+2m |
da2+1.5m |
da2+m |
da2+m |
|||||
|
蜗轮轮缘宽度b2 |
b2=(0.67~0.75)da1。z1大,取小值;z1小,取大值 |
||||||||
|
蜗轮咽喉母圆半径rg2 |
|
||||||||
|
蜗轮齿根圆弧半径rf2 |
rf2=0.5da1+0.2m |
||||||||

