|
锥齿轮支承结构 |
|||||||
|
支承方式 |
简 图 |
特点与应用 |
结构参数与轴承配置 |
||||
|
小齿轮 |
大齿轮 |
||||||
|
悬臂式 |
悬臂式 |
|
支承刚性差,但结构简单,装拆方便。用于一般中、轻载传动 |
悬
臂
式 |
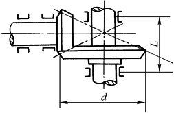
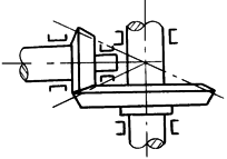
轴承距离L≥2a 且L>0.7d 轴 径D>a 轴挠度y<0.025mm 轴承应采用轴套装入机壳内(图1),便于调整。圆锥滚子轴承应背靠背布置,以增大轴承支反力作用点间的距离,提高轴的刚度。曲线齿和斜齿锥齿轮正反转时可能产生两个方向的轴向力,因此,需有两个方向的轴向锁紧(图2) |
||
|
悬臂式 |
简支式 |
|
支承刚性好,结构较复杂,装拆较繁。多用于中、轻载传动,尤其是径向力Fr2>Fr1(不计方向)的情况 |
||||
|
简支式 |
悬臂式 |
|
支承刚性好,结构较复杂,装拆较繁。多用于中、轻载传动,尤其是径向力Fr1>Fr2(不计方向)的情况 |
简
支
式 |
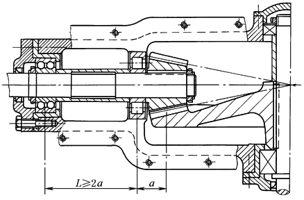
轴承距离:L>0.7d但应紧凑 轴挠度:y<0.025mm 小齿轮一端通常采用径向轴承支承径向力,而另一端轴承支承径向力和轴向力(图3)。轴承可直接装入机壳内或用轴套装入机壳。大齿轮宜用面对面布置的圆锥滚子轴承(图4),以减小轴承支反力作用点间的距离,增加轴的刚度。轴承的距离应足够大,以供给调整齿轮用的空间。曲线齿和斜齿锥齿轮同样需有两个方向的轴向锁紧 |
||
|
简支式 |
简支式 |
|
支承刚性最好,结构复杂,装拆不便。用于重载和冲击大的传动 |
||||
|
图1 |
图2 |
||||||
|
图3 |
图4 |
||||||








