|
低摩擦气缸 |
||
|
密封结构 |
低摩擦气缸如图a所示,缸内的密封圈和活塞杆的密封圈与普通型气缸(见表高速气缸与低速气缸)相比,有很大的不同。密封圈与缸筒的接触面非常狭小,密封件的材质、润滑油脂与标准气缸有所不同,可采用氟橡胶材质的密封件及KLUBER公司生产的特殊油脂,确保低摩擦 |
|
|
技术特性 |
低摩擦气缸的特性是在确保不产生泄漏的条件下,尽量减少气缸的启动压力,它的特性并不表现在低速、恒速运行,而是表示气缸活塞的低摩擦阻力,灵敏的跟随能力,低的启动压力。在表高速气缸与低速气缸中可以看到低摩擦气缸的启动压力比标准气缸低一倍左右,在小缸径方面(如f 32mm、f 40mm时),它的启动压力比标准气缸要低得多。如此低的启动压力能使气缸在任何时刻启动均具有灵敏的跟随特性。低摩擦气缸的低摩擦及灵敏的跟随特性,在气动伺服系统、纺织机、纺纱机、造纸机械中的应用非常重要。低摩擦气缸的另一个特性是气缸的摩擦力不会随着工作压力的变化而产生大的波动(见图b) |
|
|
应用实例 |
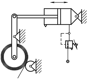
在纸张、纺织等许多卷绕行业应用中,由于气缸活塞在两侧压力相差很小的情况下仍能运动,表示此时活塞杆产生的推力或拉力均很小,使纸张、薄膜等产品在卷绕过程中不会被拉断。图c是低摩擦气缸在造纸行业上应用。当大卷筒的纸越卷越大时,单作用气缸活塞向右移动,由于该气缸采用单作用型式,活塞的另一端不是采用弹簧复位,而是采用精密减压阀,设定一个恒定的低压,使气缸另一侧既有背压,两侧压力又相差甚微,即相当于气缸低摩擦力,并使这个摩擦力趋于一个常量,避免纸张在卷绕过程中被拉断。低摩擦气缸的调速不应采用排气节流方式,排气节流将在活塞背部产生背压,使摩擦阻力加大 |
(c)低摩擦气缸在纸张卷绕上应用 |



