|
摩擦轮结构 |
|
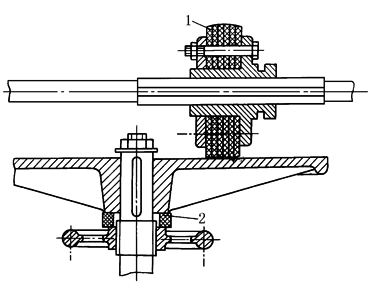
四种常用的摩擦轮结构如图1~图4所示。这里要注意轮缘及有非金属材料覆面层的结构特点,至于轮芯部分一般用铸铁或钢材制造,轮辐及轮毂部分的结构设计类似于带轮及齿轮 图5所示的行星摩擦轮传动中,适当增多围绕太阳轮布置的行星摩擦轮,使总圆周力分配在更多的接触部位上,以增大传动功率。由于各摩擦轮上的法向力相互平衡,不会增加轴承的载荷。由淬硬钢制造的滚动体起着支承和导向作用,工作平稳性很好
图1 圆柱摩擦轮结构 图2 圆锥摩擦轮结构
图3 圆柱槽形摩擦轮结构 图4 端面摩擦轮结构 1—皮革;2—弹性垫
图5 行星摩擦轮传动 (P≤100kW,υ≤50m/s,i≤10) 1—内摩擦轮;2—行星摩擦轮;3—太阳摩擦轮;4—压紧装置 图6所示为洗涤机,12个橡胶摩擦轮中左侧6个起支承作用,右侧6个则起到驱动与支承洗涤筒的双重作用,压紧力由洗涤筒及洗涤物的重量产生,因此圆周力取决于被洗涤物料的重量
12个圆柱形橡胶摩擦轮,其中6个由电机拖动,每3个配一台电机, 液压离合器补偿滚动半径差,并确保平稳地启动 图6 洗涤筒摩擦轮传动装置 1—导向凸缘;2—洗涤筒;3—充装物料;4—齿轮传动;5—带传动;6—支承和传动摩擦轮; 7,10—轴向导轮;8—支承轮;9—电机,各20kW;11—带有V带轮的液压离合器 |






