|
公称直径16~63mm滚珠丝杠固定式支承单元轴承组合型式 |
||
|
支承单元轴承组合型式 |
简图 |
说明 |
|
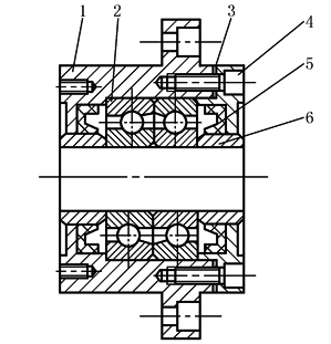
DF型 成对面对面安装两套配置 |
|
1—外罩; 2—轴承; 3—压盖; 4—预压固定螺栓; 5—防尘密封圈; 6—隔圈 |
|
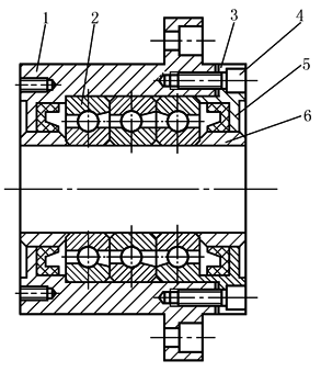
TFT型 两套串联和一套面对面三套配置 |
|
|
|
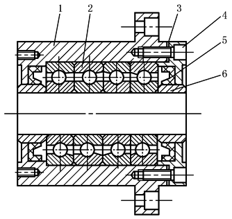
QFC型 成对串联、面对面安装四套配置 |
|
|
|
注:隔圈及橡胶密封圈型式尺寸参见表隔圈及橡胶密封圈型式尺寸。 |
||



