|
结构 |
|
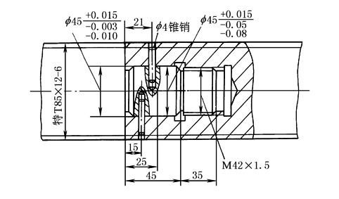
因受加工或热处理设备(井式炉)的长度限制,以及考虑加工过程中搬运的方便,可将螺杆分成几段制造,最后装配成接长螺杆。此外,加工较短的螺杆易于达到较高的精度,故为了获得高精度,也采用接长螺杆,这时要求接头处的配合部位达到较高的精度。图1所示为实心接长螺杆的接头部分
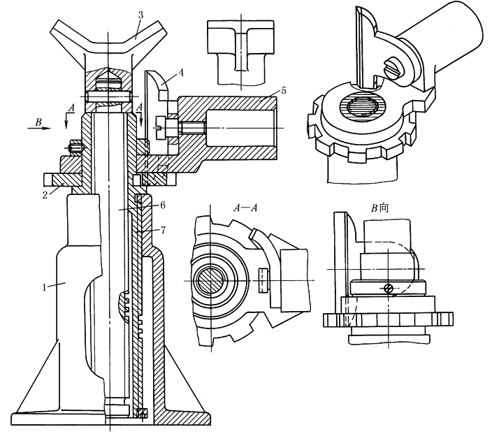
图1 实心接长螺杆的接头部分 螺母大多数为整体结构。细长螺杆水平位置工作时,为了防止产生过大的弯曲变形而采用中间托架,中间托架与螺杆外圆接触弧的中心角不大于180°时,使用半螺母可以通行无阻 螺杆的支承方式主要有两种:一种用于短螺杆,其两个方向的推力轴承都装在一端,另一端为自由无约束状态;另一种是两个方向的推力轴承装在一端,另一端为向心轴承,这种支承方式的工况较好,设计时应优先采用。螺杆的径向支承多采用铜套、铸铁套、粉末冶金套,因为一般螺杆的速度较低,径向载荷不大且尺寸较小 图2~图4所示为各种传动螺旋的应用与结构实例。图2所示为千斤顶结构图,图a为旋转螺杆起重;图c为旋转螺母起重,螺杆不转动,这种结构可使底座高度降低,也可在套的下面放一推力滚动轴承(图b),减小摩擦力,使操作省力。图4所示为双螺杆千斤顶,螺杆6和螺杆7的外螺纹方向相反,螺杆6只作上下移动,不能转动,当推动手柄时,双螺杆同时上升或下降,手柄转一周,重物起升两个螺距,上升速度快,因此这种起重器的底座较低,图中采用偏心爪推动棘轮转动,如要反向时,将爪扳转180°即可
1—托杯;2—手柄;3—螺母; 1—螺杆;2—托架;3—螺母;4—套; 4—底座;5—螺杆 5—手柄;6—底座 图2 千斤顶结构
图3 带棘轮的千斤顶 1—底座;2—螺杆;3—螺母;4—变向机构;5,7—棘轮;6,8—棘爪
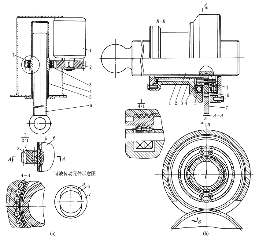
图4 双螺杆千斤顶 1—底座;2—棘轮;3—托架;4—棘爪;5—手柄;6,7—螺杆 图5为两种新型的谐波螺旋传动,该传动中螺母设计成柔性件,螺杆设计成刚性元件,兼有谐波齿轮传动及螺旋传动的特点,速比大,结构紧凑,且效率较高
1—电机;2—主动齿轮;3—柔性滚动轴承;4—箱体; 1—箱体;2—刚性件(螺杆);3—柔性件(螺母); 5—柔性件(螺母);6—刚性件(螺杆);7—从动齿轮 4—谐波发生器;5—滚动轴承;6,7—齿轮 图5 谐波螺旋传动 |





