|
空气弹簧的应用实例 |
|
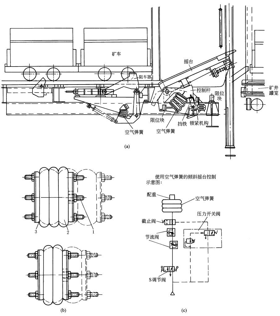
(1)空气弹簧在矿井进罐摇台上的应用 图1为使用空气弹簧控制的矿井提升罐笼用进罐摇台。取消了配重,使配置结构尺寸紧凑;摇台台面由空气弹簧控制,很平稳;台面下降时靠自重,空气弹簧起缓冲作用;倾斜摇台被充入压力的空气弹簧(并起伸缩汽缸作用)抬起并保持在最高的位置上,终端位置由一机械挡铁限制住,并由另外一锁紧机构加以保险;锁紧机构也同样由一空气弹簧控制。要求倾斜摇台下降时,空气弹簧通过一可调节流阀排气,倾斜摇台靠自重将空气弹簧压紧并降至罐笼层。在摇台放平时,如果罐笼还应向上抬起时,因摇台与控制杠杆没有紧固地连接在一起,摇台的台面可再次抬起,空气弹簧保持无压,直至倾斜摇台台面重新抬起时再通气
图11-18-12 空气弹簧在矿井进罐摇台上的应用 1—上底和下底板,带有不锈钢螺栓和压缩空气接头;2—空气弹簧以及空气弹簧间的耐腐蚀垫圈; 3—将空气弹簧固定在底板上的零件 (2)空气弹簧在车辆悬挂装置中的应用 图2为车辆悬挂装置中的空气弹簧应用简图。空气弹簧悬挂系统主要由空气弹簧本体、空气弹簧悬挂的减振阻尼和高度控制阀系统三部分组成。其工作原理为:车体1和转向架2之间的空气弹簧4,通过节流孔5与附加空气室3沟通。用风管将附加空气室与高度控制阀8连接。高度控制阀固定在车体上,并通过杠杆6和拉杆7与转向架2连接,空气经主汽缸引至高度控制阀
图2 空气弹簧在车辆悬挂装置中的应用 1—车体;2—转向架;3—附加空气室;4—空气弹簧;5—节流孔;6—杠杆;7—拉杆;8—高度控制阀 假如空气弹簧上的载荷增加,这时车体将下降,并且高度控制阀的杠杆在拉杆的作用下按顺时针方向转动,因此与主汽缸连接的高度控制阀的进气阀打开,空气开始流入附加空气室和空气弹簧,一直到车体升高到原来位置为止。于是杠杆恢复到原来水平位置,并且高度控制阀的进气阀被关闭 假如空气弹簧上的载荷减少,这时车体将上升,而高度控制阀的杠杆按反时针方向转动,通大气的高度控制阀的排气阀被打开,空气从空气弹簧和附加空气室排出,一直到车体降到原来的位置,排气阀被关闭 所以在高度控制阀的作用下,空气弹簧的高度可以保持不变。如果阀中再设置一个油压减振器和一个缓冲弹簧,起滞后作用,则可以使高度控制阀对动载荷没有反应,只在静载荷变化时才起作用。这样可以避免车辆在运行时空气的消耗 (3)空气弹簧在压力机上防振装置中的应用 图3为空气弹簧在压力机上防振装置中的应用简图
图3 空气弹簧在压力机上防振装置中的应用 1—压力机机体;2—减振器;3—台架;4—空气弹簧 |



