嘉立创PCB
PCB、FPC制造服务
嘉立创SMT
一站式PCBA服务平台
嘉立创激光钢网治具
激光钢网&治具制造
立创商城
一站式元器件采购自营商城
嘉立创FA
机械/电气零部件一站式商城
嘉立创3D打印
树脂、尼龙、金属3D打印服务
嘉立创CNC机械智造
机加件一件起订,3天交货
嘉立创EDA
国产PCB设计工具
嘉立创CAM
国产线路板CAM软件
Forface 3D
SaaS化3D技术服务平台
硬创社
好玩的硬件交流社区
供应商合作
一站式阳光采购平台
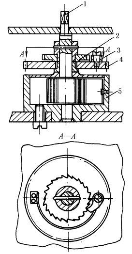
典型结构及应用实例
发条盒转动
发条轴转动
1—轴;2—棘轮;3—棘爪;4—条盒
1—轴;2—棘轮;3—棘爪;4—齿轮;5—条盒
< 上一篇:
螺旋形发条弹簧计算示例
下一篇:
S形发条弹簧计算公式 >