|
截锥螺旋弹簧应用实例 |
|
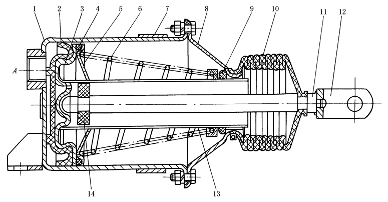
图1 在汽车活塞式制动室的应用 1—壳体;2—橡胶皮碗;3—活塞体;4—密封圈;5—弹簧座;6—弹簧;7—气室固定卡箍; 8—盖;9—毡垫;10—防护套;11—推杆;12—连接叉;13—导向套筒;14—密封垫
图2 东风EQ140型汽车变速器倒挡锁 1—倒挡锁销;2—倒挡销弹簧;3—倒挡拨块;4—变速杆 |
|
截锥螺旋弹簧应用实例 |
|
图1 在汽车活塞式制动室的应用 1—壳体;2—橡胶皮碗;3—活塞体;4—密封圈;5—弹簧座;6—弹簧;7—气室固定卡箍; 8—盖;9—毡垫;10—防护套;11—推杆;12—连接叉;13—导向套筒;14—密封垫
图2 东风EQ140型汽车变速器倒挡锁 1—倒挡锁销;2—倒挡销弹簧;3—倒挡拨块;4—变速杆 |