|
圆柱螺旋拉伸弹簧 |
|
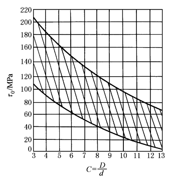
拉伸弹簧的拉力、变形和强度计算与压缩弹簧基本相同,两者只是受力、变形和应力的方向相反。因此,压缩弹簧的基本计算公式同样可以应用于拉伸弹簧 密圈螺旋拉伸弹簧在冷卷时形成的内力,其值为弹簧开始产生拉伸变形时所需要加的作用力,为拉伸弹簧的初拉力。初拉力与材料的种类、性能、直径和弹簧的旋绕比、耳环的型式、长短以及弹簧的加工方法都有直接的关系,用冷拔成形并经过强化处理的钢丝且经冷卷成形后的拉伸密圈弹簧,都有一定的初拉力。不锈弹簧钢丝与碳素弹簧钢丝制成的弹簧比较,初拉力要小12%左右;弹簧消应力回火处理的温度越高,初拉力越小;制成弹簧需要经热处理淬火的拉伸弹簧就没有初拉力 初拉力 式中,τ0是拉弹簧的初切应力。初切应力是一个与弹簧的旋绕比有关系的值,可以在图1中查取 拉伸弹簧在拉伸时,钩环在A、B处(图2)承受最大弯曲应力及初应力。对重要的拉伸弹簧,其应力可按下式分别计算:
图1 初应力图 图2 拉簧钩环受力图 |



