|
圆柱螺旋压缩弹簧的应用实例 |
|
1)图1为矿井单绳提升罐笼齿爪式防坠器。矿井罐笼上下升降正常工作时,弹簧2受到压缩,齿爪10总是张开的,当与主吊杆相连的钢绳或主吊杆本身破断时,被压缩的弹簧自动伸张,将能量释放驱动横担6,带动齿爪10转动,使齿爪卡入罐道木11,在罐笼载荷作用下,齿爪卡入罐道木的深度逐渐加深,直至罐笼被制动悬挂在罐道木上。这是利用弹簧被压缩时储存的能量驱动机构的应用
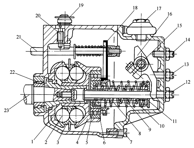
图1 矿井单绳提升罐笼齿爪式防坠器 1—主吊杆;2—弹簧;3—支承翼板;4—弹簧套筒;5—罐笼主梁;6—横担; 7—连杆;8—杠杆;9—轴;10—齿爪;11—罐道木 2)图2是组合弹簧在汽车喷油泵的机械离心式全速调速器中的应用。内弹簧安装时略有预紧力,以适应低转速时调速的需要,故称怠速弹簧8。中弹簧安装呈自由状态,在端头留有2~3mm的间隙,柴油机高速运转时,内弹簧和中弹簧一起作用,因此中弹簧称作高速弹簧9。外弹簧在柴油机启动时,起着加浓油量的作用,有利于启动,故称作启动弹簧10。柴油机启动时,首先是启动弹簧起作用,使油量加浓,利于启动。低速运转时,外弹簧和内弹簧同时起作用。在高速运转时,三根弹簧同时起作用,由于中弹簧的弹簧力最大,高速运转时,主要是中弹簧起作用
图2 组合弹簧在机械离心式全速调速器中的应用 1—传动斜盘;2—飞球;3—球座;4—推力盘;5—轴承座;6—前弹簧座;7—放油螺钉;8—怠速弹簧; 9—高速弹簧;10—启动弹簧;11—后弹簧座;12—调节杆;13,14—调节螺钉;15—轴;16—调速叉; 17—螺塞;18—传动板;19—手柄;20—限位螺钉;21—供油杆;22—传动轴套;23—喷油泵凸轮轴 |


