|
泵用焊接金属波纹管机械密封(JB/T 8723—1998) |
|||||||||||||||||||||||||||||||||||||||
|
表1 密封适用范围 |
|||||||||||||||||||||||||||||||||||||||
|
名 称 |
型号 |
工作压力/MPa |
工作温度 /℃ |
速 度 |
轴径 /mm |
介 质 |
|||||||||||||||||||||||||||||||||
|
单层 波片 |
双层 波片 |
/m·s-1 |
/r·min-1 |
||||||||||||||||||||||||||||||||||||
|
内装、单端面、旋转式、平垫密封、法兰连接波纹管机械密封 |
J111 |
0~2 |
0~3.5 |
-75~260 |
≤25 |
≤4500 |
30~120 |
油类、轻烃、芳烃、有机溶剂、弱酸、碱液、水、氨水等清洁的或含颗粒的流体 |
|||||||||||||||||||||||||||||||
|
内装、单端面、静止式、平垫密封、法兰连接波纹管机械密封 |
J112 |
0~2 |
0~3.5 |
-75~260 |
≤50 |
≤8000 |
30~100 |
||||||||||||||||||||||||||||||||
|
内装、单端面、旋转式、填料密封、紧定螺钉连接波纹管机械密封 |
J113 |
0~2 |
0~3.5 |
-75~260 |
≤25 |
≤4500 |
20~120 |
||||||||||||||||||||||||||||||||
|
内装、单端面、静止式、角形圈密封、夹固连接波纹管机械密封 |
J114 |
0~2 |
0~3.5 |
-75~260 |
≤50 |
≤8000 |
30~100 |
||||||||||||||||||||||||||||||||
|
内装、单端面、旋转式、填料密封、内拨叉传动波纹管机械密封 |
J115 |
0~2 |
0~3.5 |
-75~260 |
≤25 |
≤4500 |
20~100 |
||||||||||||||||||||||||||||||||
|
内装、单端面、旋转式、O形圈密封、防扭套传动波纹管机械密封 |
J123 |
0~2 |
0~3.5 |
-20~180 |
≤25 |
≤4500 |
30~100 |
||||||||||||||||||||||||||||||||
|
密封性能要求 (1) 泄漏量 a.现场使用及运转试验的平均泄漏量,按表2规定 b.静压试验的平均泄漏量不超过运转试验的1/3 (2) 磨损量 用清水介质做运转试验,时间为100h,任一密封环磨损量应不大于0.02mm (3) 使用期 使用期不少于4000h,特殊工况例外 表2 |
|||||||||||||||||||||||||||||||||||||||
|
轴 径 d /mm |
转 速 n /r·min-1 |
压 力 p /MPa |
平均泄漏量Q/mL·h-1 |
||||||||||||||||||||||||||||||||||||
|
运转试验 |
现场使用 |
||||||||||||||||||||||||||||||||||||||
|
≤50 |
≤3000 |
0~2 |
≤3 |
≤8 |
|||||||||||||||||||||||||||||||||||
|
2~5 |
≤5 |
||||||||||||||||||||||||||||||||||||||
|
≤6000 |
0~2 |
≤7 |
≤12 |
||||||||||||||||||||||||||||||||||||
|
2~5 |
≤10 |
||||||||||||||||||||||||||||||||||||||
|
>50 |
≤3000 |
0~2 |
≤5 |
≤10 |
|||||||||||||||||||||||||||||||||||
|
2~5 |
≤7 |
≤15 |
|||||||||||||||||||||||||||||||||||||
|
≤6000 |
0~2 |
≤10 |
|||||||||||||||||||||||||||||||||||||
|
2~5 |
≤15 |
≤18 |
|||||||||||||||||||||||||||||||||||||
|
波纹管机械密封材料选用要求 1)输送介质温度在不高于-20℃、不低于200℃时,密封环座材料应优先采用高镍合金 2)在介质有结晶、易结焦或含颗粒时,摩擦副应采用硬-硬材料配对 3)辅助密封材料在输送介质温度不低于200℃时,应优先采用柔性石墨;当介质有腐蚀性时,应慎用金属垫片 4)波纹管座材料性能不得低于铬镍钢的性能 5)波纹管组件常用材料应符合表3,特殊工况时材料由制造厂与用户协商确定,但应符合标准规定 |
|||||||||||||||||||||||||||||||||||||||
|
表3 波纹管组件常用材料及适用工况 |
|||||||||||||||||||||||||||||||||||||||
|
输送介质 温度/℃ |
波纹管组 件材料代号 |
适 用 介 质 |
说 明 |
||||||||||||||||||||||||||||||||||||
|
密封环材料 |
代号 |
辅助密封材料 |
代号 |
||||||||||||||||||||||||||||||||||||
|
-20~200 |
AEG BFG BGG BEG UEG |
清洁、无腐蚀或弱腐蚀介质 |
浸金属石墨 |
A |
氟橡胶 |
V |
|||||||||||||||||||||||||||||||||
|
浸树脂石墨 |
B |
工业纯铝 |
L |
||||||||||||||||||||||||||||||||||||
|
碳化硅 |
O |
纯铜 |
O |
||||||||||||||||||||||||||||||||||||
|
硬质合金 |
U |
波纹管和其他材料 |
代号 |
||||||||||||||||||||||||||||||||||||
|
AEY UEY |
清洁、无腐蚀介质 |
硬质喷涂层 |
P |
||||||||||||||||||||||||||||||||||||
|
辅助密封材料 |
代号 |
铬钢 |
E |
||||||||||||||||||||||||||||||||||||
|
UFG UGG |
有颗粒、无腐蚀或弱腐蚀介质,碱液 |
||||||||||||||||||||||||||||||||||||||
|
柔性石墨 |
C |
铬镍钢 |
F |
||||||||||||||||||||||||||||||||||||
|
-75~200 |
BMH |
清洁、无腐蚀或弱腐蚀介质 |
乙丙橡胶 |
E |
铬镍钼钢 |
G |
|||||||||||||||||||||||||||||||||
|
丁腈橡胶 |
P |
镍基高温合金 |
H |
||||||||||||||||||||||||||||||||||||
|
-75~400 |
AMY UMY |
有颗粒、无腐蚀介质 |
|||||||||||||||||||||||||||||||||||||
|
硅橡胶 |
S |
低膨胀合金 |
M |
||||||||||||||||||||||||||||||||||||
|
AMH |
清洁、无腐蚀或弱腐蚀介质 |
聚四氟乙烯或填充聚四氟乙烯 |
T |
钛合金 |
T |
||||||||||||||||||||||||||||||||||
|
UMH |
有颗粒、无腐蚀或弱腐蚀介质 |
|
|
沉淀硬化钢 |
Y |
||||||||||||||||||||||||||||||||||
|
波纹管机械密封 标记方法:
标记示例:内装、单端面、旋转式填料密封、紧定螺钉连接波纹管机械密封;安装轴径为70mm(070);非补偿环材料为硬质合金(U)密封环;波纹管组件材料为:浸树脂石墨(B)密封环、铬钢(E)环座、铬镍钼钢(G)波纹管;辅助密封材料为柔性石墨(C);其他材料为铬镍钢(F)。标记为 J113-070/UBEGCF |
|||||||||||||||||||||||||||||||||||||||
|
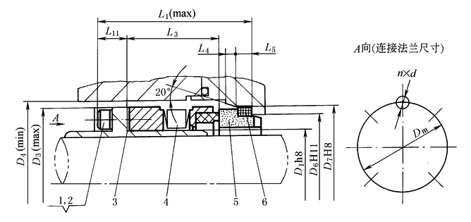
J111型波纹管机械密封主要尺寸 |
|||||||||||||||||||||||||||||||||||||||
|
1—内六角螺钉;2—垫圈;3—平垫片;4—波纹管组件;5—静环;6—静环密封圈 表4 mm |
|||||||||||||||||||||||||||||||||||||||
|
公称 直径 |
D1 |
D3 (max) |
D4 (min) |
D6 |
D7 |
L1 (max) |
L3 |
L4 |
L5 |
L11 |
n |
d |
Dm |
||||||||||||||||||||||||||
|
30 |
30 |
47 |
49 |
39 |
45 |
51 |
此 尺 寸 不 作 规 定 , 各 制 造 厂 可 根 据 有 关 资 料 选 取 |
2 |
5 |
9 |
8 |
4.5 |
40 |
||||||||||||||||||||||||||
|
35 |
35 |
51 |
53 |
44 |
50 |
51 |
2 |
5 |
9 |
8 |
4.5 |
44 |
|||||||||||||||||||||||||||
|
40 |
40 |
62 |
65 |
51 |
58 |
65 |
2 |
5 |
12 |
6 |
6.5 |
52 |
|||||||||||||||||||||||||||
|
45 |
45 |
67 |
70 |
56 |
63 |
68 |
2 |
6 |
12 |
6 |
6.5 |
56 |
|||||||||||||||||||||||||||
|
50 |
50 |
72 |
75 |
62 |
70 |
68 |
2.5 |
6 |
12 |
6 |
6.5 |
62 |
|||||||||||||||||||||||||||
|
55 |
55 |
78 |
83 |
67 |
75 |
73.5 |
2.5 |
6 |
12 |
6 |
6.5 |
67 |
|||||||||||||||||||||||||||
|
60 |
60 |
83 |
88 |
72 |
80 |
73.5 |
2.5 |
6 |
12 |
6 |
6.5 |
72 |
|||||||||||||||||||||||||||
|
65 |
65 |
88 |
93 |
77 |
85 |
73.5 |
2.5 |
6 |
12 |
6 |
6.5 |
76 |
|||||||||||||||||||||||||||
|
70 |
70 |
97 |
102 |
83 |
92 |
73.5 |
2.5 |
7 |
12 |
6 |
6.5 |
84 |
|||||||||||||||||||||||||||
|
75 |
75 |
99 |
104 |
88 |
97 |
76.5 |
2.5 |
7 |
12 |
6 |
6.5 |
88 |
|||||||||||||||||||||||||||
|
80 |
80 |
104 |
109 |
95 |
105 |
76.5 |
3 |
7 |
12 |
6 |
6.5 |
91 |
|||||||||||||||||||||||||||
|
85 |
85 |
109 |
114 |
100 |
110 |
76.5 |
3 |
7 |
12 |
6 |
6.5 |
97 |
|||||||||||||||||||||||||||
|
90 |
90 |
115 |
120 |
105 |
115 |
78.5 |
3 |
7 |
12 |
6 |
6.5 |
103 |
|||||||||||||||||||||||||||
|
95 |
95 |
121 |
124 |
110 |
120 |
78.5 |
3 |
7 |
12 |
8 |
6.5 |
110 |
|||||||||||||||||||||||||||
|
100 |
100 |
124 |
129 |
115 |
125 |
78.5 |
3 |
7 |
12 |
8 |
6.5 |
113 |
|||||||||||||||||||||||||||
|
105 |
105 |
133 |
138 |
120 |
130 |
78.5 |
3 |
7 |
12 |
8 |
6.5 |
116 |
|||||||||||||||||||||||||||
|
110 |
110 |
138 |
143 |
125 |
136 |
78.5 |
3 |
7 |
12 |
12 |
6.5 |
125 |
|||||||||||||||||||||||||||
|
115 |
115 |
143 |
148 |
130 |
141 |
78.5 |
3 |
7 |
12 |
12 |
6.5 |
127 |
|||||||||||||||||||||||||||
|
120 |
120 |
148 |
153 |
135 |
146 |
78.5 |
3 |
7 |
12 |
12 |
6.5 |
135 |
|||||||||||||||||||||||||||
|
J112型波纹管机械密封主要尺寸 |
|||||||||||||||||||||||||||||||||||||||
|
1—内六角螺钉;2—垫圈;3—平垫片;4—动环;5—波纹管组件 表5 mm |
|||||||||||||||||||||||||||||||||||||||
|
公称直径 |
D1 |
D3 (max) |
D4 (min) |
L1 (max) |
L11 |
n |
d |
Dm |
L3 |
||||||||||||||||||||||||||||||
|
30 |
30 |
47 |
49 |
68 |
9 |
8 |
4.5 |
40 |
此 尺 寸 不 作 规 定 , 各 制 造 厂 可 根 据 有 关 资 料 选 取 |
||||||||||||||||||||||||||||||
|
35 |
35 |
51 |
53 |
70 |
9 |
8 |
4.5 |
44 |
|||||||||||||||||||||||||||||||
|
40 |
40 |
62 |
65 |
91 |
12 |
6 |
6.5 |
52 |
|||||||||||||||||||||||||||||||
|
45 |
45 |
67 |
70 |
96 |
12 |
6 |
6.5 |
56 |
|||||||||||||||||||||||||||||||
|
50 |
50 |
72 |
75 |
96 |
12 |
6 |
6.5 |
62 |
|||||||||||||||||||||||||||||||
|
55 |
55 |
78 |
83 |
101 |
12 |
6 |
6.5 |
67 |
|||||||||||||||||||||||||||||||
|
60 |
60 |
83 |
88 |
101 |
12 |
6 |
6.5 |
72 |
|||||||||||||||||||||||||||||||
|
65 |
65 |
88 |
93 |
101 |
12 |
6 |
6.5 |
76 |
|||||||||||||||||||||||||||||||
|
70 |
70 |
97 |
102 |
106 |
12 |
6 |
6.5 |
84 |
|||||||||||||||||||||||||||||||
|
75 |
75 |
99 |
104 |
106 |
12 |
6 |
6.5 |
88 |
|||||||||||||||||||||||||||||||
|
80 |
80 |
104 |
109 |
106 |
12 |
6 |
6.5 |
91 |
|||||||||||||||||||||||||||||||
|
85 |
85 |
109 |
114 |
106 |
12 |
6 |
6.5 |
97 |
|||||||||||||||||||||||||||||||
|
90 |
90 |
115 |
120 |
106 |
12 |
6 |
6.5 |
103 |
|||||||||||||||||||||||||||||||
|
95 |
95 |
121 |
126 |
106 |
12 |
8 |
6.5 |
110 |
|||||||||||||||||||||||||||||||
|
100 |
100 |
124 |
129 |
106 |
12 |
8 |
6.5 |
113 |
|||||||||||||||||||||||||||||||
|
J113型波纹管机械密封主要尺寸 |
|||||||||||||||||||||||||||||||||||||||
|
1—内六角螺钉;2—垫圈;3—紧定螺钉;4—定位环;5—填料密封圈;6—波纹管组件;7—静环;8—静环密封圈 表6 mm |
|||||||||||||||||||||||||||||||||||||||
|
公称直径 |
D1 |
D3 (max) |
D4 (min) |
D6 |
D7 |
L1 (max) |
L3 |
L4 |
L5 |
||||||||||||||||||||||||||||||
|
20 |
20 |
36 |
38 |
29 |
35 |
58 |
此 尺 寸 不 作 规 定 , 各 制 造 厂 可 根 据 有 关 资 料 选 取 |
2 |
5 |
||||||||||||||||||||||||||||||
|
22 |
22 |
38 |
40 |
31 |
37 |
58 |
2 |
5 |
|||||||||||||||||||||||||||||||
|
24 |
24 |
40 |
42 |
33 |
39 |
58 |
2 |
5 |
|||||||||||||||||||||||||||||||
|
25 |
25 |
42 |
44 |
34 |
40 |
58 |
2 |
5 |
|||||||||||||||||||||||||||||||
|
28 |
28 |
45 |
47 |
37 |
43 |
58 |
2 |
5 |
|||||||||||||||||||||||||||||||
|
30 |
30 |
47 |
49 |
39 |
45 |
58 |
2 |
5 |
|||||||||||||||||||||||||||||||
|
32 |
32 |
49 |
51 |
42 |
48 |
58 |
2 |
5 |
|||||||||||||||||||||||||||||||
|
33 |
33 |
50 |
53 |
42 |
48 |
58 |
2 |
5 |
|||||||||||||||||||||||||||||||
|
35 |
35 |
52 |
55 |
44 |
50 |
58 |
2 |
5 |
|||||||||||||||||||||||||||||||
|
38 |
38 |
56 |
60 |
49 |
56 |
70 |
2 |
6 |
|||||||||||||||||||||||||||||||
|
40 |
40 |
59 |
63 |
51 |
58 |
70 |
2 |
6 |
|||||||||||||||||||||||||||||||
|
43 |
43 |
62 |
66 |
54 |
61 |
70 |
2 |
6 |
|||||||||||||||||||||||||||||||
|
45 |
45 |
64 |
68 |
56 |
63 |
70 |
2 |
6 |
|||||||||||||||||||||||||||||||
|
48 |
48 |
67 |
71 |
59 |
66 |
70 |
2 |
6 |
|||||||||||||||||||||||||||||||
|
50 |
50 |
71 |
75 |
62 |
70 |
70 |
2.5 |
6 |
|||||||||||||||||||||||||||||||
|
53 |
53 |
74 |
78 |
65 |
73 |
75 |
2.5 |
6 |
|||||||||||||||||||||||||||||||
|
55 |
55 |
77 |
81 |
67 |
75 |
75 |
2.5 |
6 |
|||||||||||||||||||||||||||||||
|
58 |
58 |
80 |
85 |
70 |
78 |
75 |
2.5 |
6 |
|||||||||||||||||||||||||||||||
|
60 |
60 |
83 |
88 |
72 |
80 |
75 |
2.5 |
6 |
|||||||||||||||||||||||||||||||
|
63 |
63 |
85 |
90 |
75 |
83 |
80 |
2.5 |
6 |
|||||||||||||||||||||||||||||||
|
65 |
65 |
88 |
93 |
77 |
85 |
80 |
2.5 |
6 |
|||||||||||||||||||||||||||||||
|
68 |
68 |
90 |
95 |
81 |
90 |
80 |
2.5 |
7 |
|||||||||||||||||||||||||||||||
|
70 |
70 |
94 |
99 |
83 |
92 |
80 |
2.5 |
7 |
|||||||||||||||||||||||||||||||
|
75 |
75 |
99 |
104 |
88 |
97 |
80 |
2.5 |
7 |
|||||||||||||||||||||||||||||||
|
80 |
80 |
104 |
109 |
95 |
105 |
80 |
3 |
7 |
|||||||||||||||||||||||||||||||
|
85 |
85 |
109 |
114 |
100 |
110 |
80 |
3 |
7 |
|||||||||||||||||||||||||||||||
|
90 |
90 |
115 |
119 |
105 |
115 |
85 |
3 |
7 |
|||||||||||||||||||||||||||||||
|
95 |
95 |
120 |
125 |
110 |
120 |
85 |
3 |
7 |
|||||||||||||||||||||||||||||||
|
100 |
100 |
124 |
129 |
115 |
125 |
85 |
3 |
7 |
|||||||||||||||||||||||||||||||
|
105 |
105 |
133 |
138 |
120 |
131 |
85 |
3 |
7 |
|||||||||||||||||||||||||||||||
|
110 |
110 |
138 |
143 |
125 |
136 |
85 |
3 |
7 |
|||||||||||||||||||||||||||||||
|
115 |
115 |
143 |
148 |
130 |
141 |
85 |
3 |
7 |
|||||||||||||||||||||||||||||||
|
120 |
120 |
148 |
153 |
135 |
146 |
85 |
3 |
7 |
|||||||||||||||||||||||||||||||
|
J114型波纹管机械密封主要尺寸 |
|||||||||||||||||||||||||||||||||||||||
|
1—内六角螺钉;2—垫圈;3—紧定螺钉;4—定位环;5—角形圈;6—动环;7—波纹管组件;8—平垫片 表7 mm |
|||||||||||||||||||||||||||||||||||||||
|
公称直径 |
D1 |
D3 (max) |
D4 (min) |
D13 |
L1 (max) |
L3 |
|||||||||||||||||||||||||||||||||
|
30 |
30 |
53 |
55 |
65 |
82 |
此 尺 寸 不 作 规 定 , 各 制 造 厂 可 根 据 有 关 资 料 选 取 |
|||||||||||||||||||||||||||||||||
|
35 |
35 |
58 |
60 |
70 |
82 |
||||||||||||||||||||||||||||||||||
|
40 |
40 |
63 |
65 |
75 |
84 |
||||||||||||||||||||||||||||||||||
|
45 |
45 |
68 |
70 |
80 |
85 |
||||||||||||||||||||||||||||||||||
|
50 |
50 |
73 |
75 |
85 |
85 |
||||||||||||||||||||||||||||||||||
|
55 |
55 |
78 |
80 |
90 |
85 |
||||||||||||||||||||||||||||||||||
|
60 |
60 |
83 |
85 |
95 |
90 |
||||||||||||||||||||||||||||||||||
|
65 |
65 |
93 |
95 |
106 |
90 |
||||||||||||||||||||||||||||||||||
|
70 |
70 |
98 |
100 |
110 |
90 |
||||||||||||||||||||||||||||||||||
|
75 |
75 |
103 |
105 |
115 |
92 |
||||||||||||||||||||||||||||||||||
|
80 |
80 |
108 |
110 |
120 |
92 |
||||||||||||||||||||||||||||||||||
|
85 |
85 |
113 |
115 |
125 |
92 |
||||||||||||||||||||||||||||||||||
|
90 |
90 |
118 |
120 |
130 |
94 |
||||||||||||||||||||||||||||||||||
|
95 |
95 |
123 |
125 |
135 |
94 |
||||||||||||||||||||||||||||||||||
|
100 |
100 |
128 |
130 |
140 |
94 |
||||||||||||||||||||||||||||||||||
|
J115型波纹管机械密封主要尺寸 |
|||||||||||||||||||||||||||||||||||||||
|
1—内六角螺钉;2—垫圈;3—紧定螺钉;4—定位环;5—填料密封圈;6—波纹管组件;7—静环;8—静环密封圈 表8 mm |
|||||||||||||||||||||||||||||||||||||||
|
公称直径 |
D1 |
D3 (max) |
D4 (min) |
D6 |
D7 |
L1 (max) |
L3 |
L4 |
L5 |
||||||||||||||||||||||||||||||
|
20 |
20 |
42 |
44 |
34 |
40 |
58 |
此 尺 寸 不 作 规 定 , 各 制 造 厂 可 根 据 有 关 资 料 选 取 |
2 |
5 |
||||||||||||||||||||||||||||||
|
22 |
22 |
44 |
46 |
37 |
43 |
58 |
2 |
5 |
|||||||||||||||||||||||||||||||
|
24 |
24 |
46 |
48 |
37 |
43 |
58 |
2 |
5 |
|||||||||||||||||||||||||||||||
|
25 |
25 |
47 |
49 |
39 |
45 |
58 |
2 |
5 |
|||||||||||||||||||||||||||||||
|
28 |
28 |
50 |
52 |
42 |
48 |
58 |
2 |
5 |
|||||||||||||||||||||||||||||||
|
30 |
30 |
52 |
54 |
44 |
50 |
58 |
2 |
5 |
|||||||||||||||||||||||||||||||
|
32 |
32 |
54 |
58 |
49 |
56 |
61 |
2 |
6 |
|||||||||||||||||||||||||||||||
|
33 |
33 |
55 |
59 |
49 |
56 |
61 |
2 |
6 |
|||||||||||||||||||||||||||||||
|
35 |
35 |
57 |
61 |
51 |
58 |
61 |
2 |
6 |
|||||||||||||||||||||||||||||||
|
38 |
38 |
60 |
64 |
54 |
61 |
61 |
2 |
6 |
|||||||||||||||||||||||||||||||
|
40 |
40 |
66 |
70 |
56 |
63 |
62 |
2 |
6 |
|||||||||||||||||||||||||||||||
|
43 |
43 |
69 |
73 |
59 |
66 |
62 |
2 |
6 |
|||||||||||||||||||||||||||||||
|
45 |
45 |
71 |
75 |
62 |
70 |
63 |
3 |
6 |
|||||||||||||||||||||||||||||||
|
48 |
48 |
74 |
78 |
65 |
73 |
63 |
3 |
6 |
|||||||||||||||||||||||||||||||
|
50 |
50 |
76 |
80 |
67 |
75 |
63 |
3 |
6 |
|||||||||||||||||||||||||||||||
|
53 |
53 |
79 |
83 |
70 |
78 |
63 |
3 |
6 |
|||||||||||||||||||||||||||||||
|
55 |
55 |
81 |
86 |
72 |
80 |
63 |
3 |
6 |
|||||||||||||||||||||||||||||||
|
58 |
58 |
85 |
90 |
75 |
83 |
68 |
3 |
6 |
|||||||||||||||||||||||||||||||
|
60 |
60 |
87 |
92 |
77 |
85 |
68 |
3 |
6 |
|||||||||||||||||||||||||||||||
|
63 |
63 |
90 |
95 |
81 |
90 |
71 |
3 |
7 |
|||||||||||||||||||||||||||||||
|
65 |
65 |
92 |
97 |
83 |
92 |
71 |
3 |
7 |
|||||||||||||||||||||||||||||||
|
68 |
68 |
95 |
100 |
88 |
97 |
71 |
3 |
7 |
|||||||||||||||||||||||||||||||
|
70 |
70 |
97 |
102 |
88 |
97 |
71 |
3 |
7 |
|||||||||||||||||||||||||||||||
|
75 |
75 |
102 |
107 |
95 |
105 |
71 |
3 |
7 |
|||||||||||||||||||||||||||||||
|
80 |
80 |
107 |
112 |
100 |
110 |
71 |
3 |
7 |
|||||||||||||||||||||||||||||||
|
85 |
85 |
112 |
117 |
105 |
115 |
71 |
3 |
7 |
|||||||||||||||||||||||||||||||
|
90 |
90 |
117 |
122 |
110 |
120 |
71 |
3 |
7 |
|||||||||||||||||||||||||||||||
|
95 |
95 |
122 |
127 |
115 |
125 |
71 |
3 |
7 |
|||||||||||||||||||||||||||||||
|
100 |
100 |
127 |
132 |
122.2 |
134.3 |
74 |
3 |
9 |
|||||||||||||||||||||||||||||||
|
J123型波纹管机械密封主要尺寸 |
|||||||||||||||||||||||||||||||||||||||
|
1—防扭套;2—紧定螺钉;3—O形圈;4—波纹管组件;5—静环;6—静环密封圈 表9 mm |
|||||||||||||||||||||||||||||||||||||||
|
公称直径 |
D1 |
D3 (max) |
D4 (min) |
D6 |
D7 |
L1 (max) |
L3 |
L4 |
L5 |
||||||||||||||||||||||||||||||
|
30 |
30 |
53 |
55 |
40 |
50 |
63 |
此 尺 寸 不 作 规 定 , 各 制 造 厂 可 根 据 有 关 资 料 选 取 |
2 |
5 |
||||||||||||||||||||||||||||||
|
35 |
35 |
58 |
60 |
45 |
55 |
63 |
2 |
5 |
|||||||||||||||||||||||||||||||
|
40 |
40 |
63 |
65 |
50 |
60 |
66 |
2 |
6 |
|||||||||||||||||||||||||||||||
|
45 |
45 |
68 |
70 |
55 |
65 |
72 |
2 |
6 |
|||||||||||||||||||||||||||||||
|
50 |
50 |
73 |
75 |
60 |
70 |
76 |
2.5 |
6 |
|||||||||||||||||||||||||||||||
|
55 |
55 |
78 |
80 |
65 |
75 |
78 |
2.5 |
6 |
|||||||||||||||||||||||||||||||
|
60 |
60 |
83 |
85 |
70 |
80 |
78 |
2.5 |
6 |
|||||||||||||||||||||||||||||||
|
65 |
65 |
93 |
95 |
78 |
90 |
86 |
2.5 |
6 |
|||||||||||||||||||||||||||||||
|
70 |
70 |
98 |
100 |
83 |
95 |
88 |
2.5 |
7 |
|||||||||||||||||||||||||||||||
|
75 |
75 |
103 |
105 |
88 |
100 |
88 |
2.5 |
7 |
|||||||||||||||||||||||||||||||
|
80 |
80 |
108 |
110 |
93 |
105 |
95 |
3 |
7 |
|||||||||||||||||||||||||||||||
|
85 |
85 |
113 |
115 |
98 |
110 |
95 |
3 |
7 |
|||||||||||||||||||||||||||||||
|
90 |
90 |
118 |
120 |
103 |
115 |
96 |
3 |
7 |
|||||||||||||||||||||||||||||||
|
95 |
95 |
123 |
125 |
108 |
120 |
96 |
3 |
7 |
|||||||||||||||||||||||||||||||
|
100 |
100 |
128 |
130 |
113 |
125 |
96 |
3 |
7 |
|||||||||||||||||||||||||||||||
|
|||||||||||||||||||||||||||||||||||||||







