|
泵用机械密封(JB/T 1472—1994) |
||||||||||||||||||||||||||||||||||||||||||||||||||||||
|
表1 密封适用范围及材料 |
||||||||||||||||||||||||||||||||||||||||||||||||||||||
|
密 封 适 用 范 围 |
名称 |
型号 |
压力 /MPa |
温度 /℃ |
转速 /r·min-1 |
轴径 /mm |
介质 |
|||||||||||||||||||||||||||||||||||||||||||||||
|
内装式 单端面 |
单 弹 簧 |
非平衡型并圈弹簧传动 |
103 |
0~0.8 |
-20~80 |
≤3000 |
16~120 |
汽油、煤油、柴油、蜡油、原油、重油、润滑油、丙酮、苯、酚、吡啶、醚、稀硝酸、浓硝酸、脂酸、尿素、碱液、海水、水等 |
||||||||||||||||||||||||||||||||||||||||||||||
|
平衡型并圈弹簧传动 |
B103 |
0.6~3,0.3~3① |
||||||||||||||||||||||||||||||||||||||||||||||||||||
|
非平衡型套传动 |
104 |
0~0.8 |
||||||||||||||||||||||||||||||||||||||||||||||||||||
|
平衡型套传动 |
B104 |
0.6~3,0.3~3① |
||||||||||||||||||||||||||||||||||||||||||||||||||||
|
多 弹 簧 |
非平衡型螺钉传动 |
105 |
0~0.8 |
35~120 |
||||||||||||||||||||||||||||||||||||||||||||||||||
|
平衡型螺钉传动 |
B105 |
0.6~3,0.3~3① |
||||||||||||||||||||||||||||||||||||||||||||||||||||
|
外装式单端面单弹簧非平衡型拨叉传动 |
114 |
0~0.2 |
0~60 |
≤3600 |
16~100 |
腐蚀性介质,如浓及稀硫酸、40%以下硝酸、30%以下盐酸、磷酸、碱等 |
||||||||||||||||||||||||||||||||||||||||||||||||
|
密 封 材 料 |
摩擦副材料 |
辅助密封圈材料 |
||||||||||||||||||||||||||||||||||||||||||||||||||||
|
材料 |
代号 |
材料 |
代号 |
材料 |
代号 |
材料 |
代号 |
材料 |
形状 |
代号 |
||||||||||||||||||||||||||||||||||||||||||||
|
浸酚醛碳石墨 |
B1 |
浸锑碳石墨 |
A3 |
钨钴硬质合金 |
U |
锡磷或锡锌青铜 |
N |
丁腈橡胶 |
O形 |
P |
||||||||||||||||||||||||||||||||||||||||||||
|
热压酚醛碳石墨 |
B2 |
氧化铝陶瓷 |
V |
钢结硬质合金 |
L |
硅铁 |
R1 |
氟橡胶 |
O形 |
V |
||||||||||||||||||||||||||||||||||||||||||||
|
浸呋喃碳石墨 |
B3 |
金属陶瓷 |
X |
不锈钢喷涂非金属粉末 |
J1 |
耐磨铸铁 |
R2 |
硅橡胶 |
O形 |
S |
||||||||||||||||||||||||||||||||||||||||||||
|
浸环氧碳石墨 |
B4 |
氮化硅 |
Q |
不锈钢喷焊金属粉末 |
J2 |
整体不锈钢 |
F |
乙丙橡胶 |
O形 |
E |
||||||||||||||||||||||||||||||||||||||||||||
|
浸铜碳石墨 |
A1 |
碳化硅 |
O |
填充聚四氟乙烯 |
Y |
不锈钢堆焊硬质合金 |
I |
聚四氟乙烯 |
V形 |
T |
||||||||||||||||||||||||||||||||||||||||||||
|
浸巴氏合金碳石墨 |
A2 |
工程塑料 |
Z |
|
|
|
|
|
|
|
||||||||||||||||||||||||||||||||||||||||||||
|
① 对黏度较大、润滑性好的介质取0.6~3;对黏度较小、润滑性差的介质取0.3~3。
密封型号标记 标记方法:
标记示例: a.内装式单端面单弹簧非平衡型并圈弹簧传动的泵用机械密封,旋转环为钨钴硬质合金,静止环为浸酚醛石墨,密封圈为丁腈-40橡胶圈,轴(或轴套)外径40mm。标记为 103UB1P-40 b.内装式单端面多弹簧平衡型螺钉传动的泵用机械密封,旋转环为氧化铝陶瓷,静止环为浸呋喃石墨,密封圈为聚四氟乙烯V形圈,轴(或轴套)外径50mm,载荷系数K=0.80。标记为 B105VB3T-50/80 |
||||||||||||||||||||||||||||||||||||||||||||||||||||||
|
表2 载荷系数 |
||||||||||||||||||||||||||||||||||||||||||||||||||||||
|
载荷系数K/% |
85 |
80 |
75 |
70 |
60 |
|||||||||||||||||||||||||||||||||||||||||||||||||
|
代 号 |
85 |
80 |
75 |
70 |
60 |
|||||||||||||||||||||||||||||||||||||||||||||||||
|
密封主要技术要求 1)密封端面的要求 a.平面度误差不大于0.0009mm。 b.硬质材料表面粗糙度Ra值为0.2μm,软质材料表面粗糙度Ra值为0.4μm 2)静止环和旋转环与辅助密封圈接触部位的表面粗糙度Ra值为3.2μm,外圆或内孔尺寸公差为h8或H8 3)弹簧应符合ZB J22 004的规定。选用弹簧旋向时,应注意轴的旋向,应使弹簧愈旋愈紧 4)性能要求 a.泄漏量:轴(或轴套)外径小于等于50mm,泄漏量小于等于3mL/h;外径大于50mm,泄漏量小于等于5mL/h b.磨损量:以清水介质试验,运转100h,任一密封环磨损量均不大于0.02mm c.使用期:在合理选型、正确安装使用的情况下,使用期一般为一年 5)安装与使用要求 安装机械密封部位的轴的轴向窜动量不大于0.3mm,其他安装使用要求按表机械密封技术条件的规定 |
||||||||||||||||||||||||||||||||||||||||||||||||||||||
|
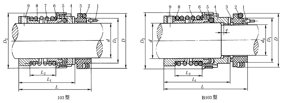
表3 103型和B103型机械密封主要尺寸 |
||||||||||||||||||||||||||||||||||||||||||||||||||||||
|
1—防转销;2,5—辅助密封圈;3—静止环;4—旋转环;6—推环;7—弹簧;8—弹簧座;9—紧定螺钉 mm |
||||||||||||||||||||||||||||||||||||||||||||||||||||||
|
规格 |
103型和B103型 |
103型 |
B103型 |
|||||||||||||||||||||||||||||||||||||||||||||||||||
|
d |
D2 |
D1 |
D |
L |
L1 |
L2 |
d0 |
L |
L1 |
L2 |
e |
|||||||||||||||||||||||||||||||||||||||||||
|
16 |
16 |
33 |
25 |
33 |
56 |
40 |
12 |
11 |
64 |
48 |
12 |
2 |
||||||||||||||||||||||||||||||||||||||||||
|
18 |
18 |
35 |
28 |
36 |
60 |
44 |
16 |
13 |
68 |
52 |
16 |
|||||||||||||||||||||||||||||||||||||||||||
|
20 |
20 |
37 |
30 |
40 |
63 |
44 |
16 |
15 |
71 |
52 |
16 |
|||||||||||||||||||||||||||||||||||||||||||
|
22 |
22 |
39 |
32 |
42 |
67 |
48 |
20 |
17 |
75 |
56 |
20 |
|||||||||||||||||||||||||||||||||||||||||||
|
25 |
25 |
42 |
35 |
45 |
67 |
48 |
20 |
20 |
75 |
56 |
20 |
|||||||||||||||||||||||||||||||||||||||||||
|
28 |
28 |
45 |
38 |
48 |
69 |
50 |
22 |
22 |
77 |
58 |
22 |
|||||||||||||||||||||||||||||||||||||||||||
|
30 |
30 |
52 |
40 |
50 |
75 |
56 |
22 |
25 |
84 |
65 |
22 |
3 |
||||||||||||||||||||||||||||||||||||||||||
|
35 |
35 |
57 |
45 |
55 |
79 |
60 |
26 |
28 |
89 |
70 |
26 |
|||||||||||||||||||||||||||||||||||||||||||
|
40 |
40 |
62 |
50 |
60 |
83 |
64 |
30 |
34 |
93 |
74 |
30 |
|||||||||||||||||||||||||||||||||||||||||||
|
45 |
45 |
67 |
55 |
65 |
90 |
71 |
36 |
38 |
100 |
81 |
36 |
|||||||||||||||||||||||||||||||||||||||||||
|
50 |
50 |
72 |
60 |
70 |
94 |
75 |
40 |
44 |
104 |
83 |
40 |
|||||||||||||||||||||||||||||||||||||||||||
|
55 |
55 |
77 |
65 |
75 |
96 |
77 |
42 |
48 |
106 |
87 |
42 |
|||||||||||||||||||||||||||||||||||||||||||
|
60 |
60 |
82 |
70 |
80 |
96 |
77 |
42 |
52 |
106 |
87 |
42 |
|||||||||||||||||||||||||||||||||||||||||||
|
65 |
65 |
92 |
80 |
90 |
111 |
89 |
50 |
58 |
118 |
96 |
50 |
|||||||||||||||||||||||||||||||||||||||||||
|
70 |
70 |
97 |
85 |
97 |
116 |
91 |
52 |
62 |
126 |
101 |
52 |
|||||||||||||||||||||||||||||||||||||||||||
|
75 |
75 |
102 |
90 |
102 |
116 |
91 |
52 |
66 |
126 |
101 |
52 |
|||||||||||||||||||||||||||||||||||||||||||
|
80 |
80 |
107 |
95 |
107 |
123 |
98 |
59 |
72 |
133 |
108 |
59 |
|||||||||||||||||||||||||||||||||||||||||||
|
85 |
85 |
112 |
100 |
112 |
125 |
100 |
59 |
76 |
135 |
110 |
5 9 |
|||||||||||||||||||||||||||||||||||||||||||
|
90 |
90 |
117 |
105 |
117 |
126 |
101 |
60 |
82 |
136 |
111 |
6 0 |
|||||||||||||||||||||||||||||||||||||||||||
|
95 |
95 |
122 |
110 |
122 |
126 |
101 |
60 |
85 |
136 |
111 |
6 0 |
|||||||||||||||||||||||||||||||||||||||||||
|
100 |
100 |
127 |
115 |
127 |
126 |
101 |
60 |
90 |
136 |
111 |
60 |
|||||||||||||||||||||||||||||||||||||||||||
|
110 |
110 |
141 |
130 |
142 |
153 |
126 |
80 |
100 |
165 |
138 |
80 |
|||||||||||||||||||||||||||||||||||||||||||
|
120 |
120 |
151 |
140 |
152 |
153 |
126 |
80 |
110 |
165 |
138 |
80 |
|||||||||||||||||||||||||||||||||||||||||||
|
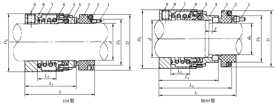
表4 104型和B104型机械密封主要尺寸 |
||||||||||||||||||||||||||||||||||||||||||||||||||||||
|
1—防转销;2,5—密封圈;3—静止环;4—旋转环;6—推环;7—弹簧;8—弹簧座;9—紧定螺钉 mm |
||||||||||||||||||||||||||||||||||||||||||||||||||||||
|
规格 |
104型和B104型 |
104型 |
B104型 |
|||||||||||||||||||||||||||||||||||||||||||||||||||
|
d |
D |
D1 |
D2 |
L |
L1 |
L2 |
d0 |
L |
L1 |
L2 |
L3 |
e |
||||||||||||||||||||||||||||||||||||||||||
|
16 |
16 |
33 |
25 |
33 |
53 |
37 |
8 |
11 |
61 |
45 |
8 |
57 |
2 |
|||||||||||||||||||||||||||||||||||||||||
|
18 |
18 |
36 |
28 |
35 |
58 |
40 |
11 |
13 |
64 |
48 |
11 |
60 |
||||||||||||||||||||||||||||||||||||||||||
|
20 |
20 |
40 |
30 |
37 |
59 |
40 |
11 |
15 |
67 |
48 |
11 |
62 |
||||||||||||||||||||||||||||||||||||||||||
|
22 |
22 |
42 |
32 |
39 |
62 |
43 |
14 |
17 |
70 |
51 |
14 |
65 |
||||||||||||||||||||||||||||||||||||||||||
|
25 |
25 |
45 |
35 |
42 |
62 |
43 |
14 |
20 |
70 |
51 |
14 |
65 |
||||||||||||||||||||||||||||||||||||||||||
|
2 |
28 |
48 |
38 |
45 |
63 |
44 |
15 |
22 |
71 |
52 |
15 |
66 |
||||||||||||||||||||||||||||||||||||||||||
|
30 |
30 |
50 |
40 |
52 |
68 |
49 |
15 |
25 |
77 |
58 |
15 |
72 |
3 |
|||||||||||||||||||||||||||||||||||||||||
|
35 |
35 |
55 |
45 |
57 |
70 |
51 |
17 |
28 |
80 |
61 |
17 |
75 |
||||||||||||||||||||||||||||||||||||||||||
|
40 |
40 |
60 |
50 |
62 |
73 |
54 |
20 |
34 |
83 |
64 |
20 |
78 |
||||||||||||||||||||||||||||||||||||||||||
|
45 |
45 |
65 |
55 |
67 |
79 |
60 |
25 |
38 |
89 |
70 |
25 |
84 |
||||||||||||||||||||||||||||||||||||||||||
|
50 |
50 |
70 |
60 |
72 |
82 |
63 |
28 |
44 |
92 |
73 |
28 |
87 |
||||||||||||||||||||||||||||||||||||||||||
|
55 |
55 |
75 |
65 |
77 |
84 |
65 |
30 |
48 |
94 |
75 |
30 |
89 |
||||||||||||||||||||||||||||||||||||||||||
|
60 |
60 |
80 |
70 |
82 |
84 |
65 |
30 |
52 |
94 |
75 |
30 |
89 |
||||||||||||||||||||||||||||||||||||||||||
|
65 |
65 |
90 |
80 |
92 |
96 |
74 |
35 |
58 |
108 |
81 |
35 |
98 |
||||||||||||||||||||||||||||||||||||||||||
|
70 |
70 |
97 |
85 |
97 |
101 |
76 |
37 |
62 |
111 |
86 |
37 |
105 |
||||||||||||||||||||||||||||||||||||||||||
|
75 |
75 |
102 |
90 |
102 |
101 |
76 |
37 |
66 |
111 |
86 |
37 |
105 |
||||||||||||||||||||||||||||||||||||||||||
|
80 |
80 |
107 |
95 |
107 |
106 |
81 |
42 |
72 |
116 |
91 |
42 |
110 |
||||||||||||||||||||||||||||||||||||||||||
|
85 |
85 |
112 |
100 |
112 |
107 |
82 |
42 |
76 |
117 |
92 |
42 |
111 |
||||||||||||||||||||||||||||||||||||||||||
|
90 |
90 |
117 |
105 |
117 |
108 |
83 |
43 |
82 |
118 |
93 |
43 |
112 |
||||||||||||||||||||||||||||||||||||||||||
|
95 |
95 |
122 |
110 |
122 |
108 |
83 |
43 |
85 |
118 |
93 |
43 |
112 |
||||||||||||||||||||||||||||||||||||||||||
|
100 |
100 |
127 |
115 |
127 |
108 |
83 |
43 |
90 |
118 |
93 |
43 |
112 |
||||||||||||||||||||||||||||||||||||||||||
|
110 |
110 |
142 |
130 |
141 |
132 |
105 |
60 |
100 |
144 |
117 |
60 |
138 |
||||||||||||||||||||||||||||||||||||||||||
|
120 |
120 |
152 |
140 |
151 |
132 |
105 |
60 |
110 |
144 |
117 |
60 |
138 |
||||||||||||||||||||||||||||||||||||||||||
|
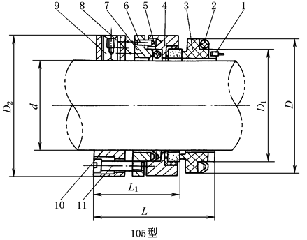
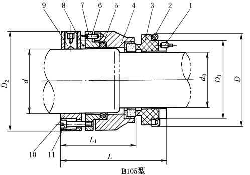
表5 105型、B105型和114型机械密封主要尺寸 mm |
||||||||||||||||||||||||||||||||||||||||||||||||||||||
|
|
|
|||||||||||||||||||||||||||||||||||||||||||||||||||||
|
1—防转销;2,5—辅助密封圈;3—静止环;4—旋转环;6—传动销;7—推环;8—弹簧;9—紧定螺钉; 10—弹簧座;11—传动螺钉 |
||||||||||||||||||||||||||||||||||||||||||||||||||||||
|
1—密封垫;2—静止环;3—旋转环;4—密封圈;5—推环;6—弹簧;7—弹簧座;8—紧定螺钉 mm |
||||||||||||||||||||||||||||||||||||||||||||||||||||||
|
规格 |
105型和B105型 |
105型 |
B105型 |
|||||||||||||||||||||||||||||||||||||||||||||||||||
|
d |
D |
D1 |
D2 |
L1 |
L |
d0 |
L1 |
L |
||||||||||||||||||||||||||||||||||||||||||||||
|
35 |
35 |
55 |
45 |
57 |
38 |
57 |
28 |
48 |
67 |
|||||||||||||||||||||||||||||||||||||||||||||
|
40 |
40 |
60 |
50 |
62 |
38 |
57 |
34 |
48 |
67 |
|||||||||||||||||||||||||||||||||||||||||||||
|
45 |
45 |
65 |
55 |
67 |
39 |
58 |
38 |
49 |
68 |
|||||||||||||||||||||||||||||||||||||||||||||
|
50 |
50 |
70 |
60 |
72 |
39 |
58 |
44 |
49 |
68 |
|||||||||||||||||||||||||||||||||||||||||||||
|
55 |
55 |
75 |
65 |
77 |
39 |
58 |
48 |
49 |
68 |
|||||||||||||||||||||||||||||||||||||||||||||
|
60 |
60 |
80 |
70 |
82 |
39 |
58 |
52 |
49 |
68 |
|||||||||||||||||||||||||||||||||||||||||||||
|
65 |
65 |
90 |
80 |
91 |
44 |
66 |
58 |
51 |
75 |
|||||||||||||||||||||||||||||||||||||||||||||
|
70 |
70 |
97 |
85 |
96 |
44 |
69 |
62 |
54 |
79 |
|||||||||||||||||||||||||||||||||||||||||||||
|
75 |
75 |
102 |
90 |
101 |
44 |
69 |
66 |
54 |
79 |
|||||||||||||||||||||||||||||||||||||||||||||
|
80 |
80 |
107 |
95 |
106 |
44 |
69 |
72 |
54 |
79 |
|||||||||||||||||||||||||||||||||||||||||||||
|
85 |
85 |
112 |
100 |
111 |
46 |
71 |
76 |
56 |
81 |
|||||||||||||||||||||||||||||||||||||||||||||
|
90 |
90 |
117 |
105 |
116 |
46 |
71 |
82 |
56 |
81 |
|||||||||||||||||||||||||||||||||||||||||||||
|
95 |
95 |
122 |
110 |
121 |
46 |
71 |
85 |
56 |
81 |
|||||||||||||||||||||||||||||||||||||||||||||
|
100 |
100 |
127 |
115 |
126 |
46 |
71 |
90 |
56 |
81 |
|||||||||||||||||||||||||||||||||||||||||||||
|
110 |
110 |
142 |
130 |
140 |
51 |
78 |
100 |
73 |
100 |
|||||||||||||||||||||||||||||||||||||||||||||
|
120 |
120 |
152 |
140 |
150 |
51 |
78 |
110 |
73 |
100 |
|||||||||||||||||||||||||||||||||||||||||||||
|
规格 |
114型 |
|||||||||||||||||||||||||||||||||||||||||||||||||||||
|
d |
D1 |
D2 |
L |
L1 |
L2 |
|||||||||||||||||||||||||||||||||||||||||||||||||
|
16 |
16 |
34 |
40 |
55 |
44 |
11 |
||||||||||||||||||||||||||||||||||||||||||||||||
|
18 |
18 |
36 |
42 |
55 |
44 |
11 |
||||||||||||||||||||||||||||||||||||||||||||||||
|
20 |
20 |
38 |
44 |
58 |
47 |
14 |
||||||||||||||||||||||||||||||||||||||||||||||||
|
22 |
22 |
40 |
46 |
60 |
49 |
16 |
||||||||||||||||||||||||||||||||||||||||||||||||
|
25 |
25 |
43 |
49 |
64 |
53 |
20 |
||||||||||||||||||||||||||||||||||||||||||||||||
|
28 |
28 |
46 |
52 |
64 |
53 |
20 |
||||||||||||||||||||||||||||||||||||||||||||||||
|
30 |
30 |
53 |
64 |
73 |
62 |
22 |
||||||||||||||||||||||||||||||||||||||||||||||||
|
35 |
35 |
58 |
69 |
76 |
65 |
25 |
||||||||||||||||||||||||||||||||||||||||||||||||
|
40 |
40 |
63 |
74 |
81 |
70 |
30 |
||||||||||||||||||||||||||||||||||||||||||||||||
|
45 |
45 |
68 |
79 |
89 |
75 |
34 |
||||||||||||||||||||||||||||||||||||||||||||||||
|
50 |
50 |
73 |
84 |
89 |
75 |
34 |
||||||||||||||||||||||||||||||||||||||||||||||||
|
55 |
55 |
78 |
89 |
89 |
75 |
34 |
||||||||||||||||||||||||||||||||||||||||||||||||
|
60 |
60 |
83 |
94 |
97 |
83 |
42 |
||||||||||||||||||||||||||||||||||||||||||||||||
|
65 |
65 |
92 |
103 |
100 |
86 |
42 |
||||||||||||||||||||||||||||||||||||||||||||||||
|
70 |
70 |
97 |
110 |
100 |
86 |
42 |
||||||||||||||||||||||||||||||||||||||||||||||||






