|
釜用机械密封润滑和冷却系统 |
||
|
类型 |
系 统 简 图 |
特点及应用 |
|
自 动 压 力 平 衡 系 统 |
|
图a为立式搅拌轴上双端面密封自动压力平衡系统。加压方式是设置一个储液罐,罐顶有一个接口与搅拌釜顶部接口用管道连接,这样釜内压力直接加在储液罐内隔离液上,组成一个压力平衡系统。罐底隔离液出口与机械密封的隔离液入口用管道连接。因储液罐安装高度比机械密封安装高度高2m以上,所以隔离液利用自重流入密封腔内,并保证与釜内有必需的压力差,达到润滑机械密封的目的。为了防止隔离液中杂质进入密封腔,罐底隔离液出口管伸入罐内一定高度,使杂质沉积在罐底内。储液罐上装有液面计加液口、残液清理口、压力计口和管道控制阀门等。如果需要,在储液罐上装设液位开关,当密封失效时,罐内隔离液液位下降,达到最低液位时,液位开关发出信号报警 密封腔隔离液入口应设在比密封上端面略高的位置,因为隔离液中有时含有从釜内漏出的气体以及端面间液膜汽化的气体,这些积累的气体通过隔离液入口管道排至储液罐内,这样可以避免密封上端面处于干摩擦运转状态。密封腔上方应开设放空口,以便在向储液罐内加注隔离液时把气体排除干净,然后把放空口堵住 这种密封系统中的隔离液与釜内被密封介质相混合,所以在选择隔离液时需要注意,隔离液与介质的性质应互不影响 |
|
氮 气 瓶 加 压 密 封 系 统 |
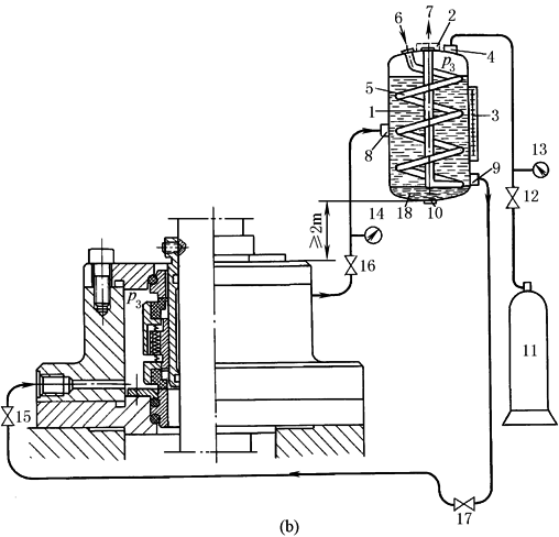
1—储液罐;2—加液口(1″);3—液位计;4—进气管接头(1/4″); 5—冷却盘管;6—冷却水进口;7—冷却水出口;8—隔离液进口(3/8″); 9—隔离液出口(3/8″);10—排污口;11—氮气瓶;12—减压阀;13—压力表; 14—温度计;15—进口阀;16—出口阀;17—排污旋塞;18—沉淀物 |
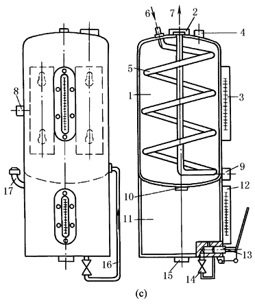
图b为氮气瓶加压密封系统,其压力源由氮气瓶供给,并利用热虹吸原理进行隔离液循环 储液罐1的压力源是氮气瓶11。密封腔压力控制在比釜内最高工作压力高0.1~0.2MPa,为了适应介质压力的变化,机械密封的下端面应采用与上端面相似的平衡型结构。这种装置是利用冷却盘管降温达到隔离液循环的。由于循环量较小,密封腔出口处的温度一般不应超过60℃ 氮气瓶加压装置设计和操作应注意下列事项: 1)储液罐容积约为5~15L 2)储液罐内的隔离液不得高于罐高的80%,以保证氮气所占的空间 3)调整减压阀12的压力,使密封腔的压力高于釜内压力0.1~0.2MPa 4)储液罐底部高出密封腔2m以上,有利于隔离液循环 5)管道和接头的内径要大些,并避免过量弯曲,以减小隔离液循环时的阻力 6)储液罐内的液面不得低于隔离液进口8,避免造成气隔使液流循环中断,并要经常检查、补充隔离液 7)补充隔离液时,应先停车,降压,然后再加隔离液。对于一般性介质(如无毒、无腐蚀、非易燃易爆),也可采用不停车加液的方法。但必须先关闭减压阀12、进口阀15和出口阀16,然后使储液罐卸压,进行加液。加到所需量后,将加液口 2 封严,接着依次缓慢打开减压阀、进口阀和出口阀。整个加液过程的时间要尽量缩短,不然,机械密封端面产生的摩擦热不能被带走,造成密封腔内隔离液温度升高,致使隔离液容积增加,这样会造成隔离液压力迅速上升,端面被打开或烧毁等不良后果 为方便加液过程,可将储液罐制成如图c 所示的结构。在储液罐下部增设一个常压的储液罐11和手动泵13,加液时,用手动泵13将常压的储液罐内的隔离液直接打入储液罐。这种方法可以在不停车、不卸压的情况下进行 |
|
氮 气 瓶 加 压 密 封 系 统 |
1—储液罐;2—加液口(1″);3—液位计;4—进气管接头(1/4″); 5—冷却盘管;6—冷却水进口;7—冷却水出口;8—隔离液进口(3/8″); 9—隔离液出口3/8(″);10—排污口;11—储液罐(常压);12—下液位计; 13—手动泵;14—安全阀;15—下排污口;16—输液管;17—带过滤器的加液口 |
|
|
油 泵 加 压 隔 离 液 循 环 系 统 |
1—隔离液储槽;2—齿轮泵;3—冷却器;4—压力表; 5—调节阀;6—温度表;7—磁性过滤器; 8—冷却液进口;9—冷却液出口;10—电动机 |
在高温或高压运转的高载荷密封装置中,需要采用强制循环隔离液对密封端面进行润滑和冷却,达到长期稳定运转的目的。图d所示为油泵加压隔离液循环系统,用于双端面机械密封。隔离液压力由齿轮泵2供给,利用泵送压力迫使隔离液在密封腔、冷却器3、磁性过滤器7、调节阀5、隔离液储槽1之间循环流动,使隔离液得到充分冷却并将管道中的锈渣和污物清除掉,冷却效果好。正常条件下,隔离液温度可以控制在60℃以下 调节调节阀5,控制密封腔的压力比釜内介质压力高0.2~0.5MPa。隔离液一般应用工业白油 |
|
自 身 压 力 增 压 系 统 |
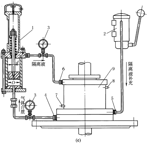
1—平衡罐;2—手动泵;3—压力表;4—釜内气体连通管; 5—隔离液补充口;6—隔离液进密封腔;7—夹套冷却水进口; 8—夹套冷却水出口;9—机械密封 |
搅拌釜用双端面机械密封自身压力增压系统,是将隔离液(润滑油或润滑介质)加到密封腔中,润滑密封端面,适用于釜内介质不能和隔离液相混合的场合 平衡罐1上部与密封腔用管道连接,下部用管道与釜内连通,使釜内的压力通过平衡活塞传递到密封腔。由于活塞上端的承压面积比活塞下端承压面积减少了一根活塞杆的横截面积,因此隔离液压力按两端承压面积反比例增加,从而保证了良好的密封条件。活塞用O形环与罐壁密封,且可沿轴向滑动。活塞既能传递压力,又能起到隔离液与釜内气体的隔离作用。设计活塞两端的承压面积之比时,应根据所要求的密封腔与釜内的压力差来计算,一般密封腔与釜内压力差在0.05~0.15MPa之间 在活塞杆上装上弹簧,调节好弹簧压缩量,使弹簧张力正好抵消活塞上O形环对罐壁的摩擦力,以减少压力差计算值与实际之间的误差(可用上、下两块压力表校准)。此外,活塞杆的升降还有指示平衡罐中液位的作用。当隔离液泄漏后需要补充时,用手动泵2加注 |
|
多 釜 合 用 隔 离 液 系 统 |
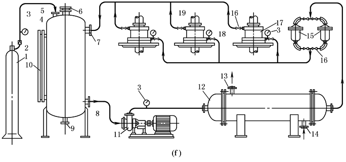
1—氮气瓶;2—减压阀;3—压力表;4—储液罐;5—氮气入口;6—加液口;7—回流液进口;8—回流液出口; 9—排污口;10—液位视镜;11—泵及电动机;12—冷却器;13—冷却水出口;14—冷却水进口; 15—过滤器;16—闸阀;17—机械密封;18—隔离液进口;19 —隔离液出口 图f 所示为多釜合用隔离液系统,主要设备包括氮气瓶1、储液罐4、泵及电动机11、冷却器12、过滤器15等。将氮气瓶中的氮气通入储液罐内,控制反应釜密封腔的隔离液压力;利用泵对隔离液进行强制循环、隔离液带走的密封热量经冷却器冷却,然后经两个可以相互切换的过滤器过滤,清洁的隔离液再进入密封腔内,润滑、冷却密封端面。这种系统适用于同一车间内很多反应釜密封条件相同或相近的双端面机械密封 隔离液系统的各部分压力应近似按下列要求进行设计:控制储液罐压力比反应釜压力低0.2MPa,经油泵加压后比储液罐高0.5MPa,即比反应釜压力高0.3MPa,冷却器和过滤器压力降约0.2MPa,则进入密封腔内的压力比釜内压力高0.1MPa,符合密封腔压力比反应釜工作压力高的要求 隔离液压力系统的设计和操作条件如下: 1)要求机械密封的工作压力、温度、介质条件必须是相近的,按统一的隔离液压力来计算各密封端面的比压,以适应操作过程中的压力变化 2)由于各台釜的升压、降压时间并不一致,因而要求恒定不变的隔离液压力能够适应这种压力变化。为此,双端面机械密封的上、下两个端面都应制成平衡型结构,避免釜压低时下端面比压过大,造成端面磨损和发热 3)密封腔内的隔离液压力是由氮气压力、泵送压力以及系统中辅助设备及管道的阻力降决定的,通常是通过调节氮气瓶出口处的减压阀2来控制密封所需压力 4)反应釜停车时仍应保持隔离液循环畅通,如须闭阀停止循环,系统中阻力降发生变化,隔离液压力须重新进行调整 5)并联的双过滤器交替使用,定期清除过滤器中的污物 |
|






