|
釜用机械密封 |
||
|
釜用机械密封与泵用机械密封的工作原理相同,但釜用机械密封有以下特点: 1)因搅拌釜很少有满釜操作,故釜用机械密封的被密封介质是气体,密封端面工作条件比较恶劣,往往处于干摩擦状态,端面磨损较大;由于气体渗透性强,对密封材料要求较高。为了对密封端面进行润滑和冷却,往往选择流体动压式双端面密封作为釜用密封,在两个密封端面之间通入润滑油或润滑良好的液体进行润滑、冷却。单端面密封仅用于压力比较低或不重要的场合。 2)搅拌轴比较长,且下端还有搅拌桨,所以轴的摆动和振动比较大,使动环和静环不能很好贴合,往往需要搅拌轴增设底轴承或中间轴承。为了减少轴的摆动和振动对密封的影响,靠近密封处增设轴承,还应考虑动环和静环有较好的浮动性。 3)由于搅拌轴尺寸大,密封零件重,且有搅拌支架的影响,机械密封的拆装和更换比较困难。为了拆装密封方便,一般在搅拌轴与传动轴之间装设短节式联轴器,需要拆卸密封时,先将联轴器中的短节拆除,保持一定尺寸的空当,再将密封拆除。 4)由于轴径大,在相同弹簧比压条件下弹簧压紧力大,机械密封装配和调节困难。为了保证装配质量,当前开发的釜用机械密封多数设计成卡盘式结构(或称集装式结构)。这种结构密封可以在密封制造厂或维修车间事先装配好,拿到现场装上即可,不需要熟练工人。 5)搅拌轴转速低,pv值(p为密封介质压力,v为密封端面平均线速度)低,对动环、静环材料选择比较容易。 |
||
|
釜用机械密封的类型 |
||
|
类型 |
结 构 图 |
特点及应用 |
|
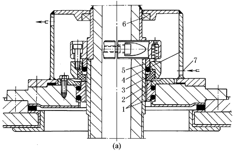
带 有 冷 却 外 壳 的 外 装 式 单 端 面 机 械 密 封 |
1—辅助密封圈;2—非补偿环(静环);3—补偿环(动环); 4—冷却外壳;5—轴套;6—密封圈;7—冷却液进口 |
图a为衬胶搅拌设备用的带有冷却外壳的外装式单端面机械密封。与釜内腐蚀性介质接触的密封零件是耐蚀性能很好石墨制成的动环3、陶瓷制成的静环2,以及弹性的辅助密封圈1,轴套5 表面喷涂陶瓷或衬橡胶或哈氏合金制造。考虑到轴径向摆动量较大,静环采用两个辅助密封圈支承,能够适应轴径向摆动量1mm。为了装配方便,密封采用夹紧结构固定 适用于真空和压力小于0.5MPa、搅拌轴转速比较低的场合。冷却介质的压力取决于大气侧密封圈6,一般不超过0.05~0.1MPa |
|
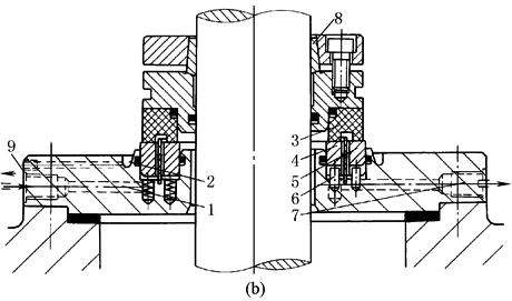
径 向 双 端 面 机 械 密 封 |
1—隔离液入口;2—漏液收集槽;3—动环; 4—内静环;5—外静环;6—导向片; 7—隔离液出口;8—锥形环;9—泄漏液出口 |
图b 为轴向尺寸很小的径向双端面机械密封。它不设密封腔外壳。隔离液由隔离液入口1进入,在导向片6 外侧向上流动,润滑内、外两个端面后再沿导向片6 内侧向下流动,并从隔离液出口7排出。内、外静环4、5 是补偿环,由硬质材料制造,分别由两组规格相同的小弹簧压向由石墨制成的非补偿环(动环3)。内、外端面上的比压可以通过调整各自端面宽度来达到。动环的旋转通过锥形环8 来实现。这种密封适用压力1.0MPa |
|
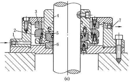
轴 向 尺 寸 小 的 双 端 面 机 械 密 封 |
1—隔离液入口;2—动环;3—静环;4—传动轴套; 5—动环;6—静环;7—隔离液出口 |
图c 为轴向尺寸小的双端面机械密封。它将下端面密封所属零件隐藏在上端面密封零件之内,因而增加了径向尺寸,缩小了轴向尺寸。由于这种密封的隔离液泄漏方向与离心力方向相反,故隔离液泄漏率比图b 低。该密封适用于轴向尺寸受到限制的场合 |
|
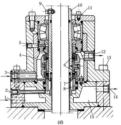
带 轴 承 和 冷 却 腔 的 流 体 动 压 式 釜 用 双 端 面 机 械 密 封 |
1—冷却水入口;2—接口;3—隔离液入口;4—防腐保护衬套; 5—排液口;6—补偿动环;7—衬套;8—静环; 9,13—螺钉;10—轴套;11—定位板;12—隔离液出口; 14—冷却水出口;15—冷却腔 |
图d 两个端面密封采用非平衡型结构,用于密封压力为5MPa 密封端面上开有流体动压循环槽,形成润滑油压力楔,提高润滑性能,减少摩擦;提高密封使用压力、速度极限和冷却效应 静环8 为非补偿环,采用弹性很大的两个密封圈支承,能很好适应搅拌轴的摆动和振动。上密封圈用压板压住,保证隔离液压力下降时,不会被釜内压力挤出 密封上部设有单独轴承腔。轴承采用油脂润滑。隔离液由上端面密封泄漏后经排液口5 排出,不会进到轴承腔内,影响轴承运转。因此,密封腔内可以采用包括水在内的介质作为隔离液,但一般采用油或甘油作为隔离液,隔离液压力应保持比釜内压力高约0.2~0.5MPa 从接口2 向密封的下部引入适当的溶解剂和软化剂,可以防止聚合物沉积在密封的下部区域。此外,还能检查存在于衬套7 内的磨损颗粒,并易于将磨损物和泄漏液排出 该密封为卡盘式(集装式)结构,整个密封装在轴套10 上。它可以在制造厂装配,并经检查合格后作为一个部件供货,非熟练工人也能安装。备用密封可以在检修车间检修并组装好,一旦需要更换密封时,在现场套在搅拌轴后拧紧螺钉9 和螺钉13 即可,可以缩短搅拌釜停车时间 |
|
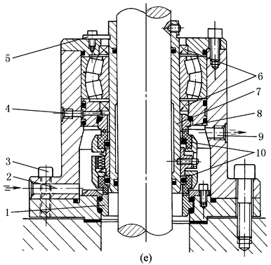
带 轴 承 流 体 动 压 式 釜 用 双 端 面 机 械 密 封 |
1—下静环;2—隔离液入口;3—螺钉;4—排液口; 5—定位板;6—油封;7—轴套;8—上静环; 9—隔离液出口;10—动环 |
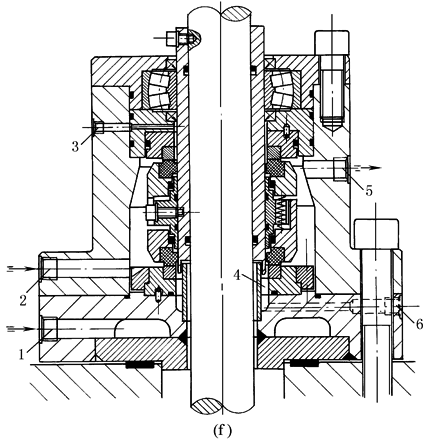
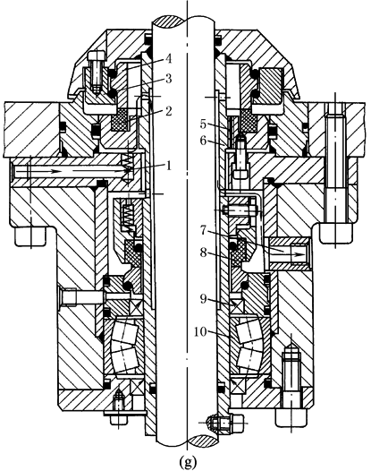
图e 为带轴承流体动压式釜用双端面机械密封,图f 为高压流体动压式釜用双端面机械密封,其腔内安装的机械密封结构与图d 基本相同,仅在密封耐压程度(高压时,密封壳体、密封环的强度更坚固)、使用温度范围(高温时,密封下部设冷却腔)和防腐蚀要求(要求防腐时,密封壳体内衬保护衬套)等方面的要求不同。图f 所示结构用于釜内介质压力25MPa、温度225℃;静环材料为硬质合金,动环材料为石墨 图e 和图f 所示结构均为卡盘式(集装式)结构,拆装方便 图g 为底伸式釜用流体动压式双端面机械密封。由于搅拌釜向大型化发展,搅拌轴从顶盖伸入的传动方式产生的问题,如轴的振动、摆动愈加突出,釜底伸入的搅拌轴传动便逐步得到了发展。因搅拌轴短,运转稳定,密封可靠;不需要在釜内增设中间轴承和底轴承;搅拌轴短,轴承受弯矩小,使计算轴径小,从而降低轴及密封制造成本。但是,底伸式搅拌也有以下缺点: (1)介质中可能含有固体颗粒沉积在釜底,当固体颗粒渗入机械密封端面时密封将遭到破坏 (2)当密封突然失效时,要防止釜内液体外流,检修人员能有足够时间处理 为了防止介质中颗粒进入密封端面,与轴套6 焊接为一体的密封罩3 为大蘑菇形,它和机械密封法兰形成一道迷宫密封。较大的颗粒在密封罩3 的离心力作用下被抛出。由非补偿动环4 与补偿静环2 构成的上端面密封为外流式密封,即泄漏液流和离心力的方向相同且隔离液压力高于釜内压力,隔离液由密封端面内侧向外侧泄漏,即便是介质含有微小颗粒也难以进入密封端面 因上端面密封的密封端面润滑和冷却很困难,所以采用一个内部循环机构5 进行。隔离液由隔离液入口1 进入密封腔内,通过轴套6 上的内部循环机构(相当于螺杆泵)5 加压输送到密封端面,润滑、冷却密封端面后,再由轴套上的小孔流出,经轴套与轴的间隙向下流动,再从轴套中部的小孔流出,润滑、冷却下密封端面后,由隔离液出口7流出 |
|
高 压 流 体 动 压 式 釜 用 双 端 面 机 械 密 封 |
1—冷却液入口(图中未表示出口);2—隔离液入口; 3—排液口;4—封液和泄漏液积存杯; 5—隔离液出口;6—排液口 |
|
|
底 伸 式 釜 用 流 体 动 压 式 双 端 面 机 械 密 封 |
1—隔离液入口;2—静环;3—密封罩;4—动环; 5—内部循环机构;6—轴套;7—隔离液出口; 8—动环;9—油封;10—轴承 |
为了防止密封失效时釜内液体外流,所以底伸式釜用密封不推荐使用单端面密封,因为这种密封只有一道密封;推荐采用双端面密封,因为这种密封有两道密封,两道密封同时损坏的概率很小,如果有一道密封损坏,另一道密封仍能保证密封釜内液体,并有足够的时间进行处理,但这种密封结构只能在釜内液体排净即空釜条件下检修,这已经不是重要的问题。如果必须在釜内液体不排净、不卸压,即釜内有液体的条件下进行检修,可以采用特殊结构的密封,但比较复杂 |







