|
接触式机械密封工作原理 |
|
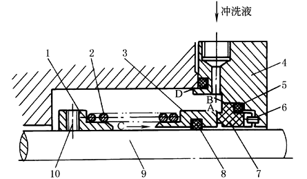
机械密封也称端面密封。用于泵、釜、压缩机、液压传动和其他类似设备的旋转轴的密封。 机械密封是由一对或数对动环与静环组成的平面摩擦副构成的密封装置。下图所示为其结构原理,它是靠弹性构件(如弹簧或波纹管,或波纹管及弹簧组合构件)和密封介质的压力在旋转的动环和静环的接触表面(端面)上产生适当的压紧力,使这两个端面紧密贴合,端面间维持一层极薄的液体膜而达到密封的目的。这层液体膜具有流体动压力与静压力,起着润滑和平衡压力的作用。 当轴 9 旋转时,通过紧定螺钉 10 和弹簧 2 带动动环 3 旋转。防转销 6 固定在静止的压盖 4 上,防止静环 7转动。当密封端面磨损时,动环 3 连同动环密封圈 8 在弹簧 2 的推动下,沿轴向产生微小移动,达到一定的补偿能力,所以称补偿环。静环不具有补偿能力,所以称非补偿环。通过不同的结构设计,补偿环可由动环承担,也可由静环承担。由补偿环、弹性元件和副密封等构成的组件称补偿环组件。 机械密封一般有四个密封部位(通道),如下图中所示的A~D。A 处为端面密封,又称主密封;B 处为静环 7 与压盖 4 端面之间的密封;C 处为动环 3 与轴(或轴套) 9 配合面之间的密封,因能随补偿环轴向移动并起密封作用,所以又称副密封;D 处为压盖与泵壳端面之间的密封。B~D三处是静止密封,一般不易泄漏;A 处为端面相对旋转密封,只要设计合理即可达到减少泄漏的目的。
机械密封结构原理 1—弹簧座;2—弹簧;3—旋转环(动环);4—压盖; 5—静环密封圈;6—防转销;7—静止环(静环); 8—动环密封圈;9—轴(或轴套);10—紧定螺钉 A~D—密封部位(通道) |

