|
其他元件 mm |
|||||||||||||||||||||||||
|
单向阀(JB/ZQ 4595—2006) |
|
型号 |
公称 通径 DN |
公称 压力 /MPa |
d |
D |
H1 |
H |
A |
质量 /kg |
生产厂: 太原矿山机器润滑液压设备有限公司,江苏省南通市南方润滑液压设备有限公司,启东市南方润滑液压设备有限公司,启东江海液压润滑设备厂,启东润滑设备有限公司,四川川润股份有限公司,常州华立液压润滑设备有限公司,上海润滑设备厂,上海利安润滑设备制造有限公司,太原宝太润液设备有限公司,启东中冶润滑设备有限公司 |
||||||||||||||
|
DXF-10 |
10 |
0.8 (E) |
G3/8 |
40 |
30 |
100 |
35 |
1.2 |
|||||||||||||||||
|
DXF-15 |
15 |
G1/2 |
40 |
40 |
110 |
32 |
1.2 |
||||||||||||||||||
|
DXF-25 |
25 |
G1 |
50 |
45 |
115 |
40 |
1.8 |
||||||||||||||||||
|
DXF-32 |
32 |
G11/4 |
55 |
55 |
120 |
45 |
2.0 |
||||||||||||||||||
|
DXF-40 |
40 |
G11/2 |
60 |
55 |
120 |
52 |
2.2 |
||||||||||||||||||
|
DXF-50 |
50 |
G2 |
75 |
65 |
128 |
68 |
3.4 |
||||||||||||||||||
|
1.用于稀油润滑系统,防止油流反向流动的单向阀 2.适用于黏度22~460mm2/s的润滑油 |
|||||||||||||||||||||||||
|
安全阀(0.8MPa)(JB/ZQ 4594—2006) |
|
型号 |
公称 通径 DN |
公称 压力 /MPa |
工作 压力 /MPa |
d |
H |
H1 |
A |
法兰尺寸 |
D3 |
质量 /kg |
|||||||||||||
|
D |
D1 |
D2 |
B |
n |
|||||||||||||||||||||
|
/mm |
|||||||||||||||||||||||||
|
AF-E 20/0.5 |
20 |
0.8 (E) |
0.2~0.5 |
G3/4 |
140 |
56 |
35.5 |
— |
— |
— |
— |
— |
45 |
1.2 |
|||||||||||
|
AF-E 20/0.8 |
0.4~0.8 |
||||||||||||||||||||||||
|
AF-E 25/0.5 |
25 |
0.2~0.5 |
G1 |
165 |
70 |
40 |
— |
— |
— |
— |
— |
50 |
1.6 |
||||||||||||
|
AF-E 25/0.8 |
0.4~0.8 |
||||||||||||||||||||||||
|
AF-E 32/0.5 |
32 |
0.2~0.5 |
G11/4 |
194 |
88 |
48 |
— |
— |
— |
— |
— |
60 |
2.8 |
||||||||||||
|
AF-E 32/0.8 |
0.4~0.8 |
||||||||||||||||||||||||
|
AF-E 40/0.5 |
40 |
0.2~0.5 |
G11/2 |
194 |
88 |
52 |
— |
— |
— |
— |
— |
60 |
2.8 |
||||||||||||
|
AF-E 40/0.8 |
0.4~0.8 |
||||||||||||||||||||||||
|
AF-E 50/0.8 |
50 |
0.2~0.8 |
— |
420 |
110 |
110 |
165 |
125 |
100 |
18 |
4 |
— |
15 |
||||||||||||
|
AF-E 80/0.8 |
80 |
— |
485 |
125 |
125 |
200 |
160 |
135 |
18 |
8 |
— |
23 |
|||||||||||||
|
AF-E 100/0.8 |
100 |
— |
540 |
155 |
135 |
220 |
180 |
155 |
18 |
8 |
— |
31 |
|||||||||||||
|
1.用于稀油集中润滑系统,使系统压力不超过调定值 2.适用于黏度22~460mm2/s的润滑油 3.法兰连接尺寸按JB/T 81—1994《凸面板式平焊钢制管法兰》(PN=1.6MPa)的规定 4.标记示例: 公称压力0.8MPa,公称通径40mm,调节压力0.2~0.5MPa的安全阀,标记为 AF-E 40/0.5 安全阀 JB/ZQ 4594—2006 |
|||||||||||||||||||||||||
|
GZQ型给油指示器(JB/ZQ 4597—2006) |
|
型号 |
公称 通径 DN |
公称 压力 /MPa |
d |
D |
B |
A1 |
A |
H |
H1 |
D1 |
质量 /kg |
生产厂(安全阀同此): 太原矿山机器润滑液压设备有限公司,启东市南方润滑液压设备有限公司,南通市南方润滑液压设备有限公司,启东江海液压润滑设备厂,启东润滑设备有限公司,四川川润股份有限公司,常州市华立液压润滑设备有限公司,上海润滑设备厂,上海利安润滑设备制造有限公司,太原宝太润液设备有限公司,启东中冶润滑设备有限公司 |
|||||||||||
|
GZQ-10 |
10 |
0.63 (D) |
G3/8 |
65 |
58 |
35 |
32 |
142 |
45 |
32 |
1.4 |
||||||||||||||
|
GZQ-15 |
15 |
G1/2 |
65 |
58 |
35 |
32 |
142 |
45 |
32 |
1.4 |
|||||||||||||||
|
GZQ-20 |
20 |
G3/4 |
50 |
60 |
28 |
38 |
150 |
60 |
41 |
2.2 |
|||||||||||||||
|
GZQ-25 |
25 |
G1 |
50 |
60 |
28 |
38 |
150 |
60 |
41 |
2.2 |
|||||||||||||||
|
1.用于稀油润滑系统,观察向润滑点给油情况和调节油量的给油指示器 2.适用于黏度22~460mm2/s的润滑油;与管路连接时尽量垂直安装 3.标记示例:公称通径15的给油指示器,标记为 GZQ-15 给油指示器 JB/ZQ 4597—2006 |
|||||||||||||||||||||||||
|
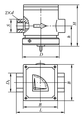
YXQ型油流信号器(JB/ZQ 4596—1997) |
|
型号 |
公称 通径 DN |
公称 压力 /MPa |
连接 螺纹 d |
L |
D |
H ≈ |
h ≈ |
B |
D1 |
S |
干簧管 触点容量 |
质量 /kg |
|||||||||||
|
电压 /V |
电流 /A |
功率 /W |
|||||||||||||||||||||||
|
YXQ-10 |
10 |
0.4 (C) |
G3/8 |
100 |
70 |
75 |
37 |
65 |
32 |
27 |
12 |
0.05 |
0.5 |
0.7 |
|||||||||||
|
YXQ-15 |
15 |
G1/2 |
100 |
70 |
75 |
37 |
65 |
32 |
27 |
0.7 |
|||||||||||||||
|
YXQ-20 |
20 |
G3/4 |
120 |
82 |
82 |
40 |
78 |
48 |
40 |
0.9 |
|||||||||||||||
|
YXQ-25 |
25 |
G1 |
120 |
82 |
82 |
40 |
78 |
48 |
40 |
0.9 |
|||||||||||||||
|
YXQ-40 |
40 |
G11/2 |
150 |
110 |
106 |
53 |
106 |
68 |
60 |
1.1 |
|||||||||||||||
|
YXQ-50 |
50 |
G2 |
150 |
110 |
106 |
53 |
106 |
68 |
75 |
1.2 |
|||||||||||||||
|
1.用于稀油润滑系统,通过指针观察油流情况,通过干簧管发出管路中油量不足或断油信号 2.适用于黏度22~460mm2/s的润滑油 3.标记示例:公称通径10mm的油流信号器,标记为 YXQ-10 信号器 JB/ZQ 4596—1997 |
|||||||||||||||||||||||||
|
生产厂有启东江海液压润滑设备厂,启东润滑设备有限公司,四川川润股份有限公司,常州华立液压润滑设备有限公司。启东中冶润滑设备有限公司 |
|||||||||||||||||||||||||
|
JBQ型积水报警器(JB/ZQ 4708—2006) |
|
参数名称 |
型号 |
|
|||||||||||||||||||||
|
JBQ-80型 |
JBQ-90型 |
||||||||||||||||||||||||
|
浮子中心与油水分界面偏差 |
/mm |
±2 |
±1.5 |
||||||||||||||||||||||
|
发信号报警的水面高度误差 |
±2 |
±1.5 |
|||||||||||||||||||||||
|
控制积水高度 |
80 |
90 |
|||||||||||||||||||||||
|
排水阀开启的水面高度误差 |
±2 |
±2 |
|||||||||||||||||||||||
|
适用油箱容积/m3 |
>10 |
≤10 |
|||||||||||||||||||||||
|
电气参数 |
50Hz,220V,50V·A |
||||||||||||||||||||||||
|
介质黏度/mm2·s-1 |
22~460 |
||||||||||||||||||||||||
|
适用温度/℃ |
0~80 |
||||||||||||||||||||||||
|
1.适用于稀油集中润滑系统,用来控制油箱中积水量,并能及时显示报警;使用时通过截止阀与油箱底部连通 2.积水报警器与手动阀门配套时,报警器可发出报警信号,实现人工排水。积水报警器与排污电磁阀、电气控制箱等配套时,可以实现油箱积水的自动控制,自动放水和关闭排污电磁阀 3.油箱中的油液切忌发生乳化,因一旦发生乳化本产品将不能正常工作,故应选用抗乳化性强的油品 4.标记方法:控制积水高度80mm的积水报警器,标记为 JBQ-80 型积水报警器 JB/ZQ 4708—2006 |
|||||||||||||||||||||||||
|
生产厂:太原矿山机器润滑液压设备有限公司,启东市南方润滑液压设备有限公司,南通市南方润滑液压设备有限公司,常州市华立液压润滑设备有限公司,太原市兴科机电研究所,太原宝太润液设备有限公司 |
|||||||||||||||||||||||||
|
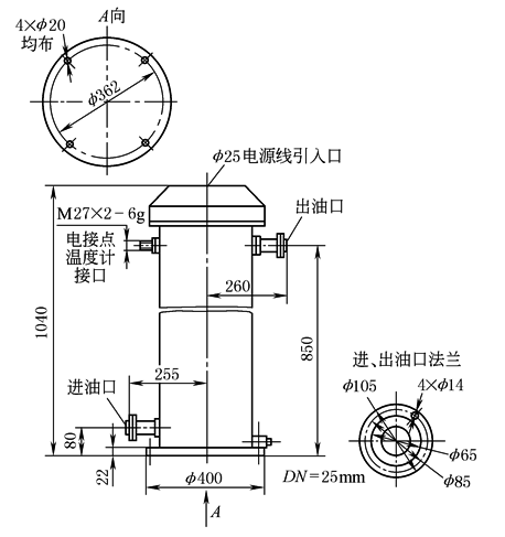
DRQ型电加热器(JB/ZQ 4599—2006) |
|
型号 |
总功率 /kW |
公称流量 /L·min-1 |
公称压力 /MPa |
温升 /℃ |
|||||||||||||||||||
|
DRQ-28 |
28 |
25 |
0.25(G) |
≥35 |
|||||||||||||||||||||
|
型号 |
最高允 许温度 /℃ |
电加热器 型号 |
电压 /V |
质量 /kg |
|||||||||||||||||||||
|
DRQ-28 |
90 |
GYY2-220/4 |
220 |
90 |
|||||||||||||||||||||
|
1.进、出口法兰按JB/T 81—1994《凸面板式平焊钢制管法兰》(PN=1MPa,DN=25)的规定 2.用于稀油集中润滑系统。当脏油进入净油机之前将其加热以减低油的黏度 3.被加热油品的闪点应不低于120℃ 4.标记示例:功率28kW的电加热器,标记为 DRQ-28 加热器 JB/ZQ 4599—2006 |
|||||||||||||||||||||||||
|
生产厂:太原矿山机器润滑液压设备有限公司,南通市南方润滑液压设备有限公司,启东市南方润滑液压设备有限公司,常州市华立液压润滑设备有限公司 |
|||||||||||||||||||||||||







