|
人字齿轮油泵装置(JB/ZQ 4588—2006) |
||||||||||||||||||||||||||||||||||
|
|
|
|||||||||||||||||||||||||||||||||
|
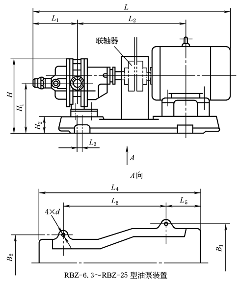
本装置的吸入高度均为750mm;容积效率均不小于90% 适用于黏度为32~460mm2/s 的润滑油或液压油 标记示例:公称流量125L/min的人字齿轮油泵装置,标记为 RBZ-125 齿轮油泵装置 JB/ZQ 4588—2006 |
||||||||||||||||||||||||||||||||||
|
|
||||||||||||||||||||||||||||||||||
|
表1 RBZ型人字齿轮油泵装置性能与尺寸 |
||||||||||||||||||||||||||||||||||
|
型号 |
公称 压力 /MPa |
电动机 |
公称流量 /L·min-1 |
质量 /kg |
尺寸/mm |
|||||||||||||||||||||||||||||
|
型号 |
功率 /kW |
L |
B |
H |
L1 |
L2 |
L3 |
L4 |
L5 |
L6 |
B1 |
B2 |
H1 |
H2 |
d |
|||||||||||||||||||
|
RBZ-6.3 |
0.63 (D)* |
Y90S-6 |
0.75 |
6.3 |
77.2 |
580 |
95 |
170 |
120 |
304 |
4 |
489 |
130 |
300 |
250 |
180 |
115 |
14 |
11 |
|||||||||||||||
|
RBZ-10 |
10 |
|||||||||||||||||||||||||||||||||
|
RBZ-16 |
Y90L-6 |
1.1 |
16 |
62.5 |
660 |
110 |
212 |
140 |
354 |
560 |
350 |
140 |
18 |
12 |
||||||||||||||||||||
|
RBZ-25 |
25 |
|||||||||||||||||||||||||||||||||
|
RBZ-40 |
Y112M-6 |
2.2 |
40 |
95.5 |
695 |
182 |
372 |
82 |
420 |
13 |
635 |
155 |
400 |
305 |
210 |
162 |
27 |
14 |
||||||||||||||||
|
RBZ-63 |
63 |
|||||||||||||||||||||||||||||||||
|
RBZ-100 |
Y132M1-6 |
5.5 |
100 |
118 |
832 |
208 |
425 |
86 |
488 |
18 |
770 |
200 |
470 |
350 |
230 |
180 |
||||||||||||||||||
|
RBZ-125 |
125 |
|||||||||||||||||||||||||||||||||
|
RBZ-160 |
Y132M2-6 |
7.5 |
160 |
128 |
985 |
256 |
496 |
113 |
595 |
20 |
860 |
277 |
575 |
400 |
250 |
212 |
30 |
|||||||||||||||||
|
RBZ-200 |
200 |
|||||||||||||||||||||||||||||||||
|
RBZ-250 |
Y160M-6 |
11 |
250 |
140 |
1134 |
340 |
590 |
140 |
694 |
1002 |
208 |
674 |
395 |
310 |
229 |
18 |
||||||||||||||||||
|
RBZ-315 |
Y160L-6 |
315 |
206 |
1152 |
591 |
150 |
707 |
7 |
1075 |
270 |
700 |
420 |
||||||||||||||||||||||
|
RBZ-400 |
Y180L6 |
15 |
400 |
285 |
1246 |
660 |
162 |
745 |
5 |
1060 |
210 |
740 |
425 |
273 |
35 |
|||||||||||||||||||
|
RBZ-500 |
500 |
|||||||||||||||||||||||||||||||||
|
RBZ-630 |
Y200L1-6 |
18.5 |
630 |
342 |
1298 |
360 |
741 |
180 |
789 |
18 |
1180 |
250 |
780 |
500 |
350 |
285 |
||||||||||||||||||
|
RBZ-800 |
Y200L2-6 |
22 |
800 |
388 |
1344 |
380 |
198 |
826 |
6 |
1150 |
215 |
820 |
390 |
290 |
40 |
|||||||||||||||||||
|
RBZ-1000 |
Y225M-6 |
30 |
1000 |
542 |
1510 |
785 |
214 |
896 |
1305 |
300 |
890 |
295 |
||||||||||||||||||||||
|
RBZ-1250 |
Y250M-6 |
37 |
1250 |
634 |
1595 |
410 |
805 |
934 |
4 |
1375 |
930 |
323 |
22 |
|||||||||||||||||||||
|
RBZ-1600 |
Y280S-8 |
45 |
1600 |
1215 |
1884 |
450 |
883 |
272 |
1101.5 |
10 |
1642 |
346 |
1092 |
660 |
540 |
333 |
45 |
|||||||||||||||||
|
RBZ-2000 |
Y315S-8 |
55 |
2000 |
1368 |
2025 |
480 |
918 |
1152 |
4 |
1666 |
355 |
1148 |
730 |
570 |
368 |
|||||||||||||||||||
|
型号 |
d2 |
d3 |
型号 |
d1 d2 |
||||||||||||||||||||||||||||||
|
RBZ-6.3 |
G1/2 |
G1/2 |
RBZ-40 |
RBZ-160 |
RBZ-400 |
RBZ-1000 |
法兰连接时,吸油口和排油口尺寸见表2 |
|||||||||||||||||||||||||||
|
RBZ-10 |
RBZ-63 |
RBZ-200 |
RBZ-500 |
RBZ-1250 |
||||||||||||||||||||||||||||||
|
RBZ-16 |
G3/4 |
G3/4 |
RBZ-100 |
RBZ-250 |
RBZ-630 |
RBZ-1600 |
法兰连接时,吸油口和排油口尺寸见表2 |
|||||||||||||||||||||||||||
|
RBZ-25 |
RBZ-125 |
RBZ-315 |
RBZ-800 |
RBZ-2000 |
||||||||||||||||||||||||||||||
|
注:1.(D)*为压力等级代号。 2.生产厂有太原矿山机器润滑液压设备有限公司,太原宝太润液设备有限公司,温州市龙湾润滑液压设备厂,四川川润股份有限公司,启东中冶润滑设备有限公司。 |
||||||||||||||||||||||||||||||||||
|
表2 RBZ(RCB)40~RBZ(RCB)2000型人字齿轮油泵装置(人字齿轮油泵)吸油口、排油口尺寸 mm |
||||||||||||||||||||||||||||||||||
|
名称 |
尺寸 |
油泵型号 |
||||||||||||||||||||||||||||||||
|
RCB-40 RCB-63 |
RCB-100 RCB-125 |
RCB-160 RCB-200 |
RCB-250 RCB-315 |
RCB-400 RCB-500 RCB-630 |
RCB-800 RCB-1000 |
RCB-1250 RCB-1600 |
RCB-2000 |
|||||||||||||||||||||||||||
|
泵装置型号 |
||||||||||||||||||||||||||||||||||
|
RBZ-40 RBZ-63 |
RBZ-100 RBZ-125 |
RBZ-160 RBZ-200 |
RBZ-250 RBZ-315 |
RBZ-400 RBZ-500 RBZ-630 |
RBZ-800 RBZ-1000 |
RBZ-1250 RBZ-1600 |
RBZ-2000 |
|||||||||||||||||||||||||||
|
排 油 口 |
DN |
32 |
50 |
65 |
80 |
100 |
125 |
150 |
200 |
|||||||||||||||||||||||||
|
D |
140 |
165 |
185 |
200 |
220 |
250 |
285 |
340 |
||||||||||||||||||||||||||
|
D1 |
100 |
125 |
145 |
160 |
180 |
210 |
240 |
295 |
||||||||||||||||||||||||||
|
D2 |
78 |
100 |
120 |
135 |
155 |
185 |
210 |
265 |
||||||||||||||||||||||||||
|
n |
4 |
4 |
4 |
4 |
8 |
8 |
8 |
8 |
||||||||||||||||||||||||||
|
d4 |
18 |
18 |
18 |
18 |
18 |
18 |
23 |
23 |
||||||||||||||||||||||||||
|
吸 油 口 |
DN |
40 |
65 |
80 |
100 |
125 |
150 |
200 |
250 |
|||||||||||||||||||||||||
|
D |
150 |
185 |
200 |
220 |
250 |
285 |
340 |
395 |
||||||||||||||||||||||||||
|
D1 |
110 |
145 |
160 |
180 |
210 |
240 |
295 |
350 |
||||||||||||||||||||||||||
|
D2 |
85 |
120 |
135 |
155 |
185 |
210 |
265 |
320 |
||||||||||||||||||||||||||
|
n |
4 |
4 |
4 |
8 |
8 |
8 |
8 |
12 |
||||||||||||||||||||||||||
|
d4 |
18 |
18 |
18 |
18 |
18 |
23 |
23 |
23 |
||||||||||||||||||||||||||
|
注:1.连接法兰按JB/T 81—1994凸面板式平焊钢制管法兰(PN=1MPa)的规定。 2.RCB为人字齿轮油泵;RBZ为人字齿轮油泵装置。 |
||||||||||||||||||||||||||||||||||



