|
法兰连接型式(GB/T 6070—1995) |
|
|
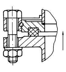
本标准适用于低、中、高真空设备的连接法兰 法兰密封结构为平法兰或法兰开槽用矩形或圆形断面密封。密封槽应开在迎着气流方向的法兰平面上如图1~图4中箭头所示 |
|
|
图1 固定法兰与固定法兰连接 |
图2 活套法兰与活套法兰连接 |
|
图3 固定法兰与活套法兰连接 |
图4 两活套法兰用钩形螺栓连接 |
|
法兰连接型式(GB/T 6070—1995) |
|
|
本标准适用于低、中、高真空设备的连接法兰 法兰密封结构为平法兰或法兰开槽用矩形或圆形断面密封。密封槽应开在迎着气流方向的法兰平面上如图1~图4中箭头所示 |
|
|
图1 固定法兰与固定法兰连接 |
图2 活套法兰与活套法兰连接 |
|
图3 固定法兰与活套法兰连接 |
图4 两活套法兰用钩形螺栓连接 |