|
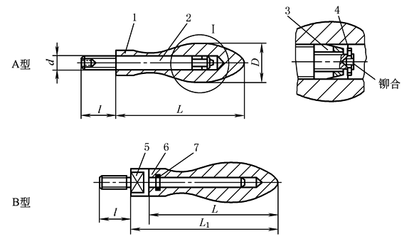
曲面转动手柄(JB/T 7270.6—1994) |
|||||||||||||||||||||||||||
|
(1)手柄 |
|||||||||||||||||||||||||||
|
|
曲面转动手柄及其零件的其他技术要求按JB/T 7277的规定 |
||||||||||||||||||||||||||
|
标记示例 A型,d=M8,L=63,35钢,喷砂镀铬曲面转动手柄,标记为:手柄 M8×63 JB/T 7270.6 B型,d=M8,L=63,35钢,喷砂镀铬曲面转动手柄,标记为:手柄 BM8×63 JB/T 7270.6 |
|||||||||||||||||||||||||||
|
表1 mm |
|||||||||||||||||||||||||||
|
主 要 尺 寸 |
件号 |
1,6 |
2,5 |
3 |
4 |
7 |
每套质量 /kg≈ |
||||||||||||||||||||
|
名称 |
手柄套A、B |
手柄杆A、B |
弹性套 |
平垫圈 |
钢丝挡圈 |
||||||||||||||||||||||
|
d |
L |
l |
L1 |
D |
标准号 |
— |
JB/T 7270.5 |
GB 97.1 |
GB 895.1 |
||||||||||||||||||
|
M6 |
50 |
12 |
— |
16 |
规格 |
50 |
M6 |
4 |
2 |
— |
0.041 |
||||||||||||||||
|
M8 |
63 |
14 |
71 |
20 |
63 |
M8 |
5 |
2.5 |
7 |
0.081 |
|||||||||||||||||
|
M10 |
80 |
16 |
90 |
25 |
80 |
M10 |
6 |
3 |
8 |
0.171 |
|||||||||||||||||
|
M12 |
100 |
18 |
112 |
32 |
100 |
M12 |
8 |
4 |
10 |
0.331 |
|||||||||||||||||
|
M16 |
112 |
20 |
126 |
36 |
112 |
M16 |
10 |
6 |
14 |
0.750 |
|||||||||||||||||
|
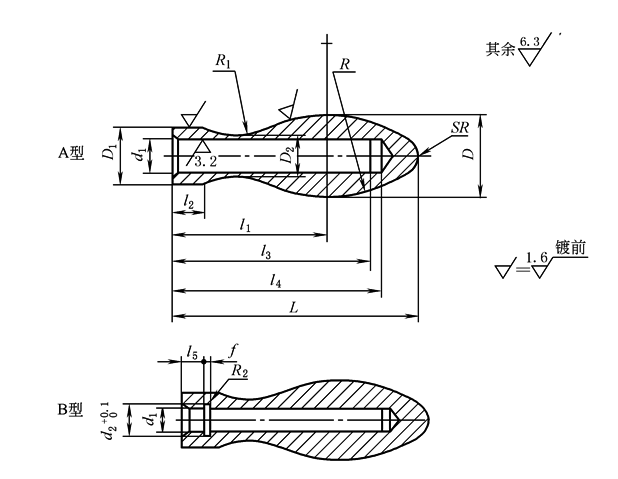
(2)手柄套(件1,6) |
|||||||||||||||||||||||||||
|
|
材料:35钢;Q235-A。 表面处理:喷砂镀铬(PS/D·Cr);镀铬抛光(D·L3Cr)。 |
||||||||||||||||||||||||||
|
表2 mm |
|||||||||||||||||||||||||||
|
L |
D |
D1 |
d1 |
d2 |
D2 |
l1 ≈ |
l2 |
l3 |
l4 |
l5 |
f |
R |
R1 |
R2 |
SR ≈ |
||||||||||||
|
基本尺寸 |
极限偏差H11 |
||||||||||||||||||||||||||
|
A |
B |
A |
B |
||||||||||||||||||||||||
|
50 |
16 |
11 |
6 |
— |
+0.075 0 |
— |
9 |
32 |
7 |
40 |
42 |
— |
31 |
21 |
— |
3 |
|||||||||||
|
63 |
20 |
14 |
8 |
7 |
+0.090 0 |
7.4 |
11 |
40 |
8 |
50 |
52 |
3 |
0.8 |
41 |
26 |
0.4 |
3.5 |
||||||||||
|
80 |
25 |
16 |
10 |
8 |
8.5 |
13 |
50 |
10 |
60 |
65 |
3.5 |
50 |
29 |
5 |
|||||||||||||
|
100 |
32 |
20 |
12 |
10 |
+0.110 0 |
+0.090 0 |
10.5 |
16 |
64 |
13 |
75 |
80 |
4.5 |
55 |
40 |
6 |
|||||||||||
|
112 |
36 |
22 |
16 |
14 |
+0.110 0 |
14.6 |
20 |
70 |
14 |
85 |
90 |
5.5 |
1 |
68 |
41 |
0.5 |
7 |
||||||||||


