|
工作原理 |
||||
|
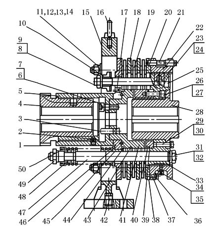
(1)QGZ-PD 型惯性制动器的工作原理(见图1) 电机的驱动转矩,经花键轴4 带动花键套5 和主动顶41 旋转,使主动顶与从动顶39 相互作用的凹凸螺旋面在产生相对角位移的同时产生相对轴向位移,压缩制动弹簧48,消除作用在内制动环18 和摩擦片19 之间的压紧力(即制动力),解除制动;同时,两凹凸螺旋面紧密贴合,传递转矩,实现联轴器的传动连接功能。 电机断电后,停止输出转矩,主动顶与从动顶之间的凹凸螺旋面的相互作用力消失,制动弹簧被压缩时储存的能量得以释放,迫使顶压盘1 及花键套5 复位,从而压紧内制动环和摩擦片,实现制动功能。 |
||||
|
|
1—顶压盘 2,17—油杯 3—圆锥销 4—花键轴 5—花键套 6,26,34—内六角螺钉 7,9,13,27,30,32,35,36—弹簧垫圈 8—六角薄螺母 10—调节螺母 11—支撑杆 12—螺母 14—平垫圈 15—支撑座 16—吊环螺钉 18—内制动环 19—摩擦片 20—多孔内制动环 21—止动销 22—外制动环 |
23—补偿块 24—补偿块弹簧 25—打开间隙拉杆 28—从动轴套 29,37—六角头螺栓 31—细牙六角薄螺母 33—从动盘 38—卡夹 39—从动顶 40,43—O形密封圈 41—主动顶 42—手动打开螺钉 44—防尘套 45—S6钢球 46—拉杆套 47—拉杆 48—制动弹簧 49—弹簧螺母 50—弹簧垫 |
||
|
图(1) QGZ-PD01T 型惯性制动器 |
||||
|
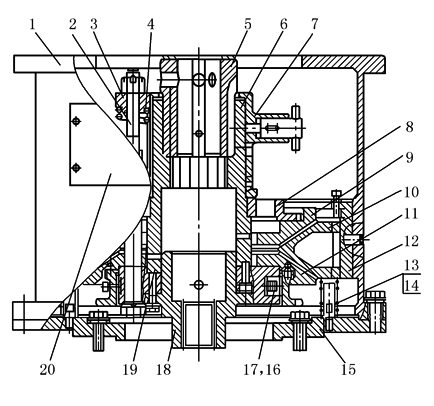
(2)QGZ- PC3TL 型惯性制动器的工作原理(见图2) 电机的驱动转矩,经主动花键轴5 带动主动花键套6 旋转,同时主动花键套6 上的主动顶与从动顶19 相互作用的凹凸螺旋面在产生相对角位移的同时产生相对轴向位移,从而带动上摩擦锥9 轴向位移,压缩制动弹簧4,与此同时支撑弹簧13 使摩擦锥环10 浮动,使上摩擦锥9、下摩擦锥11 分别与摩擦锥环10 脱离从而解除制动。同时,两凹凸螺旋面紧密贴合传递转矩,实现联轴器的传动功能;断电时,电机停止输出转矩,两凹凸螺旋面相互作用力消失,制动弹簧被压缩时储存的能量得以释放,迫使上摩擦锥复位,使上、下摩擦锥压紧摩擦锥环,实现制动。 |
||||
|
|
1—支撑筒 2—拉杆 3—弹簧垫 4—制动弹簧 5—主动花键轴 6—主动花键套 7—保开压筒 8—垫板 9—上摩擦锥 10—摩擦锥环 |
11—下摩擦锥 12—内齿圈 13—支撑弹簧 14—弹簧支撑 15—底板 16—补偿块 17—补偿块弹簧 18—从动联轴器 19—从动顶 20—门 |
||
|
图(2) QGZ-PC3TL 型惯性制动器 |
||||


