|
简介 |
|
|
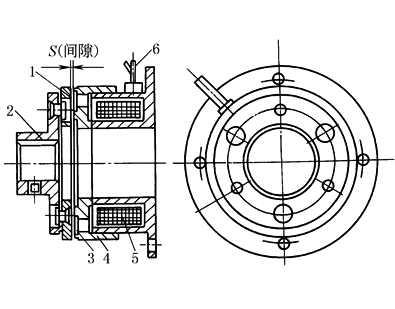
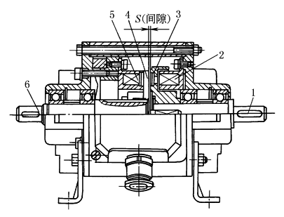
电磁制动器或电磁离合制动器的转矩是通过干摩擦面的摩擦产生,其电磁铁线圈由24V直流电控制。图(1)是制动器安装在轴上的一种典型结构,定子4安装在机架(图中未示出)上并固定之,轴与法兰轮毂2连接,相对于定子4只能转动,无轴向移动。当轴需要制动时,给定子线圈5通电,定子产生的磁力牵引衔铁盘1压向摩擦垫3(预应力弹簧张紧),完成轴的制动过程。当需要松闸时,定子断电,磁力消失,衔铁盘1在预应力弹簧的牵引下复位,完成松闸。这种制动器应常检查摩擦副的间隙S。制动器常用于包装机械、纺织机械、自动门等机械中。 图(2)为电磁离合制动器,它是由电磁离合器(右侧)和电磁制动器(左侧)组成。其输入轴1同电动机相连,使离合器转子3旋转;当离合器处于合的工作状态时,就可以通过被吸引的衔铁盘4带动输出轴6转动,此时,左侧制动器处于松闸状态。当制动器工作时,制动器定子5吸引衔铁盘4,使输出轴6制动,此时离合器处于离的工作状态。摩擦垫采用抗磨损无石棉的材料,衔铁盘的惯量很小,使装置有高的操作频率,能实现快速反应。可将三相异步电动机装在输入轴,或将减速器装在输出轴,实现模块式设计的多种传动型式。天津机床电器有限公司已有电磁制动器与电磁离合制动器的系列产品。本篇第“离合器”章第“电磁离合制动器产品”节中有其部分产品。 |
|
|
图(1)电磁制动器 1—衔铁盘;2—法兰轮毂;3—摩擦垫; 4—定子;5—线圈;6—电线 |
图(2)电磁离合制动器 1—输入轴;2—离合器定子;3—转子; 4—衔铁盘;5—制动器定子;6—输出轴 |


