|
锥盘式制动器结构及产品 |
|
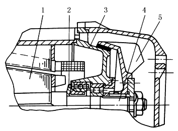
锥盘式是全盘式的变型,下图为应用于电动机的锥盘式制动器结构。当电动机启动时,产生一轴向磁拉力。推动锥形转子向右,并压缩弹簧2,使得带风扇叶片的内锥盘5与电机壳后端盖的外锥盘3脱开接触,于是松闸,电机运转。反之,紧闸,电机停止。
锥盘式制动器 1—电动机;2—弹簧;3—电动机尾盖外锥盘;4—电动机轴;5—电机风扇及内锥盘 |
|
锥盘式制动器结构及产品 |
|
锥盘式是全盘式的变型,下图为应用于电动机的锥盘式制动器结构。当电动机启动时,产生一轴向磁拉力。推动锥形转子向右,并压缩弹簧2,使得带风扇叶片的内锥盘5与电机壳后端盖的外锥盘3脱开接触,于是松闸,电机运转。反之,紧闸,电机停止。
锥盘式制动器 1—电动机;2—弹簧;3—电动机尾盖外锥盘;4—电动机轴;5—电机风扇及内锥盘 |